GM Service Manual Online
For 1990-2009 cars only

SMU - Revised Wheel Alignment Specifications

Subject:Revised Wheel Alignment Specifications

Models:1999-2000 Chevrolet and GMC C/K Pickup Models (Silverado and Sierra)



This bulletin is being revised to clarify the wheel alignment specifications. Please discard Corporate Bulletin Number 00-03-07-002 (Section 03 -- Suspension).


This bulletin is being issued to revise the Wheel Alignment Specifications in the Wheel Alignment subsection of the 1999-2000 SIlverado and Sierra Service Manual.

Important: 

   • Jounce the vehicle three times before verifying the alignment in order to eliminate false geometry readings.
   • The caster angle must be corrected to the level frame angle.
   • Adjust the Z height prior to aligning the vehicle.
   • C Model Z heights are for reference only.

Wheel Alignment Specifications

Model

Left Caster

Right Caster

Cross Caster

Camber

Cross Camber

Sum Toe

Z Height

Steering Wheel Angle

C1500

3.25-4.25°

3.50-4.50°

-0.75 to +0.25°

-0.25 to +0.75°

-0.50 to +0.50°

-0.10 to +0.30°

86-98 mm (3.25-4.00 in)

-5.00 to +5.00°

C2500

4.00-5.00°

4.25-5.25°

-0.75 to +0.25°

-0.25 to +0.75°

-0.50 to +0.50°

-0.10 to +0.30°

89-101 mm (3.50-4.00 in)

-5.00 to +5.00°

K1500

3.75-4.75°

4.25-5.25°

-1.00 to +0.00°

-0.25 to +0.75°

-0.50 to +0.50°

-0.10 to +0.30°

110-122 mm (4.25-5.00 in)

-5.00 to +5.00°

K2500

4.00-5.00°

4.00-5.00°

-0.50 to +0.50°

-0.25 to +0.75°

-0.50 to +0.50°

-0.10 to +0.30°

110-122 mm (4.25-5.00 in)

-5.00 to +5.00°

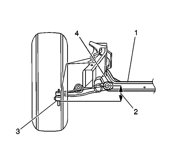
Lower Control Arm (Rear View)


Object Number: 665388  Size: SH
(1)Crossmember
(2)Z Height
(3)Bottom of Knuckle
(4)Lower Control Arm Attachment Bolt Center