GM Service Manual Online
For 1990-2009 cars only
Makes
🢒
Chevrolet
🢒
2000
🢒
Chevy C Silverado - 2WD
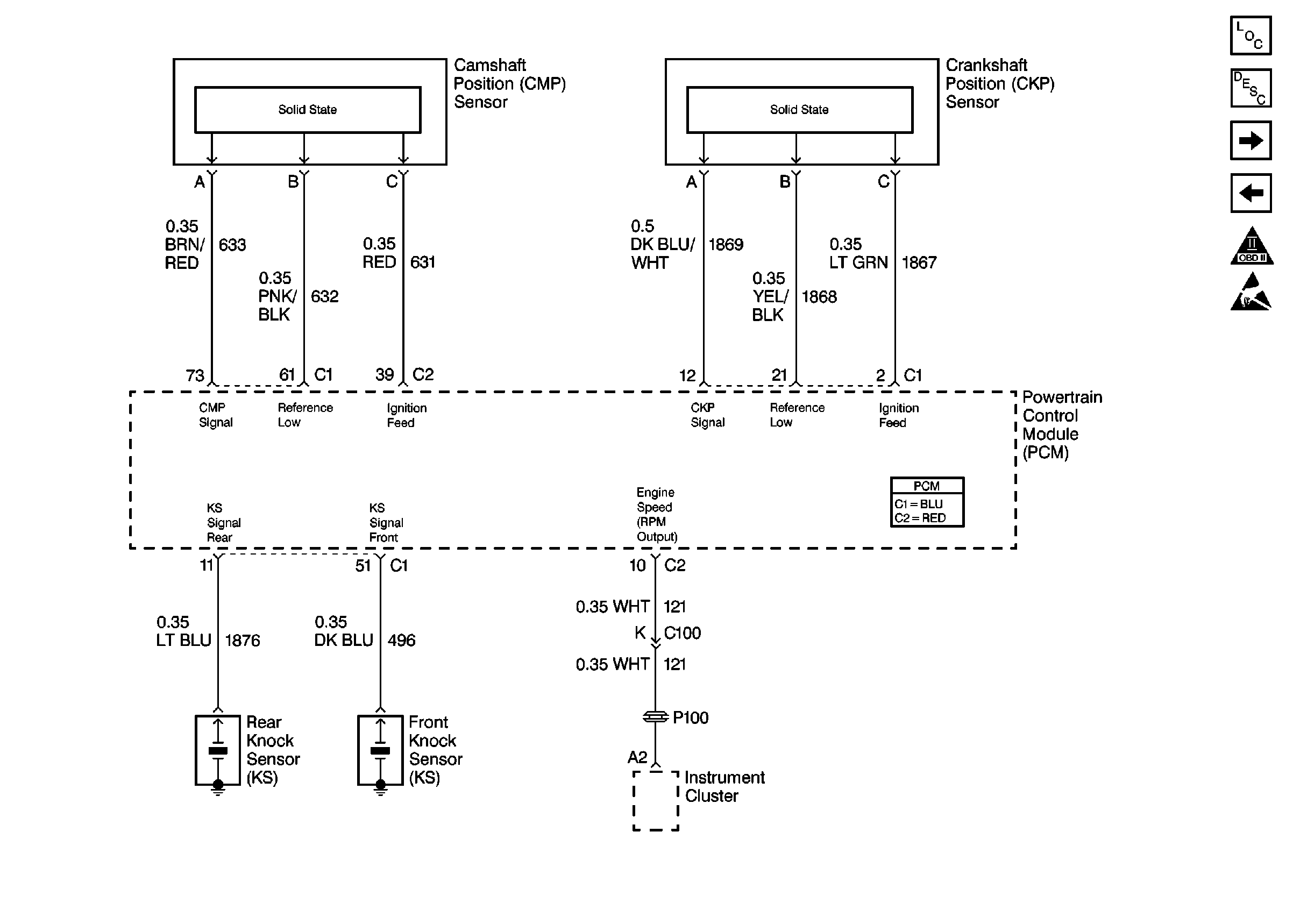
🢒 Cell 21: CMP, CKP, KS
Cell 21: CMP, CKP, KS
Cell 21: CMP, CKP, KS
Engine Controls Components
Powertrain Control Module Description
Cell 21: Fuel Controls
Cell 21: Ignition Controls - Even
OBD II Symbol Description Notice
Handling ESD Sensitive Parts Notice