GM Service Manual Online
For 1990-2009 cars only
Makes
🢒
Chevrolet
🢒
2000
🢒
Chevy C Silverado - 2WD
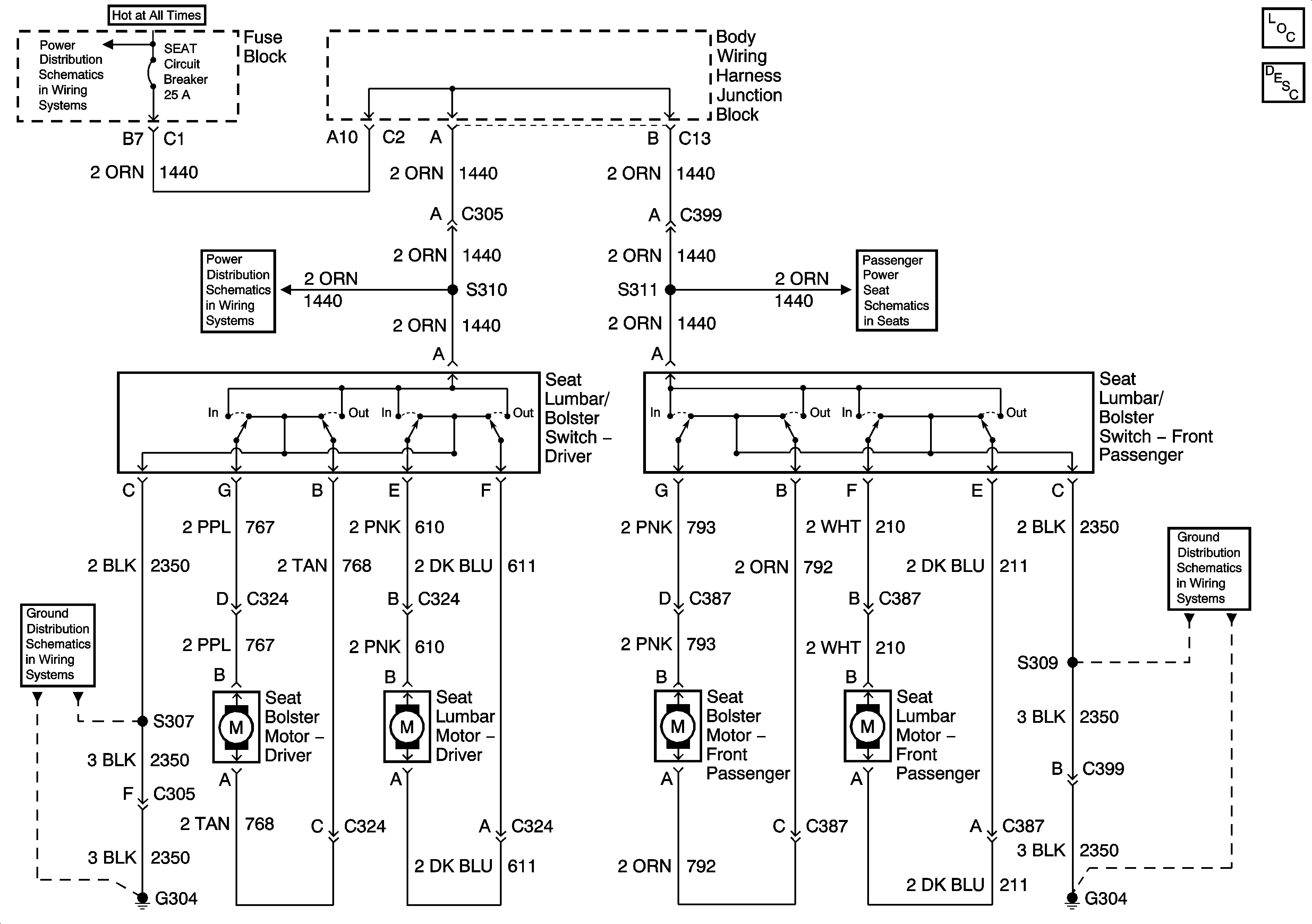
🢒 2000 GMT800 Lumbar Seats Schematics - Pickup
2000 GMT800 Lumbar Seats Schematics - Pickup
Power Seat Systems Components
Power Lumbar Circuit Description
BCM, AIR Pump Relay, Power Door Lock
Power Seat Switch, Memory Seat Switch
G302, G304, Full Feature Seat
G302, G304, Full Feature Seat