GM Service Manual Online
For 1990-2009 cars only

Object Number: 597380  Size: MF
Engine Controls Components
MAP, TPS, MAF, IAC, ECT
OBD II Symbol Description Notice
Handling ESD Sensitive Parts Notice
Handling ESD Sensitive Parts Notice

Circuit Description

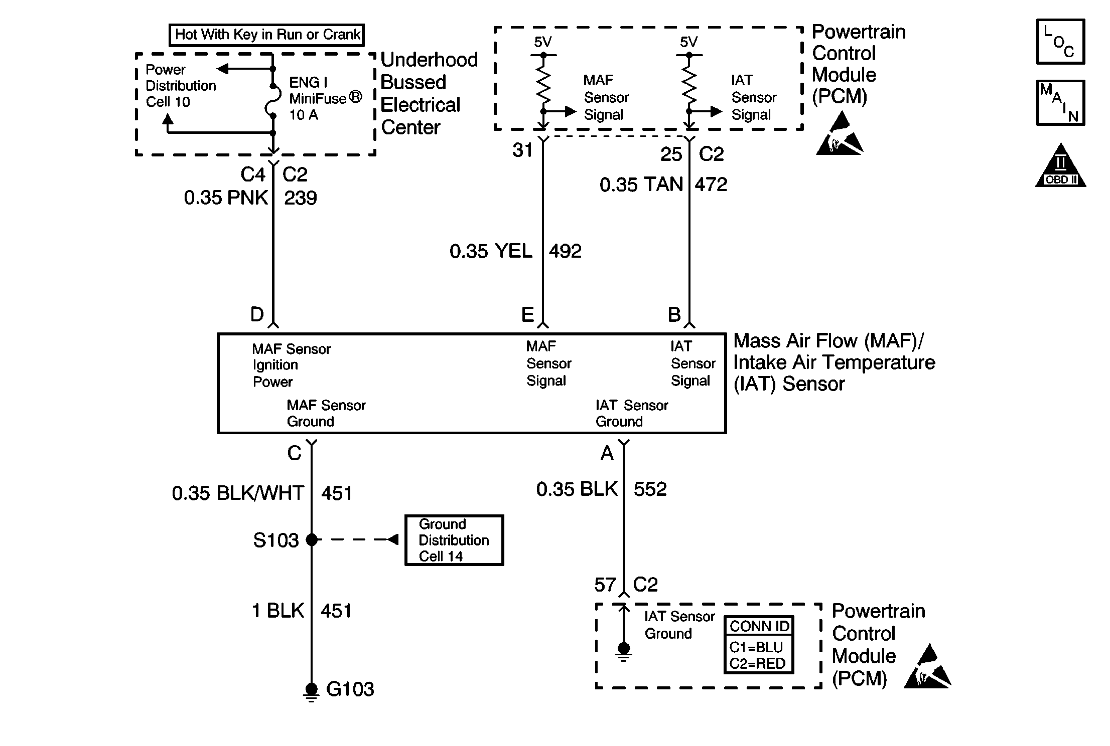
The intake air temperature (IAT) sensor contains a semiconductor device which changes the resistance based on the temperature. The IAT sensor is located within the mass air flow (MAF) sensor. The IAT sensor has a signal circuit and a ground circuit. The powertrain control module (PCM) applies 5.0 volts on the signal circuit to the sensor. The PCM monitors the changes in this voltage caused by changes in the resistance of the sensor in order to determine intake air temperature.

When the intake air is cold, the sensor (thermistor) resistance is high. The PCM signal voltage is only pulled down a small amount through the sensor to a ground, therefore, the PCM senses a high signal voltage. When the intake air is warm, the sensor resistance is low. The signal voltage is pulled down a greater amount, therefore, the PCM senses a low signal voltage.

When the PCM senses a signal voltage lower than the normal operating range of the sensor, this diagnostic trouble code (DTC) sets.

Conditions for Running the DTC

    • No active MAF DTCs
    • No active engine coolant temperature (ECT) DTCs
    • No active vehicle speed (VS) DTCs
    • The engine run time is more than 30 seconds.
    • The vehicle speed is 40 km/h (25 mph) or more.

Conditions for Setting the DTC

    • The intake air temperature (IAT) is more than 139°C (282°F).
    • All conditions are met for 5  seconds.

Action Taken When the DTC Sets

    • The PCM illuminates the malfunction indicator lamp (MIL) on the second consecutive ignition cycle that the diagnostic runs and fails.
    • The PCM records the operating conditions at the time the diagnostic fails. The first time the diagnostic fails, the PCM stores this information in the Failure Records. If the diagnostic reports a failure on the second consecutive ignition cycle, the PCM records the operating conditions at the time of the failure. The PCM writes the conditions to the Freeze Frame and updates the Failure Records.

Conditions for Clearing the MIL/DTC

    • The PCM turns OFF the malfunction indicator lamp (MIL) after 3 consecutive ignition cycles that the diagnostic runs and does not fail.
    • A last test failed, or current DTC, clears when the diagnostic runs and does not fail.
    • A history DTC clears after 40 consecutive warm-up cycles, if no failures are reported by this or any other emission related diagnostic.
    • Use a scan tool in order to clear the MIL and the DTC.

Diagnostic Aids

Important: Remove any debris from the PCM connector surfaces before servicing the PCM. Inspect the PCM connector gaskets when diagnosing or replacing the PCM. Ensure that the gaskets are installed correctly. The gaskets prevent water intrusion into the PCM.

    • The following may cause an intermittent:
       - Mis-routed harness
       - Rubbed through wire insulation
       - Broken wire inside the insulation
    • If the engine has sat overnight, the engine coolant temperature (ECT) and the intake air temperature (IAT) values should display within a few degrees of each other. If the temperatures are not within 3°C (5°F), refer to Temperature Versus Resistance .
    • If you determine that the DTC occurs intermittently, performing the P1112 diagnostic table may isolate the cause of the fault.

For an intermittent, refer to Symptoms .

Test Description

The numbers below refer to the step numbers on the diagnostic table.

  1. This step determines if the malfunction is present.

  2. Using the Freeze Frame and Failure Records data may aid in locating an intermittent condition. If you cannot duplicate the DTC, the information included in the Freeze Frame and Failure Records data can help determine how many miles since the DTC set. The Fail Counter and Pass Counter can also help determine how many ignition cycles the diagnostic reported a pass or a fail. Operate the vehicle within the same Freeze Frame conditions such as RPM, load, vehicle speed, temperature etc. that you observed. This will isolate when the DTC failed.

  3. The IAT sensor is part of the MAF sensor. An intake air temperature below -30°C (-22°F) indicates the PCM and the IAT wiring are OK.

  4. Disconnecting the PCM allows using the DMM in order to check continuity of the circuits. This aids in locating an open or a shorted circuit.

Step

Action

Value(s)

Yes

No

1

Did you perform the Powertrain On-Board Diagnostic (OBD) System Check?

--

Go to Step 2

Go to Powertrain On Board Diagnostic (OBD) System Check

2

  1. Install a scan tool.
  2. Turn ON the ignition leaving the engine OFF.
  3. Monitor the IAT display on the Engine 1 Data List of the scan tool.

Is the IAT above the specified value?

139°C (282°F)

Go to Step 4

Go to Step 3

3

  1. Turn ON the ignition, with the engine OFF.
  2. Review the Freeze Frame and Failure Records data for this DTC and observe the parameters.
  3. Turn OFF the ignition for 15 seconds.
  4. Start the engine.
  5. Operate the vehicle within the conditions required for this diagnostic to run, and as close to the conditions recorded in the Freeze Frame and Failure Records as possible. Special operating conditions that you need to meet before the PCM will run this diagnostic, where applicable, are listed in Conditions for Running the DTC.
  6. Select the Diagnostic Trouble Code (DTC) option, the Specific DTC option, then enter the DTC number using the scan tool.

Does the scan tool indicate that this diagnostic failed this ignition?

--

Go to Step 4

Go to Diagnostic Aids

4

  1. Disconnect the MAF/IAT sensor electrical connector.
  2. Observe the IAT display on the scan tool.

Is the IAT at the specified value?

-39°C (-38°F)

Go to Step 6

Go to Step 5

5

  1. Turn OFF the ignition.
  2. Disconnect the PCM connector C2 located on the opposite side of the manufacturers logo. Refer to Powertrain Control Module Replacement .
  3. Check the IAT signal circuit for a short to a ground. Refer to Testing for Short to Ground in Wiring Systems.
  4. If you find the IAT sensor signal circuit is grounded, repair the circuit as necessary. Refer to Wiring Repairs in Wiring Systems.

Is the IAT signal circuit grounded?

--

Go to Step 8

Go to Step 7

6

Replace the MAF/IAT sensor. Refer to Mass Airflow Sensor/Intake Air Temperature Sensor Replacement .

Is the action complete?

--

Go to Step 8

--

7

Important:: The replacement PCM must be programmed.

Replace the PCM. Refer to Powertrain Control Module Replacement .

Is the action complete?

--

Go to Step 8

--

8

  1. Select the Diagnostic Trouble Code (DTC) option and the Clear DTC Information option using the scan tool.
  2. Idle the engine at the normal operating temperature.
  3. Select the Diagnostic Trouble Code (DTC) option and the Specific DTC option, then enter the DTC number using the scan tool.
  4. Operate the vehicle within the Conditions for Running the DTC as specified in the supporting text, if applicable.

Does the scan tool indicate that this test ran and passed?

--

Go to Step 9

Go to Step 2

9

Select the Capture Info option and the Review Info option using the scan tool.

Does the scan tool display any DTCs that you have not diagnosed?

--

Go to the applicable DTC table

System OK