GM Service Manual Online
For 1990-2009 cars only

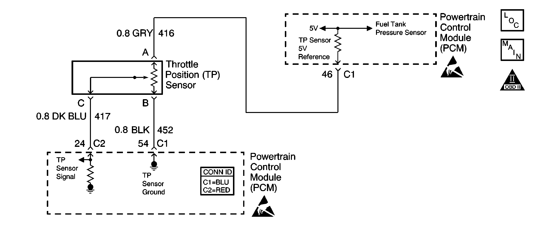
Object Number: 597594  Size: SF
Engine Controls Components
MAP, TPS, MAF, IAC, ECT
OBD II Symbol Description Notice
Handling ESD Sensitive Parts Notice
Handling ESD Sensitive Parts Notice

Circuit Description

The throttle position (TP) sensor is a potentiometer. The TP sensor is mounted to the left side of the throttle body. The TP sensor provides a voltage signal that changes relative to throttle blade angle. This signal voltage is one of the most important inputs used by the powertrain control module (PCM). The TP sensor has a 5.0 volt reference, a ground, and a signal circuit.

TP sensor signal voltage should be near 0.6 volt at idle. The TP sensor voltage should increase to above 4.0 volts at wide open throttle (WOT).

When the PCM senses a signal voltage higher than the normal operating range of the sensor, this diagnostic trouble code (DTC) sets.

Conditions for Running The DTC

The ignition switch is in the ON position or the engine is operating.

Conditions for Setting The DTC

    • The TP sensor signal voltage is more than 4.75 volts.
    • The condition is present for 10 seconds.

Action Taken When the DTC Sets

    • The PCM illuminates the malfunction indicator lamp (MIL) on the second consecutive ignition cycle that the diagnostic runs and fails.
    • The PCM records the operating conditions at the time the diagnostic fails. The first time the diagnostic fails, the PCM stores this information in the Failure Records. If the diagnostic reports a failure on the second consecutive ignition cycle, the PCM records the operating conditions at the time of the failure. The PCM writes the conditions to the Freeze Frame and updates the Failure Records.
    • The PCM uses a default TP sensor value.
    • The transmission line pressure increases.
    • Firmer transmission shifts

Conditions for Clearing the MIL/DTC

    • The PCM turns OFF the malfunction indicator lamp (MIL) after 3 consecutive ignition cycles that the diagnostic runs and does not fail.
    • A last test failed, or current DTC, clears when the diagnostic runs and does not fail.
    • A history DTC clears after 40 consecutive warm-up cycles, if no failures are reported by this or any other emission related diagnostic.
    • Use a scan tool in order to clear the MIL and the DTC.

Diagnostic Aids

Important: Remove any debris from the PCM connector surfaces before servicing the PCM. Inspect the PCM connector gaskets when diagnosing or replacing the PCM. Ensure that the gaskets are installed correctly. The gaskets prevent water intrusion into the PCM.

    • The following may cause an intermittent:
       - Mis-routed harness
       - Rubbed through wire insulation
       - Broken wire inside the insulation
    • The PCM 5.0 volt reference circuits are internally connected within the PCM. If all the TP sensor circuits are OK, inspect the fuel tank pressure sensor for malfunctions. If DTC P1639 sets at the same time, this indicates that the 5.0 volt reference circuit is either shorted to a ground or shorted to a voltage.
    • If it is determined that the DTC occurs intermittently, performing the DTC P1121 diagnostic table may isolate the cause of the fault.
    • For an intermittent, refer to Symptoms .

Test Description

The numbers below refer to the step numbers on the diagnostic table.

  1. If DTC P1639 sets at the same time, this indicates that the 5 volt reference circuit is shorted to a ground. The 5 volt reference circuit is internally connected within the PCM.

  2. This step checks if the fault is present.

  3. Using Freeze Frame and Failure Records data may aid in locating an intermittent condition. If you cannot duplicated the DTC, the information included in the Freeze Frame and Failure Records data can help determine how many miles since the DTC set. The Fail Counter and Pass Counter can also help determine how many ignition cycles the diagnostic reported a pass or a fail. Operate vehicle within the same Freeze Frame conditions such as RPM, load, vehicle speed, temperature, etc. that you observed. This will isolate when the DTC failed.

  4. This step determines if the signal circuit is shorted to a voltage.

  5. This checks whether the ground circuit is available to the TP sensor. Check for poor electrical connections at the TP sensor.

Step

Action

Value(s)

Yes

No

1

Did you perform the Powertrain On-Board Diagnostic (OBD) System Check?

--

Go to Step 2

Go to Powertrain On Board Diagnostic (OBD) System Check

2

  1. Install the scan tool.
  2. Idle the engine.
  3. Monitor the diagnostic trouble code (DTC) information using the scan tool.

Did DTC P1635 and P1639 fail this ignition?

--

Go to DTC P1635 5 Volt Reference 1 Circuit

Go to Step 3

3

  1. Turn ON the ignition, with the engine OFF.
  2. With the throttle closed, observe the TP sensor voltage and percentage display on the scan tool.

Is the TP sensor voltage or the throttle angle above the specified values?

4.7 V, 0%

Go to Step 5

Go to Step 4

4

  1. Turn ON the ignition, with the engine OFF.
  2. Review the Freeze Frame and Failure Records data for this DTC and record the parameters.
  3. Turn OFF the ignition for 15 seconds.
  4. Start the engine.
  5. Operate the vehicle within the conditions required for this diagnostic to run, and as close to the conditions recorded in Freeze Frame and Failure Records as possible. Special operating conditions that you need to meet before the PCM will run this diagnostic, where applicable, are listed in Conditions for Running the DTC.
  6. Select the Diagnostic Trouble Code (DTC) option, the Specific DTC option, then enter the DTC number which was set using the scan tool.

Does the scan tool indicate that this diagnostic failed this ignition?

--

Go to Step 5

Go to Diagnostic Aids

5

  1. Disconnect the TP sensor electrical connector.
  2. Observe the TP sensor voltage display on the scan tool.

Is the TP sensor voltage below the specified value?

0.20 V

Go to Step 6

Go to Step 9

6

Probe the sensor ground circuit at the TP sensor harness connector with the J 35616-200 test lamp connected to B+.

Does the test lamp illuminate?

--

Go to Step 7

Go to Step 10

7

Measure the voltage at the 5 volt reference circuit to ground using the DMM. Refer to Measuring Voltage in Wiring Systems.

Is the voltage more than the specified value?

5 V

Go to Step 13

Go to Step 8

8

Important:: Inspect for poor TP sensor connections before replacing the TP sensor. Refer to Testing for Intermittent Conditions and Poor Connections in Wiring Systems.

Replace the TP sensor. Refer to Throttle Position Sensor Replacement .

Is the action complete?

--

Go to Step 14

--

9

  1. Turn OFF the ignition.
  2. Disconnect the PCM connector C2 located on the opposite side of the manufacturers logo. Refer to Powertrain Control Module Replacement .
  3. Turn ON the ignnition, with the engine OFF.
  4. Check for a short to voltage on the TP sensor signal circuit. Refer to Measuring Voltage in Wiring Systems.
  5. If you find the TP sensor signal circuit shorted, repair the circuit as necessary. Refer to Wiring Repairs in Wiring Systems.

Did you find and correct the condition?

--

Go to Step 14

Go to Step 12

10

  1. Check for an open TP sensor ground circuit. Refer to Testing for Continuity in Wiring Systems.
  2. If you find the TP sensor ground circuit open, repair the circuit as necessary. Refer to Wiring Repairs in Wiring Systems.

Did you find and correct the condition?

--

Go to Step 14

Go to Step 11

11

  1. Turn OFF the ignition.
  2. Disconnect the PCM connector C1 located on the same side of the manufacturers logo. Refer to Powertrain Control Module Replacement .
  3. Check the TP sensor ground circuit for a good connection at the PCM. Refer to Testing for Intermittent Conditions and Poor Connections in Wiring Systems.
  4. If you find a poor connection at the TP sensor ground circuit, repair the circuit as necessary. Refer to Connector Repairs in Wiring Systems.

Did you find and correct the condition?

--

Go to Step 14

Go to Step 13

12

Important:: The replacement PCM must be programmed.

Replace the PCM. Refer to Powertrain Control Module Replacement .

Is the action complete?

--

Go to Step 14

--

13

Repair the 5 volt reference circuit for a short to voltage. Refer to Wiring Repairs in Wiring Systems.

Is the action complete?

--

Go to Step 14

--

14

  1. Select the Diagnostic Trouble Code (DTC) option and the Clear DTC Information option using the scan tool.
  2. Idle the engine at the normal operating temperature.
  3. Select the Diagnostic Trouble Code (DTC) option and the Specific DTC option, then enter the DTC number using the scan tool.
  4. Operate the vehicle within the Conditions for Running the DTC as specified in the supporting text, if applicable.

Does the scan tool indicate that this test ran and passed?

--

Go to Step 15

Go to Step 2

15

Select the Capture Info option and the Review Info using the scan tool.

Does the scan tool display any DTCs that you have not diagnosed?

--

Go to the applicable DTC table

System OK