GM Service Manual Online
For 1990-2009 cars only

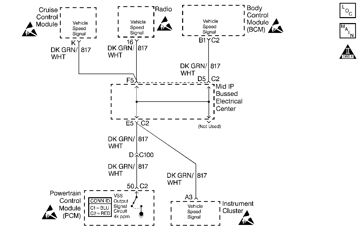
Object Number: 342030  Size: MF
Engine Controls Component Views
Engine Controls Schematics
OBD II Symbol Description Notice
Handling ESD Sensitive Parts Notice
Handling ESD Sensitive Parts Notice
Handling ESD Sensitive Parts Notice
Handling ESD Sensitive Parts Notice
Handling ESD Sensitive Parts Notice

Circuit Description

Various components apply a voltage to the vehicle speed output circuit. The powertrain control module (PCM) creates the vehicle speed output signal by rapidly grounding this circuit via an internal switch called a driver. The various components recognize the voltage being pulled to ground as an indication of vehicle speed.

The driver supplies the ground for the component being controlled. Each driver has a fault line which the PCM monitors. When the PCM commands a component ON, the voltage of the control circuit should be low, near 0 volts. When the PCM commands the control circuit to a component OFF, the voltage potential of the circuit should be high, near battery voltage. If the fault detection circuit senses a voltage other than what is expected, the fault line status changes causing the DTC to set. This DTC sets when the VSS output circuit is grounded or shorted to a voltage.

Conditions for Running the DTC

    • The engine speed is more than 400 RPM.
    • The ignition voltage is between 6-18 volts.

Conditions for Setting the DTC

    • The PCM detects that the commanded state of the driver and the actual state of the control circuit do not match.
    • The condition must be present for a minimum of 5 seconds.

Action Taken When the DTC Sets

    • The powertrain control module (PCM) stores the DTC information into memory when the diagnostic runs and fails.
    • The malfunction indicator lamp (MIL) will not illuminate.
    • The PCM records the operating conditions at the time the diagnostic fails. The PCM stores this information in the Failure Records.

Conditions for Clearing the DTC

    • A last test failed, or current DTC, clears when the diagnostic runs and does not fail.
    • A history DTC will clear after 40 consecutive warm-up cycles, if no failures are reported by this or any other non-emission related diagnostic.
    • Use a scan tool in order to clear the DTC.

Diagnostic Aids

Important: Remove any debris from the PCM connector surfaces before servicing the PCM. Inspect the PCM connector gaskets when diagnosing or replacing the PCM. Ensure that the gaskets are installed correctly. The gaskets prevent water intrusion into the PCM.

Using Freeze Frame and Failure Records data may aid in locating an intermittent condition. If you cannot duplicate the DTC, the information included in the Freeze Frame and Failure Records data can aid in determining how many miles since the DTC set. The Fail Counter and Pass Counter can also aid determining how many ignition cycles the diagnostic reported a pass or a fail. Operate the vehicle within the same Freeze Frame conditions, such as RPM, load, vehicle speed, temperature etc., that you observed. This will isolate when the DTC failed.

For an intermittent, refer to Symptoms .

Test Description

The numbers below refer to the step numbers on the diagnostic table.

  1. This step verifies if the fault is present.

  2. This step tests for the proper signal voltage.

  3. This step tests for an open circuit between the instrument panel cluster (IPC) and connector C100.

  4. This step tests for a grounded circuit between the IPC and connector C100.

  5. This step tests for an open circuit between the PCM and connector C100.

  6. This step tests for a grounded circuit between the PCM and connector C100.

Step

Action

Value(s)

Yes

No

1

Did you perform the Powertrain On-Board Diagnostic (OBD) System Check?

--

Go to Step 2

Go to Powertrain On Board Diagnostic (OBD) System Check

2

    Important: If the instrument panel (IP) is completely inoperative, refer to Diagnostic System Check - Instrument Cluster in Instrument Panel, Gauges and Console.

  1. Verify whether the IP is operative.
  2. Caution: To avoid any vehicle damage, serious personal injury or death when major components are removed from the vehicle and the vehicle is supported by a hoist, support the vehicle with jack stands at the opposite end from which the components are being removed and strap the vehicle to the hoist.

  3. Raise the vehicles drive wheels. Refer to Lifting and Jacking the Vehicle in General Information.
  4. Start the engine.
  5. Place the transmission into drive for automatic transmission and third gear for manual transmission.
  6. Monitor the vehicle speed at the IPC.

Does the vehicle speedometer indicate a vehicle speed?

--

Go Diagnostic Aids

Go to Step 3

3

  1. Turn OFF the ignition.
  2. Remove the fender to cowl bracket.
  3. Remove the underhood electrical center cover.
  4. Remove the underhood electrical center side shield.
  5. Lift the underhood electrical center up to gain access to the C100, 16-way black connector.
  6. Disconnect the C100 connector.
  7. Turn ON the ignition, with the engine OFF.
  8. Measure the vehicle speed output (4K) circuit voltage from the C100 connector, on the female side of connector, to ground using the DMM . Refer to Measuring Voltage in Wiring Systems.

Does the DMM display a voltage more than the specified value?

9.5 V

Go to Step 6

Go to Step 4

4

  1. Turn OFF the ignition.
  2. Remove the IPC. Refer to Instrument Cluster Replacement in Instrument Panel, Gauges and Console.
  3. Test continuity from the vehicle speed output (4K) circuit at the IPC electrical connector to connector C100. Refer to Testing for Continuity in Wiring Systems.

Does the DMM display continuity?

--

Go to Step 5

Go to Step 8

5

Test continuity from the vehicle speed output (4K) circuit to battery ground. Refer to Testing for Continuity in Wiring Systems.

Does the DMM display continuity?

--

Go to Step 9

Go to Diagnostic System Check - Instrument Cluster in Instrument Panel, Gauges and Console

6

  1. Turn OFF the ignition.
  2. Disconnect the PCM connector C2. Refer to Powertrain Control Module Replacement .
  3. Test the continuity of the vehicle speed output (4K) circuit from the PCM harness connector to connector C100 using the DMM . Refer to Testing for Continuity in Wiring Systems.

Does the DMM display continuity.

--

Go to Step 7

Go to Step 10

7

Test the continuity of the vehicle speed output (4K) circuit from the PCM harness connector to ground using the DMM . Refer to Testing for Continuity in Wiring Systems.

Does the DMM display continuity?

--

Go to Step 11

Go to Step 12

8

Repair the open vehicle speed output (4K) circuit from the IPC to connector C100. Refer to Wiring Repairs in Wiring Systems.

Is the action complete?

--

Go to Step 14

--

9

Repair the grounded vehicle speed output (4K) circuit from the IPC to connector C100. Refer to Wiring Repairs in Wiring Systems.

Is the action complete?

--

Go to Step 14

--

10

Repair the open vehicle speed output (4K) circuit from the PCM to C100. Refer to Wiring Repairs in Wiring Systems.

Is the action complete?

--

Go to Step 14

--

11

Repair the grounded vehicle speed output (4K) circuit from the PCM to C100. Refer to Wiring Repairs in Wiring Systems.

Is the action complete?

--

Go to Step 14

--

12

  1. Inspect the PCM harness connector for poor connections. Refer to Testing for Intermittent Conditions and Poor Connections in Wiring Systems.
  2. If you find a poor connection, repair the connection as necessary. Refer to Connector Repairs in Wiring Systems.

Did you find and repair the condition?

--

Go to Step 14

Go to Step 13

13

Important: The replacement PCM must be programmed.

Replace the PCM. Refer to Powertrain Control Module Replacement .

Is the action complete?

--

Go to Step 14

--

14

  1. Select the Diagnostic Trouble Code (DTC) option and the Clear DTC option using the scan tool.
  2. Idle the engine at the normal operating temperature.
  3. Select the Diagnostic Trouble Code (DTC) option and the Specific DTC option, then enter the DTC number using the scan tool.
  4. Operate the vehicle within the Conditions for Running the DTC as specified in the supporting text, if applicable.

Does the scan tool indicate that this test passed?

--

Go to Step 15

Go to Step 2

15

Select the Capture Info option and the Review Info option using the scan tool.

Does the scan tool display any DTCs that you have not diagnosed?

--

Go to the applicable DTC table

System OK