GM Service Manual Online
For 1990-2009 cars only

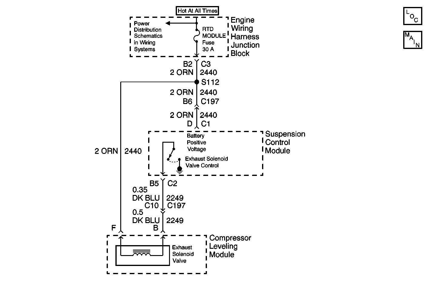
Object Number: 590545  Size: MF
Suspension Controls Components
Power Distribution Schematics
Fuse Block, Control Module, DLC

Circuit Description

The exhaust solenoid valve is switched on and off via the suspension control module. The control module provides a switched path to ground whenever exhaust activity is required and during a compressor "head-relief" sequence which occurs at compressor start-up (If system pressure is lower than 10 psi). The control module continually monitors the exhaust solenoid valve circuitry to determine if the voltage level agrees with the commanded state.

Conditions for Running the DTC

Whenever activity is required.

Conditions for Setting the DTC

    • Open in the control circuit of the exhaust solenoid valve.
    • Short to ground in the control circuit of the exhaust solenoid valve.
    • Short to battery in the control circuit of the exhaust solenoid valve.
    • Open in the battery positive voltage circuit of the exhaust solenoid valve.
    • Open RTD MODULE fuse.
    • A malfunctioning exhaust solenoid valve.

Action Taken When the DTC Sets

    • The exhaust solenoid valve is disabled for the remainder of the ignition cycle.
    • DTC C0660 will be stored in memory.

Conditions for Clearing the MIL/DTC

    • The suspension control module no longer detects a open, short to ground, or a short to battery in the control circuit of the exhaust solenoid valve.
    • A history DTC will clear after not seeing the malfunction for 100 consecutive ignition cycles.
    • Using a scan tool.

Diagnostic Aids

    • The following conditions may cause a malfunction to occur:
       - A short to ground in the control circuit of the exhaust solenoid valve.
       - An open in the control circuit of the exhaust solenoid valve.
       - A short to battery in the control circuit of the exhaust solenoid valve.
       - An open in the battery positive voltage circuit of the exhaust solenoid valve.
    • A malfunction in the exhaust solenoid valve.

Test Description

The number(s) below refer to the step number(s) on the diagnostic table.

  1. Command both the ON and OFF states. Repeat the commands as necessary.

  2. Test the exhaust solenoid valve resistance.

  3. Tests for voltage at the coil side of the exhaust solenoid valve. The RTD MODULE fuse supplies power to the coil side of the exhaust solenoid valve.

  4. Verifies that the suspension control module is providing ground to the exhaust solenoid valve.

  5. Tests if ground is constantly being applied to the exhaust solenoid valve.

  6. Test the control circuit of the exhaust solenoid valve for a short to voltage and an open.

  7. The replacement control module must be calibrated.

Step

Action

Value(s)

Yes

No

1

Did you perform the RTD Diagnostic System Check?

--

Go to Step 2

Go to Diagnostic System Check

2

  1. Install a scan tool.
  2. Turn ON the ignition, with the engine OFF.
  3. With a scan tool, command the exhaust ON and OFF.

Does the exhaust solenoid valve turn ON and OFF with each command?

--

Go to Diagnostic Aids

Go to Step 3

3

  1. Turn OFF the ignition.
  2. Disconnect the compressor leveling module connector.
  3. Measure the resistance from the positive battery voltage circuit of the exhaust solenoid valve and the control circuit of the exhaust solenoid valve.

Does the resistance measure within the specified value?

30 to 90 ohms

Go to Step 4

Go to Step 12

4

  1. Turn ON the ignition, with the engine OFF.
  2. Probe the positive battery voltage circuit of the exhaust solenoid valve with a test lamp that is connected to a good ground. Refer to Circuit Testing in Wiring Systems.

Does the test lamp illuminate?

--

Go to Step 5

Go to Step 11

5

  1. Connect a test lamp between the control circuit of the exhaust solenoid valve and the positive battery voltage circuit of the exhaust solenoid valve, harness side. Refer to Circuit Testing in Wiring Systems.
  2. With a scan tool, command the exhaust ON and OFF .

Does the test lamp turn ON and OFF with each command?

--

Go to Step 9

Go to Step 6

6

Does the test lamp remain illuminated with each command?

--

Go to Step 8

Go to Step 7

7

Test the control circuit of the exhaust solenoid valve for a short to voltage and an open. Refer to Circuit Testing and Wiring Repairs in Wiring Systems.

Did you find and correct the condition?

--

Go to Step 14

Go to Step 10

8

Test the control circuit of the exhaust solenoid valve for a short to ground. Refer to Circuit Testing and Wiring Repairs in Wiring Systems.

Did you find and correct the condition?

--

Go to Step 14

Go to Step 10

9

Inspect for poor connections at the exhaust solenoid valve. Refer to Testing for Intermittent Conditions and Poor Connections and Connector Repairs in Wiring Systems.

Did you find and correct the condition?

--

Go to Step 14

Go to Step 12

10

Inspect for poor connections at the harness connector of the suspension control module. Refer to Testing for Intermittent Conditions and Poor Connections and Connector Repairs in Wiring Systems.

Did you find and correct the condition?

--

Go to Step 14

Go to Step 13

11

Repair the positive battery voltage circuit of the exhaust solenoid valve. Refer to Wiring Repairs in Wiring Systems.

Did you complete the repair?

--

Go to Step 14

--

12

Replace the exhaust solenoid valve.

Did you complete the replacement?

--

Go to Step 14

--

13

Replace the suspension control module. Refer to Electronic Suspension Control Module Replacement .

Did you complete the replacement?

--

Go to Step 14

--

14

  1. Use the scan tool in order to clear the DTCs .
  2. Operate the vehicle within the Conditions for Running the DTC as specified in the supporting text.

Does the DTC reset?

--

Go to Step 2

System OK