GM Service Manual Online
For 1990-2009 cars only

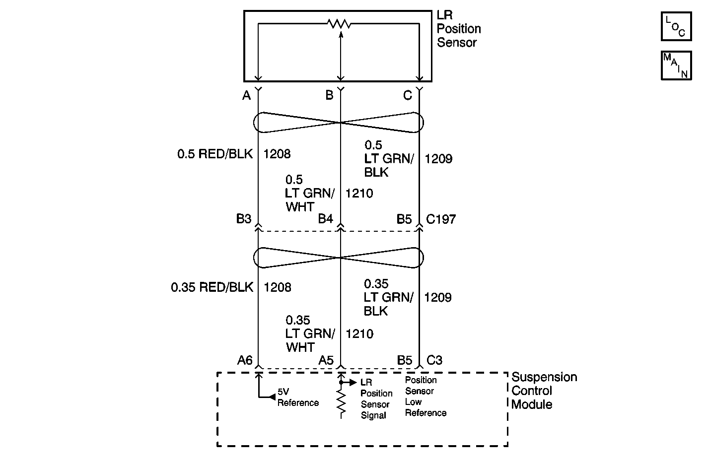
Object Number: 590549  Size: MF
Suspension Controls Components
Suspension Control Module, Shock Solenoid Valves

Circuit Description

The position sensor provides an analog signal voltage between 0.5 and 4.5 volts to the suspension control module. This signal voltage represents the wheel's position relative to the body. The suspension control module provides a 5.0 volt reference and a low reference to the sensor.

Conditions for Running the DTC

Under normal driving conditions.

Vehicle speed greater than 0 kph (0 mph).

Conditions for Setting the DTC

The suspension control module senses a position sensor signal voltage below 0.5 volts or above 4.5 volts.

Action Taken When the DTC Sets

    • DTC C0625 will be stored in memory.
    • The "SERVICE RIDE CONTROL" message will be displayed.
    • All four dampers will be commanded to their off state.

Conditions for Clearing the MIL/DTC

    • The suspension control module no longer senses a position signal voltage out of range with vehicle speed greater than 0 kph (0 mph).
    • A history DTC will clear after not seeing the malfunction for 100 consecutive ignition cycles.
    • Using a scan tool.

Diagnostic Aids

       Important: Before proceeding with the diagnosis do a visual inspection of the mechanical aspects of the sensor and its components. Ensure the sensor and the sensor link is not bent, disconnected, or insulation on wires are not rubbed through or damaged in any way.

If DTC C0870 is present, perform the diagnosis for DTC C0870 first.

    • A faulty sensor voltage reading may result if the vehicle is on a host that allows the suspension to hang free.
    • The following conditions may cause a malfunction to occur:
      • A short to voltage on the 5 volt reference circuit.
      • A short to ground on the 5 volt reference circuit.
      • An open in the 5 volt reference circuit to the LR position sensor.
      • An short to voltage on the LR position signal circuit.
      • A short to ground on the LR position signal circuit.
      • An open in the LR position signal circuit.
      • An open in the LR position sensor low reference circuit.
      • A malfunctioning LR position sensor.
      • A disconnected, bent or damaged sensor link.

Test Description

The number(s) below refer to the step number(s) on the diagnostic table.

  1. Check the sensor data parameter.

  2. Tests for the proper operation of the circuit in the high voltage range.

  3. Tests for the proper operation of the circuit in the low voltage range. If the fuse in the jumper opens when you perform this test, the signal circuit is shorted to voltage.

  4. Tests for a short to ground in the 5 volt reference circuit.

  5. Test for a short to voltage, a high resistance, or an open.

  6. Important: When replacing the suspension control module the replacement module must be calibrated.

Step

Action

Value(s)

Yes

No

1

Important: If DTC C0870 is present, perform the diagnosis for DTC C0870 first.

Did you perform the RTD Diagnostic System Check?

--

Go to Step 2

Go to Diagnostic System Check

2

  1. Install a scan tool.
  2. Turn ON the ignition, with the engine OFF.
  3. With a scan tool, observe the LR position sensor data parameter in the Suspension Control Module data list.

Does the scan tool indicate that the LR position sensor data parameter is within the specified range?

0.5 to 4.5 V

Go to Step 11

Go to Step 3

3

  1. Turn OFF the ignition.
  2. Disconnect the LR position sensor electrical connector.
  3. Turn ON the ignition, with the engine OFF.
  4. With a scan tool, observe the LR position sensor data parameter.

Does the scan tool indicate that the LR position sensor data parameter is greater than the specified value?

0.5 V

Go to Step 4

Go to Step 8

4

  1. Turn OFF the ignition.
  2. Connect a 3 amp fused jumper wire between the signal circuit of the LR position sensor and the sensor low reference circuit of the LR position sensor.
  3. Turn ON the ignition, with the engine OFF.
  4. With a scan tool, observe the LR position sensor data parameter.

Does the scan tool indicate that the LR position sensor data parameter is less than the specified value?

0.5 V

Go to Step 5

Go to Step 9

5

  1. Turn OFF the ignition.
  2. Disconnect the fused jumper wire.
  3. Connect a 3 amp fused jumper wire between the 5 volt reference circuit of the LR position sensor and the signal circuit of the RF position sensor.
  4. Turn ON the ignition, with the engine OFF.
  5. With a scan tool, observe the LR position sensor data parameter.

Does the scan tool indicate that the LR position sensor data parameter is greater than the specified value?

4.5 V

Go to Step 7

Go to Step 6

6

Test the 5 volt reference circuit of the LR position sensor for a short to ground. Refer to Circuit Testing and Wiring Repairs in Wiring Systems.

Did you find and correct the condition?

--

Go to Step 17

Go to Step 14

7

Test the 5 volt reference circuit of the LR position sensor for a short to voltage, a high resistance, and a open. Refer to Circuit Testing and Wiring Repairs in Wiring Systems.

Did you find and correct the condition?

--

Go to Step 17

Go to Step 13

8

Test the signal circuit of the LR position sensor for a short to ground. Refer to Circuit Testing and Wiring Repairs in Wiring Systems.

Did you find and correct the condition?

--

Go to Step 17

Go to Step 14

9

Test the signal circuit of the LR position sensor for a short to voltage, a high resistance, and a open. Refer to Circuit Testing and Wiring Repairs in Wiring Systems.

Did you find and correct the condition?

--

Go to Step 17

Go to Step 12

10

Test the sensor low reference circuit of the LR position sensor for a high resistance and a open. Refer to Circuit Testing and Wiring Repairs in Wiring Systems.

Did you find and correct the condition?

--

Go to Step 17

Go to Step 14

11

  1. Turn OFF the ignition.
  2. Disconnect the sensor from the mounting bracket.
  3. Measure the resistance from the 5 volt reference circuit of the position sensor to the signal circuit of the position sensor while rotating the arm of the sensor.

Does the resistance change smoothly within the specified value?

150 to 700 ohms

Go to Step 12

Go to Step 13

12

Measure the resistance from the low reference circuit of the position sensor to the signal circuit of the position sensor while rotating the arm of the sensor.

Does the resistance change smoothly within the specified value?

150 to 700 ohms

Go to Step 17

Go to Step 13

13

Inspect for poor connections at the harness connector of the LR position sensor. Refer to Testing for Intermittent Conditions and Poor Connections and Connector Repairs in Wiring Systems.

Did you find and correct the condition?

--

Go to Step 17

Go to Step 15

14

Inspect for poor connections at the harness connector of the suspension control module. Refer to Testing for Intermittent Conditions and Poor Connections and Connector Repairs in Wiring Systems.

Did you find and correct the condition?

--

Go to Step 17

Go to Step 16

15

Replace the LR position sensor. Refer to Electronic Suspension Rear Position Sensor Replacement - Left Side .

Did you complete the replacement?

--

Go to Step 17

--

16

Replace the suspension control module. Refer to Electronic Suspension Control Module Replacement .

Did you complete the replacement?

--

Go to Step 17

--

17

  1. Reconnect any previously disconnected components.
  2. Use the scan tool in order to clear the DTCs.
  3. Operate the vehicle (road test) within the Conditions for Running the DTC as specified in the supporting text.

Does the DTC reset?

--

Go to Step 2

System OK