GM Service Manual Online
For 1990-2009 cars only

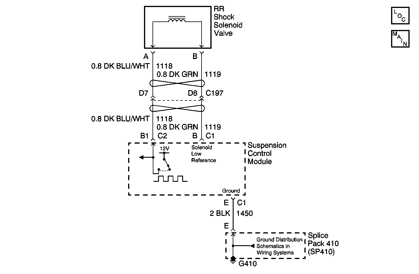
Object Number: 590554  Size: MF
Suspension Controls Components
Ground Distribution Schematics
Suspension Control Module, Shock Solenoid Valves

Circuit Description

The RR shock solenoid valve is driven ON and OFF by the suspension control module. To activate the solenoid it is initially subjected to full battery voltage for a short period of time. Once the solenoid is pulled--in the supply voltage is pulse width modulated (PWM). The amount the RR shock solenoid valve is activated is based on inputs from the driver (Tow/Haul Switch), road inputs, and the powertrain control module.

Conditions for Running the DTC

The suspension control module performs a test on each shock solenoid valve during both ON and OFF states.

Conditions for Setting the DTC

    • A short to ground in the control circuit of the RR shock solenoid valve.
    • A short to voltage in the control circuit of the RR shock solenoid valve.
    • A open in the control circuit of the RR shock solenoid valve.
    • A open in the solenoid low reference circuit of the RR shock solenoid valve.
    • A short to voltage in the solenoid low reference circuit of the RR shock solenoid valve.

Action Taken When the DTC Sets

    • The RR shock solenoid valve will be disabled. or
    • All shock solenoid valves will be disabled.
    • The "SERVICE RIDE CONTROL" message will be displayed.
    • DTC C0590 will be stored in memory.

Conditions for Clearing the MIL/DTC

    • The suspension control module no longer detects a problem in the solenoid low reference circuit or the control circuit of the shock solenoid valve circuits.
    • Using the scan tool.
    • A history DTC will clear after not seeing the malfunction for 100 consecutive ignition cycles.

Diagnostic Aids

If DTC C0870 or DTC C0690 is set, repair the malfunction for these DTC's before diagnosing DTC C0575.

It may be necessary to check Testing for Intermittent Conditions and Poor Connections .

Test Description

The number(s) below refer to the step number(s) on the diagnostic table.

  1. Checks control circuit/control module.

  2. Tests for low reference circuit of the RR shock solenoid valve. The suspension control module supplies ground of the LF shock solenoid valve.

  3. Verifies that the resistance of the RR shock solenoid valve.

  4. Tests the control circuit to the RR shock solenoid valve for an open and short to voltage.

  5. Test the control circuit for a short to ground.

  6. Replace the suspension control module and re-calibrate.

Step

Action

Value(s)

Yes

No

1

Important: If DTC C0870 or DTC C0690 is present, perform the diagnosis for these DTC's first.

Did you perform the RTD Diagnostic System Check?

--

Go to Step 2

Go to Diagnostic System Check

2

  1. Turn OFF the ignition.
  2. Disconnect the RR shock connector.
  3. Turn ON the ignition, with the engine OFF.
  4. Use the scan tool to clear the DTCs.
  5. Probe the control circuit of the RR shock solenoid valve with a test lamp that is connected to a good ground. Refer to Circuit Testing in Wiring Systems.
  6. With a scan tool, command the RR shock solenoid valve ON and OFF.

Does the test lamp turn ON and OFF with each command?

--

Go to Step 3

Go to Step 5

3

  1. Turn ON the ignition, with the engine OFF.
  2. Probe the solenoid low reference circuit of the RR shock solenoid valve with a test lamp that is connected to a positive battery voltage circuit. Refer to Circuit Testing in Wiring Systems.

Does the test lamp illuminate?

--

Go to Step 4

Go to Step 9

4

Measure the resistance from the control circuit of the RR shock solenoid valve to the solenoid low reference circuit of the RR shock solenoid valve, (the shock solenoid valve).

Does the resistance measure within the specified value?

1.5 to 3.3 ohms

Go to Step 7

Go to Step 10

5

Test the control circuit of the RR shock solenoid valve for a short to voltage and an open. Refer to Circuit Testing and Wiring Repairs in Wiring Systems.

Did you find and correct the condition?

--

Go to Step 12

Go to Step 6

6

Test the control circuit of the RR shock solenoid valve for a short to ground. Refer to Circuit Testing and Wiring Repairs in Wiring Systems.

Did you find and correct the condition?

--

Go to Step 12

Go to Step 8

7

Inspect for poor connections at the RR shock solenoid valve. Refer to Testing for Intermittent Conditions and Poor Connections and Connector Repairs in Wiring Systems.

Did you find and correct the condition?

--

Go to Step 12

Go to Step 8

8

Inspect for poor connections at the harness connector of the suspension control module. Refer to Testing for Intermittent Conditions and Poor Connections and Connector Repairs in Wiring Systems.

Did you find and correct the condition?

--

Go to Step 12

Go to Step 11

9

Test the low reference circuit of the RR shock solenoid valve for an open and short to voltage. Refer to Circuit Testing and Wiring Repairs in Wiring Systems.

Did you find and correct the condition?

--

Go to Step 12

Go to Step 11

10

Replace the RR shock. Refer to Shock Absorber Replacement in Rear Suspension.

Did you complete the replacement?

--

Go to Step 12

--

11

Important: Perform the set up procedure (re-calibrate) for the suspension control module when replacing the suspension control module.

Replace the suspension control module. Refer to Electronic Suspension Control Module Replacement .

Did you complete the replacement?

--

Go to Step 12

--

12

  1. Use the scan tool in order to clear the DTCs .
  2. Operate the vehicle within the Conditions for Running the DTC as specified in the supporting text.

Does the DTC reset?

--

Go to Step 2

System OK