GM Service Manual Online
For 1990-2009 cars only

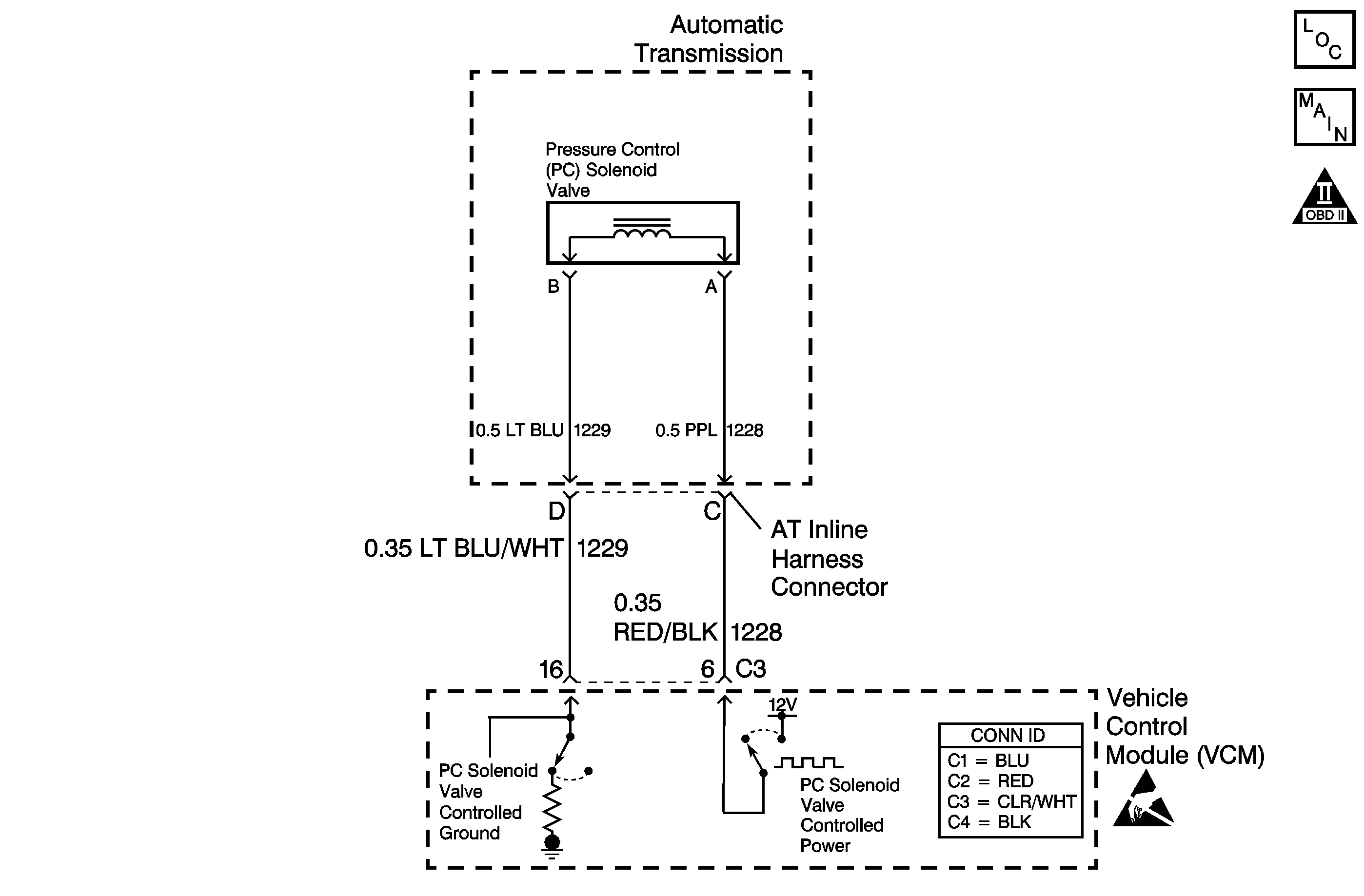
DTC P0748 Pressure Control Solenoid Circuit Electrical 4.3L


Object Number: 519858  Size: MF
Automatic Transmission Components
Automatic Transmission Controls Schematics 4.3L
OBD II Symbol Description Notice
Handling ESD Sensitive Parts Notice

Circuit Description

The pressure control (PC) solenoid valve is an electronic device that regulates transmission line pressure based on the current flow through its coil winding. The magnetic field produced by the coil moves the solenoid's internal valve which varies pressure to the pressure regulator valve. The vehicle control module (VCM) controls the PC solenoid valve by applying a varying amount of amperage to the solenoid. The applied amperage can vary from 0.1 to 1.1 amps. Low amperage (0.1 amp) indicates high line pressure. High amperage (1.1 amps) indicates low line pressure. The duty cycle of the PC solenoid valve is expressed as a percentage of energized ON time. Zero percent indicates zero ON time (non-energized) or no current flow. Approximately 60% at idle indicates maximum ON time (energized) or high current flow. The VCM determines the appropriate line pressure for a given load by comparing the throttle position (TP) voltage, the engine speed and other inputs.

When the VCM detects a continuous open or short in the PC solenoid valve circuit, then DTC P0748 sets. DTC P0748 is a type C DTC.

Conditions for Running the DTC

    • The system voltage is 10-19 volts.
    • The engine is running.

Conditions for Setting the DTC

The PC solenoid valve duty cycle reaches its high limit (approximately 95%) or low limit (approximately 0%).

Action Taken When the DTC Sets

    • The VCM does not illuminate the malfunction indicator lamp (MIL).
    • The PC solenoid valve is OFF.
    • The VCM freezes shift adapts from being updated.
    • The VCM records the operating conditions when the Conditions for Setting the DTC are met. The VCM stores this information as Failure Records.
    • The VCM stores DTC P0748 in VCM history.

Conditions for Clearing the DTC

    • A scan tool can clear the DTC.
    •  The VCM clears the DTC from VCM history if the vehicle completes 40 warm-up cycles without a non-emission-related diagnostic fault occurring.
    • The VCM cancels the DTC default actions when the fault no longer exists and/or the ignition switch is OFF long enough in order to power down the VCM.

Diagnostic Aids

    • Inspect the connectors at the VCM, the PC solenoid and all other circuit connecting points for an intermittent condition. Refer to Testing for Intermittent Conditions and Poor Connections in Wiring Systems.
    • Inspect the circuit wiring for an intermittent condition. Refer to Testing for Electrical Intermittents in Wiring Systems.
    • DTC P0748 may set under low voltage conditions caused by high electrical system demands.

Test Description

The numbers below refer to the step numbers on the diagnostic table.

  1. This step tests the ability of the VCM to command the PC solenoid valve.

  2. This step tests the PC solenoid valve and automatic transmission (AT) wiring harness assembly for incorrect resistance.

DTC P0748 Pressure Control Solenoid Circuit -- Electrical (4.3L)

Step

Action

Value(s)

Yes

No

1

Did you perform the Powertrain Diagnostic System Check?

--

Go to Step 2

Go to Powertrain On Board Diagnostic (OBD) System Check (4.3L) in Engine Controls

2

  1. Install a Scan Tool .
  2. Turn ON the ignition, with the engine OFF.
  3. Important: Before clearing the DTC, use the Scan Tool in order to record the Failure Records. Using the Clear Info function erases the Failure Records from the VCM.

  4. Record the DTC Failure Records.
  5. Clear the DTC.
  6. Start the engine.
  7. Use the Scan Tool in order to command 0.1 amp through 1.0 amp while observing PC Sol. Ref. Current and PC Sol. Actual Current.

Is the PC Sol. Actual Current always within the specified value of the PC Sol. Ref. Current?

0.16 amp

Go to Diagnostic Aids

Go to Step 3

3

  1. Turn OFF the ignition.
  2. Disconnect the AT inline 20-way connector.
  3. Install the J 44152 jumper harness (20 pins) on the transmission side of the AT inline 20-way connector.
  4. Using the J 39200 digital multimeter (DMM) and the J 35616 connector test adapter kit, measure the resistance between terminals C and D of the J 44152 .
  5. Refer to Automatic Transmission Inline Harness Connector End View .

Does the resistance measure within the specified range?

3-7 ohms

Go to Step 5

Go to Step 4

4

Does the resistance measure greater than the specified value?

7 ohms

Go to Step 9

Go to Step 10

5

Measure the resistance from terminal C of the J 44152 to the transmission case.

Refer to Automatic Transmission Inline Harness Connector End View .

Does the resistance measure greater than the specified value?

250 K ohms

Go to Step 6

Go to Step 11

6

  1. Disconnect the J 44152 from the transmission side of the AT inline 20-way connector.
  2. Reconnect the transmission AT inline 20-way connector.
  3. Disconnect the VCM connector C3.
  4. Measure the resistance between VCM connector terminal C3-6 and terminal C3-16.

Does the resistance measure within the specified range?

3-7 ohms

Go to Step 8

Go to Step 7

7

Does the resistance measure greater than the specified value?

7 ohms

Go to Step 12

Go to Step 13

8

Using the J 39200 DMM and the J 35616 , measure the resistance from VCM connector terminal C3-6 to ground.

Does the resistance measure greater than the specified value?

250 K ohms

Go to Step 17

Go to Step 14

9

Test the controlled power feed circuit (CKT 1228) and the controlled ground circuit (CKT 1229) of the PC solenoid for an open between the AT inline 20-way connector and the PC solenoid.

Refer to Circuit Testing in Wiring Systems.

Did you find an open condition?

--

Go to Step 16

Go to Step 15

10

Test the controlled power feed circuit (CKT 1228) and the controlled ground circuit (CKT 1229) of the PC solenoid for a shorted together condition between the AT inline 20-way connector and the PC solenoid.

Refer to Circuit Testing in Wiring Systems.

Did you find a shorted together condition?

--

Go to Step 16

Go to Step 15

11

Test the controlled power feed circuit (CKT 1228) and the controlled ground circuit (CKT 1229) of the PC solenoid for a short to ground between the AT inline 20-way connector and the PC solenoid.

Refer to Circuit Testing in Wiring Systems.

Did you find a short to ground condition?

--

Go to Step 16

Go to Step 15

12

Test the controlled power feed circuit (CKT 1228) and the controlled ground circuit (CKT 1229) of the PC solenoid for an open between the VCM connector C3 and the AT inline 20-way connector.

Refer to Circuit Testing and Wiring Repairs in Wiring Systems.

Did you find and correct the condition?

--

Go to Step 18

--

13

Test the controlled power feed circuit (CKT 1228) and the controlled ground circuit (CKT 1229) of the PC solenoid for a shorted together condition between the VCM connector C3 and the AT inline 20-way connector.

Refer to Circuit Testing and Wiring Repairs in Wiring Systems.

Did you find and correct the condition?

--

Go to Step 18

--

14

Test the controlled power feed circuit (CKT 1228) and the controlled ground circuit (CKT 1229) of the PC solenoid for a short to ground between the VCM connector C3 and the AT inline 20-way connector.

Refer to Circuit Testing and Wiring Repairs in Wiring Systems.

Did you find and correct the condition?

--

Go to Step 18

--

15

Replace the PC solenoid valve.

Refer to Valve Body .

Did you complete the replacement?

--

Go to Step 18

--

16

Replace the AT wiring harness assembly.

Refer to Valve Body .

Did you complete the replacement?

--

Go to Step 18

--

17

Replace the VCM.

Refer to VCM Replacement/Programming in Engine Controls.

Did you complete the replacement?

--

Go to Step 18

--

18

Perform the following procedure in order to verify the repair:

  1. Select DTC.
  2. Select Clear Info.
  3. Start the engine and ensure that the following condition is met:
  4. The difference between the Scan Tool PC Sol. Actual Current and the PC Sol. Ref. Current is less than 0.16 amp.

  5. Select Specific DTC.
  6. Enter DTC P0748.

Has the test run and passed?

--

System OK

Go to Step 1

DTC P0748 Pressure Control Solenoid Circuit Electrical 4.8L and 5.3L


Object Number: 525090  Size: MF
Automatic Transmission Components
Automatic Transmission Controls Schematics 4.8L, 5.3L
OBD II Symbol Description Notice
Handling ESD Sensitive Parts Notice

Circuit Description

The pressure control (PC) solenoid valve is an electronic device that regulates transmission line pressure based on the current flow through its coil winding. The magnetic field produced by the coil moves the solenoid's internal valve which varies pressure to the pressure regulator valve. The powertrain control module (PCM) controls the PC solenoid valve by applying a varying amount of amperage to the solenoid. The applied amperage can vary from 0.1 to 1.1 amps. Low amperage (0.1 amp) indicates high line pressure. High amperage (1.1 amps) indicates low line pressure. The duty cycle of the PC solenoid valve is expressed as a percentage of energized ON time. Zero percent indicates zero ON time (non-energized) or no current flow. Approximately 60% at idle indicates maximum ON time (energized) or high current flow. The PCM determines the appropriate line pressure for a given load by comparing the throttle position (TP) voltage, the engine speed and other inputs.

When the PCM detects a continuous open or short in the PC solenoid valve circuit, then DTC P0748 sets. DTC P0748 is a type C DTC.

Conditions for Running the DTC

    • The system voltage is 8-18 volts.
    • The engine is running.

Conditions for Setting the DTC

The PC solenoid valve duty cycle reaches its high limit (approximately 95%) or low limit (approximately 0%).

Action Taken When the DTC Sets

    • The PCM does not illuminate the malfunction indicator lamp (MIL).
    • The PC solenoid valve is OFF.
    • The PCM freezes shift adapts from being updated.
    • The PCM records the operating conditions when the Conditions for Setting the DTC are met. The PCM stores this information as Failure Records.
    • The PCM stores DTC P0748 in PCM history.

Conditions for Clearing the DTC

    • A scan tool can clear the DTC.
    • The PCM clears the DTC from PCM history if the vehicle completes 40 warm-up cycles without a non-emission-related diagnostic fault occurring.
    • The PCM cancels the DTC default actions when the fault no longer exists and/or the ignition switch is OFF long enough in order to power down the PCM.

Diagnostic Aids

    • Inspect the connectors at the PCM, the PC solenoid and all other circuit connecting points for an intermittent condition. Refer to Testing for Intermittent Conditions and Poor Connections in Wiring Systems.
    • Inspect the circuit wiring for an intermittent condition. Refer to Testing for Electrical Intermittents in Wiring Systems.
    • DTC P0748 may set under low voltage conditions caused by high electrical system demands.

Test Description

The numbers below refer to the step numbers on the diagnostic table.

  1. This step tests the ability of the PCM to command the PC solenoid valve.

  2. This step tests the PC solenoid valve and automatic transmission (AT) wiring harness assembly for incorrect resistance.

DTC P0748 PC Solenoid Circuit Electrical (4.8L and 5.3L)

Step

Action

Value(s)

Yes

No

1

Did you perform the Powertrain Diagnostic System Check?

--

Go to Step 2

Go to Powertrain On Board Diagnostic (OBD) System Check (4.8L/5.3L) in Engine Controls

2

  1. Install a Scan Tool .
  2. Turn ON the ignition, with the engine OFF.
  3. Important: Before clearing the DTC, use the Scan Tool in order to record the Failure Records. Using the Clear Info function erases the Failure Records from the PCM.

  4. Record the DTC Failure Records.
  5. Clear the DTC.
  6. Start the engine.
  7. Use the Scan Tool in order to command 0.1 amp through 1.0 amp while observing PC Sol. Ref. Current and PC Sol. Actual Current.

Is the PC Sol. Actual Current always within the specified value of the PC Sol. Ref. Current?

0.16 amp

Go to Diagnostic Aids

Go to Step 3

3

  1. Turn OFF the ignition.
  2. Disconnect the AT inline 20-way connector.
  3. Install the J 44152 jumper harness (20 pins) on the transmission side of the AT inline 20-way connector.
  4. Using the J 39200 digital multimeter (DMM) and the J 35616 connector test adapter kit, measure the resistance between terminals C and D of the J 44152 .
  5. Refer to Automatic Transmission Inline Harness Connector End View .

Does the resistance measure within the specified range?

3-7 ohms

Go to Step 5

Go to Step 4

4

Does the resistance measure greater than the specified value?

7 ohms

Go to Step 9

Go to Step 10

5

Measure the resistance from terminal C of the J 44152 to the transmission case.

Refer to Automatic Transmission Inline Harness Connector End View .

Does the resistance measure greater than the specified value?

250 K ohms

Go to Step 6

Go to Step 11

6

  1. Disconnect the J 44152 from the transmission side of the AT inline 20-way connector.
  2. Reconnect the transmission AT inline 20-way connector.
  3. Disconnect the PCM connector C2.
  4. Measure the resistance between PCM connector terminal C2-6 and terminal C2-8.

Does the resistance measure within the specified range?

3-7 ohms

Go to Step 8

Go to Step 7

7

Does the resistance measure greater than the specified value?

7 ohms

Go to Step 12

Go to Step 13

8

Using the J 39200 DMM and the J 35616 , measure the resistance from PCM connector terminal C2-6 to ground.

Does the resistance measure greater than the specified value?

250 K ohms

Go to Step 17

Go to Step 14

9

Test the controlled power feed circuit (CKT 1228) and the controlled ground circuit (CKT 1229) of the PC solenoid for an open between the AT inline 20-way connector and the PC solenoid.

Refer to Circuit Testing in Wiring Systems.

Did you find an open condition?

--

Go to Step 16

Go to Step 15

10

Test the controlled power feed circuit (CKT 1228) and the controlled ground circuit (CKT 1229) of the PC solenoid for a shorted together condition between the AT inline 20-way connector and the PC solenoid.

Refer to Circuit Testing in Wiring Systems.

Did you find a shorted together condition?

--

Go to Step 16

Go to Step 15

11

Test the controlled power feed circuit (CKT 1228) and the controlled ground circuit (CKT 1229) of the PC solenoid for a short to ground between the AT inline 20-way connector and the PC solenoid.

Refer to Circuit Testing in Wiring Systems.

Did you find a short to ground condition?

--

Go to Step 16

Go to Step 15

12

Test the controlled power feed circuit (CKT 1228) and the controlled ground circuit (CKT 1229) of the PC solenoid for an open between the PCM connector C2 and the AT inline 20-way connector.

Refer to Circuit Testing and Wiring Repairs in Wiring Systems.

Did you find and correct the condition?

--

Go to Step 18

--

13

Test the controlled power feed circuit (CKT 1228) and the controlled ground circuit (CKT 1229) of the PC solenoid for a shorted together condition between the PCM connector C2 and the AT inline 20-way connector.

Refer to Circuit Testing and Wiring Repairs in Wiring Systems.

Did you find and correct the condition?

--

Go to Step 18

--

14

Test the controlled power feed circuit (CKT 1228) and the controlled ground circuit (CKT 1229) of the PC solenoid for a short to ground between the PCM connector C2 and the AT inline 20-way connector.

Refer to Circuit Testing and Wiring Repairs in Wiring Systems.

Did you find and correct the condition?

--

Go to Step 18

--

15

Replace the PC solenoid valve.

Refer to Valve Body .

Did you complete the replacement?

--

Go to Step 18

--

16

Replace the AT wiring harness assembly.

Refer to Valve Body .

Did you complete the replacement?

--

Go to Step 18

--

17

Replace the PCM.

Refer to Powertrain Control Module Replacement in Engine Controls.

Did you complete the replacement?

--

Go to Step 18

--

18

Perform the following procedure in order to verify the repair:

  1. Select DTC.
  2. Select Clear Info.
  3. Start the engine and ensure that the following condition is met:
  4. The difference between the Scan Tool PC Sol. Actual Current and the PC Sol. Ref. Current is less than 0.16 amp.

  5. Select Specific DTC.
  6. Enter DTC P0748.

Has the test run and passed?

--

System OK

Go to Step 1