GM Service Manual Online
For 1990-2009 cars only

Removal Procedure

  1. Remove the turbocharger assembly. Refer to Turbocharger Replacement .
  2. Disconnect the wire terminal from the intake air heater.
  3. Remove the following fuel pipes and wiring harnesses:
  4. • The main fuel pipes refer to Metal Collar Quick Connect Fitting Service in Engine Controls - 6.6 L.
    • The function block refer to Fuel Junction Block Replacement in Engine Controls - 6.6 L.
    • The fuel hoses to the fuel injection control module (FICM) and the FICM wiring harness refer to Fuel Injector Control Module Replacement in Engine Controls - 6.6 L.
    • The fuel pipes to the left fuel rail refer to Fuel Injection Fuel Rail Assembly Replacement - Bank 2 in Engine Controls - 6.6 L.

    Object Number: 654548  Size: SH
  5. Remove the 2 bolts and the 2 nuts retaining the intake manifold tube from both intake manifolds.
  6. Pull-up to remove the intake manifold tube and the 2 gaskets.
  7. Remove and discard the gaskets.
  8. Remove the intake air heater from the intake manifold tube if replacing the tube.
  9. Clean the intake manifold tube in cleaning solvent and air dry.

Installation Procedure


    Object Number: 654548  Size: SH

    Notice: Use the correct fastener in the correct location. Replacement fasteners must be the correct part number for that application. Fasteners requiring replacement or fasteners requiring the use of thread locking compound or sealant are identified in the service procedure. Do not use paints, lubricants, or corrosion inhibitors on fasteners or fastener joint surfaces unless specified. These coatings affect fastener torque and joint clamping force and may damage the fastener. Use the correct tightening sequence and specifications when installing fasteners in order to avoid damage to parts and systems.

  1. Install the intake air heater, if removed.
  2. Tighten
    Tighten the intake heater to 50 N·m (37 lb ft).

  3. Install the intake manifold tube with 2 NEW gaskets to the intake manifolds.

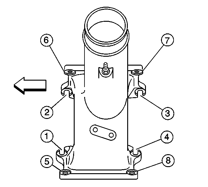
  4. Object Number: 654547  Size: SH
  5. Install the intake manifold tube bolts and nuts.
  6. Tighten
    Tighten the intake manifold tube bolts and nuts to 9 N·m (80 lb in) in the numerical order.

  7. Install the following fuel pipes and wiring harnesses:
  8. • The main fuel pipes refer to Metal Collar Quick Connect Fitting Service in Engine Controls - 6.6 L.
    • The function block refer to Fuel Junction Block Replacement in Engine Controls - 6.6 L.
    • The fuel hoses to the fuel injection control module (FICM) and the FICM wiring harness refer to Fuel Injector Control Module Replacement in Engine Controls - 6.6 L.
    • The fuel pipes to the left fuel rail refer to Fuel Injection Fuel Rail Assembly Replacement - Bank 2 in Engine Controls - 6.6 L.
  9. Install the intake air heater terminal and nut.
  10. Tighten
    Tighten the terminal nut to 4 N·m (35 lb in).

  11. Install the turbocharger assembly. Refer to Turbocharger Replacement .