GM Service Manual Online
For 1990-2009 cars only
Table 1: Fuel Injection Control Module Connector - C1
Table 2: Fuel Injection Control Module Connector - C2

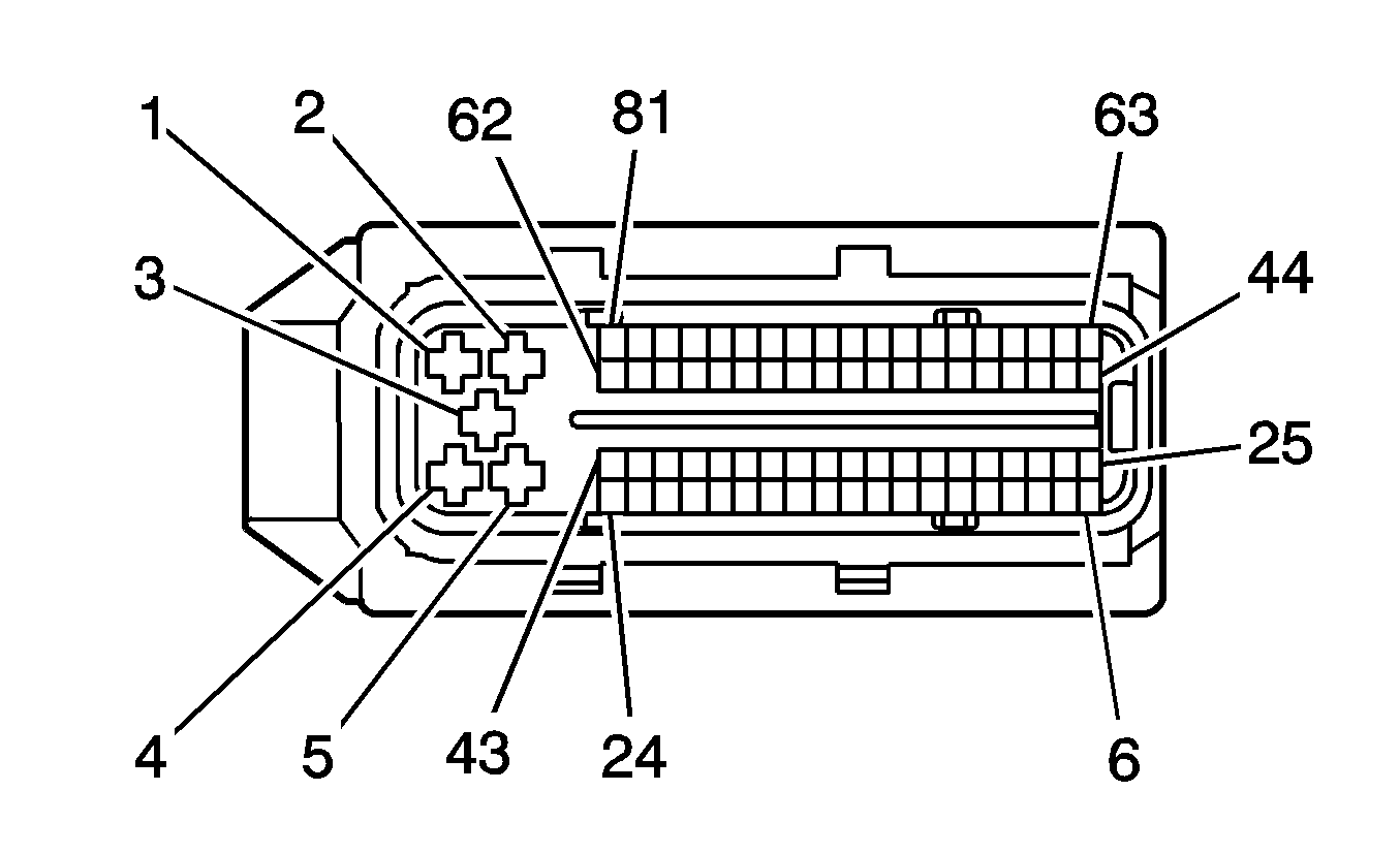
Fuel Injection Control Module Connector - C1


Object Number: 743315  Size: CH

Connector Part Information

    • 1928403454
    • 81 Way F Bosch Series (BLK)

Pin

Wire Color

Circuit No.

Function

1

LT GRN/WHT

--

Fuel Injector # 4 Command

2

BLK

--

Ground

3

ORN/BLK

--

Fuel Injectors 1,4,6,7 - Ignition Positive Voltage

4

LT GRN/RED

--

Fuel Injector # 1 Command

5

PNK

1239

Ignition Positive Voltage

6  43

--

--

Not Used

44

LT BLU/BLK

844

Fuel Injector # 4 Control

45

BLK/WHT

845

Fuel Injector # 5 Control

46

--

--

Not Used

47

PNK/BLK

1746

Fuel Injector # 3 Control

48

RED/BLK

877

Fuel Injector # 7 Control

49  58

--

--

Not Used

59

LT GRN/PPL

--

Fuel Injector # 6 Command

60

LT GRN/PPL

--

Fuel Injector # 6 Command

61

LT GRN/ORN

--

Fuel Injector # 7 Command

62

LT GRN/ORN

--

Fuel Injector # 7 Command

63

DK BLU/WHT

878

Fuel Injector # 8 Control

64

YEL/BLK

846

Fuel Injector # 6 Control

65

--

--

Not Used

66

BLK

1744

Fuel Injector # 1 Control

67

LT GRN/BLK

1745

Fuel Injector # 2 Control

68  81

--

--

Not Used

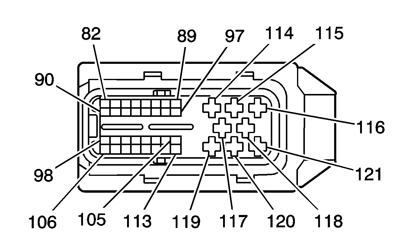
Fuel Injection Control Module Connector - C2


Object Number: 743317  Size: CH

Connector Part Information

    • 1928403462
    • 40 Way F Bosch Series (BLK)

Pin

Wire Color

Circuit No.

Function

82  89

--

--

Not Used

90

DRK GRN

2362

CAN Serial Data Low

91

YEL

2361

CAN Serial Data High

92  93

--

--

Not Used

94

LT BLU

2832

Engine Speed Signal

95  113

--

--

Not Used

114

BLK/LT GRN

--

Ground

115

LT GRN/BLK

--

Fuel Injector # 3 Command

116

LT GRN/RED

--

Fuel Injector # 5 Command

117

--

--

Not Used

118

ORN/WHT

--

Fuel Injectors 2,3,5,8 - Ignition Positive Voltage

119

PNK

1239

Ignition Positive Voltage

120

LT GRN/BLU

--

Fuel Injector # 8 Command

121

LT GRN

--

Fuel Injector # 2 Command