GM Service Manual Online
For 1990-2009 cars only

Fuel Tank Replacement Cab-Chassis Primary Tank

Removal Procedure


    Object Number: 667724  Size: SH
  1. Drain the fuel tank. Refer to Fuel Tank Draining .
  2. Raise the vehicle. Refer to Lifting and Jacking the Vehicle in General Information.
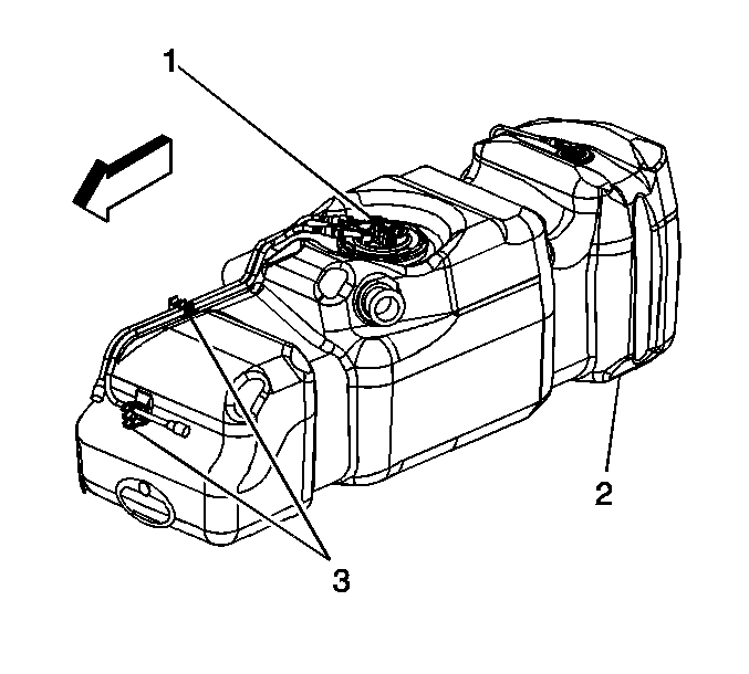
  3. Remove the fuel tank shield (1).

  4. Object Number: 667876  Size: SH
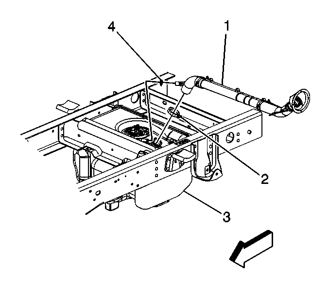
  5. Disconnect the fuel fill (2) and vent (1) pipes from the fuel tank.
  6. Support the fuel tank, with the aid of an assistant.
  7. Notice: Do not bend the fuel tank straps. Bending the fuel tank straps may damage the straps.


    Object Number: 667731  Size: SH
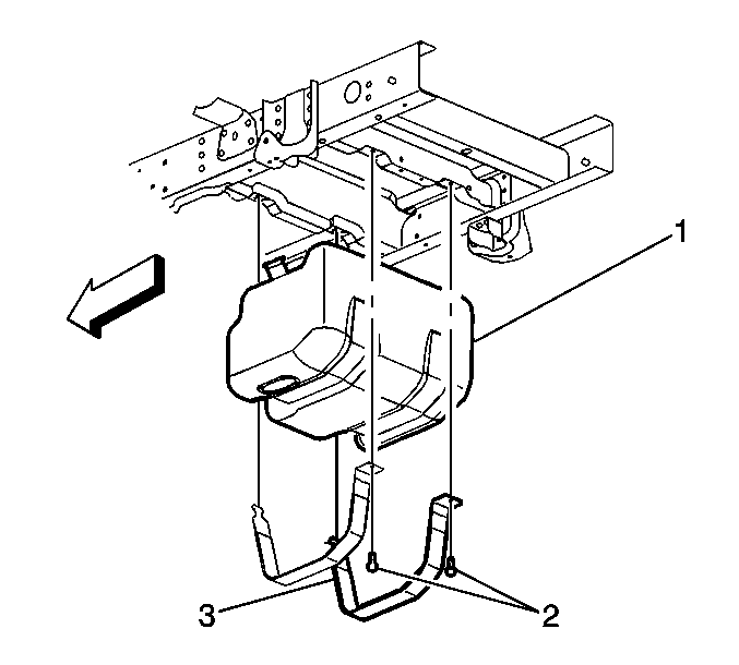
  8. Remove the fuel tank strap attaching bolts.
  9. Remove the fuel tank straps (1).
  10. Lower the fuel tank slightly.
  11. Disconnect the fuel pipes from the fuel sender. Refer to Metal Collar Quick Connect Fitting Service .
  12. If equipped with an auxiliary fuel tank disconnect the rear chassis balance pipes.
  13. Disconnect the fuel sender harness connector.
  14. Remove the fuel tank.
  15. Place the fuel tank in a suitable work area.
  16. Cap the fuel pipes on the vehicle in order to prevent possible fuel system contamination.
  17. Remove the fuel sender assembly from the fuel tank. Refer to Fuel Sender Assembly Replacement .

Installation Procedure


    Object Number: 667731  Size: SH
  1. Install the fuel sender assembly to the fuel tank. Refer to Fuel Sender Assembly Replacement .
  2. Remove the caps from the fuel pipes.
  3. Support and partially raise the fuel tank, with the aid of an assistant.
  4. Connect the fuel sender harness connector.
  5. If equipped with an auxiliary fuel tank connect the rear chassis balance pipes.
  6. Connect the fuel pipes to the fuel sending unit. Refer to Metal Collar Quick Connect Fitting Service .
  7. Fully raise the fuel tank.
  8. Notice: Use the correct fastener in the correct location. Replacement fasteners must be the correct part number for that application. Fasteners requiring replacement or fasteners requiring the use of thread locking compound or sealant are identified in the service procedure. Do not use paints, lubricants, or corrosion inhibitors on fasteners or fastener joint surfaces unless specified. These coatings affect fastener torque and joint clamping force and may damage the fastener. Use the correct tightening sequence and specifications when installing fasteners in order to avoid damage to parts and systems.

  9. Install the fuel tank straps (1).
  10. Tighten
    Tighten the fuel tank strap attaching bolts to 40 N·m (30 lb ft).


    Object Number: 667876  Size: SH
  11. Connect the fuel fill (2) and vent (1) pipes to the fuel tank.
  12. Tighten
    Tighten the hose clamps to 2.5 N·m (22 lb in).


    Object Number: 667724  Size: SH
  13. Install the fuel tank shield (1).
  14. Lower the vehicle.
  15. Refill the fuel tank.
  16. Install the fuel filler cap.
  17. Connect the negative battery cable. Refer to Battery Negative Cable Disconnection and Connection in Engine Electrical.
  18. Prime the fuel system. Refer to Fuel Feed Pipe and Return Pipe Purging .
  19. Start the engine and test for fuel leaks.

Fuel Tank Replacement Cab-Chassis Auxilary Tank

Removal Procedure


    Object Number: 667863  Size: SH
  1. Drain the fuel tank. Refer to Fuel Tank Draining .
  2. Raise the vehicle. Refer to Lifting and Jacking the Vehicle in General Information.
  3. Remove the fuel tank shield (2).

  4. Object Number: 667878  Size: SH
  5. Disconnect the fuel fill (1) and vent (4) pipes from the fuel tank.

  6. Object Number: 667869  Size: SH
  7. Support the fuel tank, with the aid of an assistant.
  8. Notice: Do not bend the fuel tank straps. Bending the fuel tank straps may damage the straps.

  9. Remove the fuel tank strap attaching bolts (2).
  10. Remove the fuel tank straps (3).
  11. Lower the fuel tank slightly.
  12. Disconnect the fuel pipes from the fuel sender. Refer to Metal Collar Quick Connect Fitting Service .
  13. Disconnect the fuel sender harness connector.
  14. Remove the fuel tank.
  15. Place the fuel tank in a suitable work area.
  16. Cap the fuel pipes in order to prevent possible fuel system contamination.
  17. Remove the fuel sender assembly from the fuel tank. Refer to Fuel Sender Assembly Replacement .

Installation Procedure


    Object Number: 667869  Size: SH
  1. Install the fuel sender assembly to the fuel tank. Refer to Fuel Sender Assembly Replacement .
  2. Remove the caps from the fuel pipes.
  3. Support and partially raise the fuel tank, with the aid of an assistant.
  4. Connect the fuel sender harness connector.
  5. Connect the fuel pipes to the fuel sender. Refer to Metal Collar Quick Connect Fitting Service .
  6. Fully raise the fuel tank.
  7. Notice: Use the correct fastener in the correct location. Replacement fasteners must be the correct part number for that application. Fasteners requiring replacement or fasteners requiring the use of thread locking compound or sealant are identified in the service procedure. Do not use paints, lubricants, or corrosion inhibitors on fasteners or fastener joint surfaces unless specified. These coatings affect fastener torque and joint clamping force and may damage the fastener. Use the correct tightening sequence and specifications when installing fasteners in order to avoid damage to parts and systems.

  8. Install the fuel tank straps (3).
  9. Tighten
    Tighten the fuel tank strap attaching bolts (2) to 40 N·m (30 lb ft).


    Object Number: 667878  Size: SH
  10. Connect the fuel fill (1) and vent (4) pipes to the fuel tank.
  11. Tighten
    Tighten the hose clamps to 2.5 N·m (22 lb in).


    Object Number: 667863  Size: SH
  12. Install the fuel tank shield (2).
  13. Lower the vehicle.
  14. Fill the fuel tank.
  15. Install the fuel filler cap.
  16. Install the negative battery cable. Refer to Battery Negative Cable Disconnection and Connection in Engine Electrical.
  17. Command the fuel transfer pump on with a scan tool .
  18. Test for fuel leaks.

Fuel Tank Replacement Pickup

Removal Procedure

  1. Drain the fuel tank. Refer to Fuel Tank Draining .
  2. Raise the vehicle. Refer to Lifting and Jacking the Vehicle in General Information.
  3. Disconnect the fuel fill hose from the fuel tank.

  4. Object Number: 737642  Size: SH
  5. Remove the fuel system cooler (1). Refer to Fuel Cooler Replacement .
  6. Disconnect the rear fuel return pipe and the rear fuel feed pipe at the chassis fuel pipes. Refer to Metal Collar Quick Connect Fitting Service .

  7. Cap the fuel pipes in order to prevent possible fuel system contamination.
  8. Disconnect the fuel sender electrical connector.

  9. Object Number: 626413  Size: SH
  10. Remove the fuel tank shield.

  11. Object Number: 300138  Size: SH
  12. With the aid of an assistant, support the fuel tank.
  13. Notice: Do not bend the fuel tank straps. Bending the fuel tank straps may damage the straps.

  14. Remove the fuel tank strap attaching bolts.
  15. Remove the fuel tank straps.
  16. Remove the fuel tank.
  17. Place the fuel tank in a suitable work area.

  18. Object Number: 738174  Size: SH
  19. Remove the fuel feed pipe and the fuel return pipe from the fuel sender (1) and the retaining clips (3). Refer to Fuel Hose/Pipes Assembly Replacement .
  20. Remove the fuel sender assembly from the fuel tank. Refer to Fuel Sender Assembly Replacement .

Installation Procedure

  1. Install the fuel sender assembly to the fuel tank. Refer to Fuel Sender Assembly Replacement .

  2. Object Number: 738174  Size: SH
  3. Connect the fuel feed pipe and the fuel return pipe to the fuel sender (1) and the retaining clips (3). Refer to Fuel Hose/Pipes Assembly Replacement .

  4. Object Number: 300138  Size: SH
  5. With the aid of an assistant, position and support the fuel tank.
  6. Notice: Use the correct fastener in the correct location. Replacement fasteners must be the correct part number for that application. Fasteners requiring replacement or fasteners requiring the use of thread locking compound or sealant are identified in the service procedure. Do not use paints, lubricants, or corrosion inhibitors on fasteners or fastener joint surfaces unless specified. These coatings affect fastener torque and joint clamping force and may damage the fastener. Use the correct tightening sequence and specifications when installing fasteners in order to avoid damage to parts and systems.

  7. Install the fuel tank straps.
  8. Tighten
    Tighten the fuel tank strap attaching bolts to 40 N·m (30 lb ft).


    Object Number: 626414  Size: SH
  9. Install the fuel tank shield to the fuel tank clips.

  10. Object Number: 626413  Size: SH
  11. Install the fuel tank shield to frame bolts.
  12. Tighten
    Tighten the bolts to 18 N·m (13 lb ft).

  13. Connect the fuel sender harness connector.

  14. Object Number: 737642  Size: SH
  15. Remove the caps from the fuel pipes.
  16. Connect the rear fuel return pipe and the rear fuel feed pipe at the chassis fuel pipes. Refer to Metal Collar Quick Connect Fitting Service .
  17. Install the fuel system cooler (1). Refer to Fuel Cooler Replacement .
  18. Connect the fuel fill pipe ground strap.
  19. Tighten
    Tighten the fuel fill pipe ground strap bolt to 9 N·m (80 lb in)

  20. Connect the fuel fill pipe to the fuel tank.
  21. Lower the vehicle.
  22. Fill the fuel tank.
  23. Install the fuel filler cap.
  24. Connect the negative battery cable. Refer to Battery Negative Cable Disconnection and Connection in Engine Electrical.
  25. Prime the fuel system. Refer to Fuel Feed Pipe and Return Pipe Purging .
  26. Start the engine and test for fuel leaks.