GM Service Manual Online
For 1990-2009 cars only
Makes
🢒
Chevrolet
🢒
2001
🢒
Chevy C Silverado - 2WD
🢒
Suspension
🢒
Selectable Ride
🢒 Suspension Controls Component Views
Figure
1:
Center of the I/P -- Accessory Switches (Selectable Ride)
(1)
Instrument Panel
(2)
Selectable Ride Switch
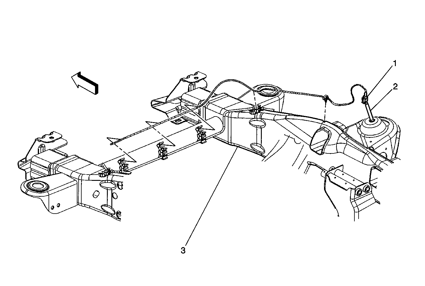
Figure
2:
RF of the Frame Components (Selectable Ride)
(1)
RH Front Selectable Ride Electrical Connector
(2)
RH Front Selectable Ride Shock
(3)
RH Frame Rail