GM Service Manual Online
For 1990-2009 cars only
Makes
🢒
Chevrolet
🢒
2001
🢒
Chevy C Silverado - 2WD
🢒
Driveline/Axle
🢒
Propeller Shaft
🢒 Center Bearing Replacement
Removal Procedure
Raise the vehicle. Refer to
Lifting and Jacking the Vehicle
in General Information.
Remove the propeller shaft. Refer to
Two-Piece Propeller Shaft Replacement
.
Remove the center bearing by doing the following:
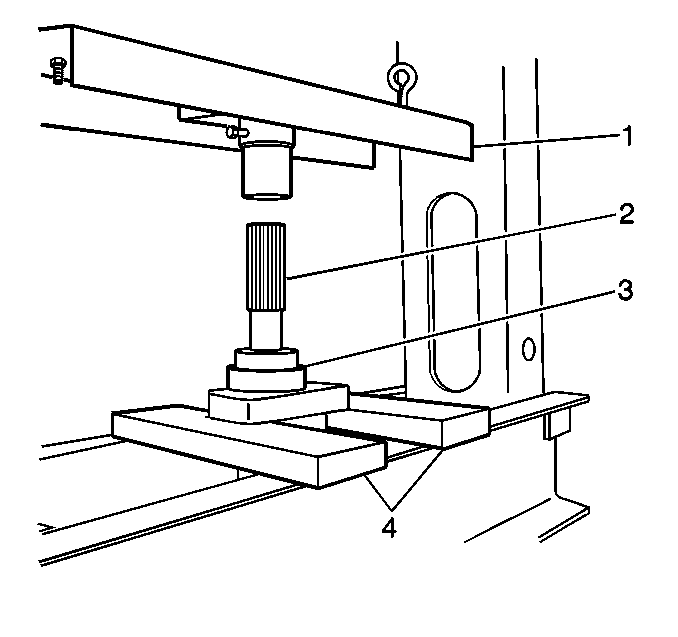
3.1.
Stand the propeller shaft (2) on end in the press (1) with the center bearing (3) supported by the press bars (4).
3.2.
Press the propeller shaft (2) down and off the center bearing (3).
Installation Procedure
Install the center bearing (3) onto the propeller shaft (2) by pressing the center bearing onto the shaft using a press (1).
Install the propeller shaft. Refer to
Two-Piece Propeller Shaft Replacement
.
Lower the vehicle.