GM Service Manual Online
For 1990-2009 cars only

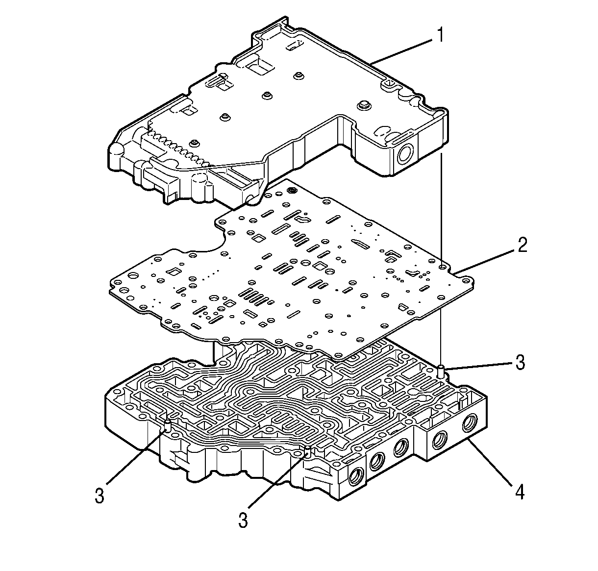
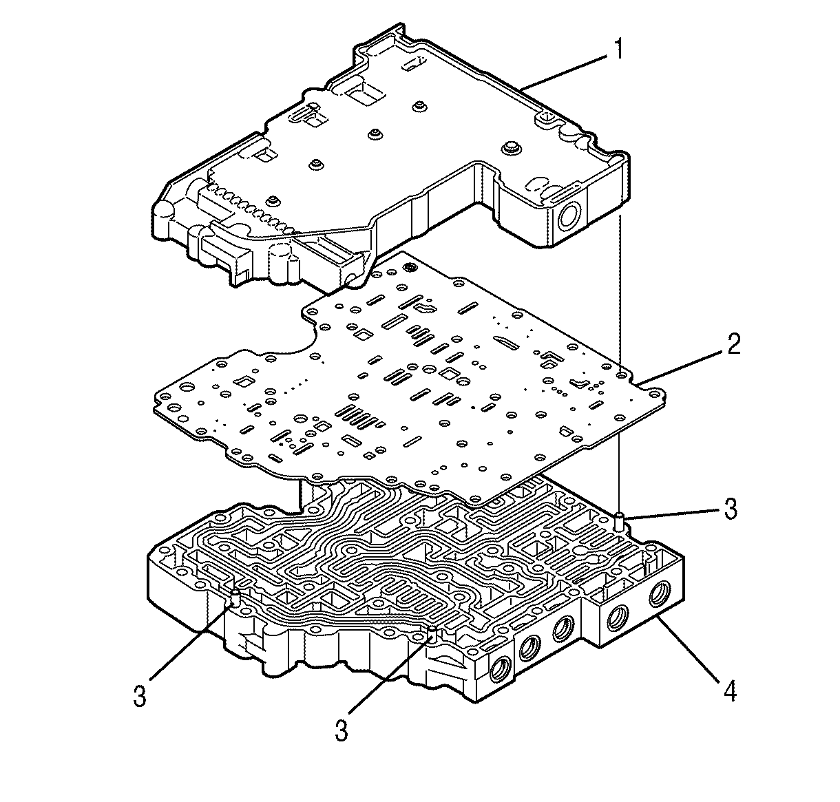
Control Valve Body Disassemble Disassembly of Control Valve Assembly

Disassembly of Control Valve Assembly

Tools Required

J 33163 Valve Tray Set

    Notice: Refer to Transmission Control Valve Body Overhaul Notice in the Preface section.


    Object Number: 795110  Size: SH
  1. Position the control valve body assembly on the work table so that the main valve body assembly is facing up.
  2. Remove the six bolts (1) and one bolt (2), holding the reverse signal tube and pressure switch assembly to the main valve body.

  3. Object Number: 1185301  Size: SH
  4. Remove reverse signal tube (2) from main valve body (3).
  5. Remove pressure switch assembly (1) from main valve body (3).

  6. Object Number: 795114  Size: SH
  7. Remove F trim solenoid retainer (1).
  8. Remove F trim solenoid (7), sleeve (4), valve (3), and spring (2).

  9. Object Number: 795117  Size: SH
  10. Remove D ON/OFF shift solenoid retainer (1).
  11. Remove D ON/OFF shift solenoid (4).
  12. Remove O-rings (2,3) from D ON/OFF shift solenoid (4).

  13. Object Number: 795118  Size: SH
  14. Remove E ON/OFF shift solenoid retainer (1).
  15. Remove E ON/OFF shift solenoid (4).
  16. Remove O-rings (2,3) from E ON/OFF shift solenoid (4).

  17. Object Number: 795119  Size: SH
  18. Remove three bolts (1) holding A/B solenoid bracket (2) to main valve body (3).

  19. Object Number: 795140  Size: SH
  20. Remove A/B solenoid bracket (1), two accumulator springs (2), and two accumulator plugs (3).
  21. Remove A trim solenoid (15), valve (13), spring (12) if present, valve (11), and spring (10).
  22. Remove O-ring (14) from A trim solenoid (15).
  23. Remove B trim solenoid (9), valve (7), valve (6), and spring (5).
  24. Remove O-ring (8) from B trim solenoid (9).

  25. Object Number: 795143  Size: SH

    Notice: Do not damage the solenoid(s) when turning over the control valve assembly.

  26. Position the control valve assembly on the work table so that shift valve body (1) is facing up.
  27. Remove C ON/OFF shift solenoid retainer (2).
  28. Remove C ON/OFF shift solenoid (5).
  29. Remove O-rings (3,4) from C ON/OFF shift solenoid (5).

  30. Object Number: 795146  Size: SH
  31. Position the control valve assembly on the work table so that the main valve body is facing up.
  32. Remove fourteen bolts (1) holding the shift valve body to the main valve body.
  33. Position the control valve assembly on the work table so that the assembly is on edge (sideways).
  34. Reinstall four bolts (1) so that the bolts are partially threaded into the shift valve body and protrude from the main valve body.
  35. Gently tap on the bolts until the assembly separates.

  36. Object Number: 1196004  Size: SH
  37. Position the control valve assembly on the work table so that shift valve body (1) is facing up.
  38. Remove shift valve body assembly (1) and separator plate (2).

Disassembly of Shift Valve Body

Tools Required

    • J 33163 Valve Tray Set
    • J 43773 Valve Spring Compressor

    Object Number: 795162  Size: SH
  1. Using tool J 43773 (2) , compress the C shift valve spring until retaining clip (1) is loose. Remove retaining clip (1).

  2. Object Number: 795163  Size: SH
  3. Remove spring (2) and C shift valve (1).

  4. Object Number: 795164  Size: SH
  5. Using tool J 43773 (2), compress the E shift valve spring until retaining clip (1) is loose. Remove retaining clip (1).

  6. Object Number: 1185301  Size: SH
  7. Remove plug (3), spring (2), and E shift valve (1).

  8. Object Number: 795169  Size: SH
  9. Using tool J 43773 (2), compress the D shift valve spring until retaining clip (1) is loose. Remove retaining clip (1).

  10. Object Number: 795170  Size: SH
  11. 707170
  12. Remove plug (3), spring (2), and D shift valve (1).


    Object Number: 795171  Size: SH
  13. Using tool J 43773 (2), compress the control main valve spring until retaining clip (1) is loose. Remove retaining clip (1).

  14. Object Number: 795173  Size: SH
  15. Remove spring (2) and control main valve (1).

  16. Object Number: 795175  Size: SH
  17. Remove solenoid screen (1).

Disassembly of Main Valve Body

Tools Required

    • J 33163 Valve Tray Set
    • J 43773 Valve Spring Compressor

    Object Number: 795154  Size: SH
  1. Using tool J 43773 (2), compress the control relief spring until retaining clip (1) is loose. Remove retaining clip (1).

  2. Object Number: 795156  Size: SH
  3. Remove spring (2) and control relief valve (1).

  4. Object Number: 795159  Size: SH
  5. Using tool J 43773 , compress the exhaust backfill spring until retaining clip (1) is loose. Remove retaining clip (1).

  6. Object Number: 795161  Size: SH
  7. Remove spring (2) and backfill exhaust valve (1).