GM Service Manual Online
For 1990-2009 cars only
Table 1: A/C Compressor Clutch
Table 2: A/C High Pressure Switch
Table 3: A/C High Pressure Switch (Diesel)
Table 4: A/C Low Pressure Switch (ALL)
Table 5: A/C High Pressure Recirculation Switch
Table 6: Air Temperature Actuator
Table 7: Air Temperature Actuator - Auxiliary
Table 8: Air Temperature Actuator - Auxiliary (Manual Air Delivery)
Table 9: Air Temperature Sensor Assembly - Inside (Over Head )
Table 10: Air Temperature Sensor - Lower
Table 11: Air Temperature Sensor - Lower Auxiliary
Table 12: Ambient Air Temperature Sensor
Table 13: Air Temperature Sensor - Upper
Table 14: Air Temperature Sensor - Upper Auxiliary
Table 15: Blower Motor
Table 16: Blower Motor - Auxiliary
Table 17: Blower Motor Control Processor
Table 18: Blower Motor Control Processor - Auxiliary
Table 19: Blower Motor Resistor Assembly - Auxiliary - C1
Table 20: Blower Motor Resistor Assembly - Auxiliary - C2
Table 21: HVAC Control Module
Table 22: HVAC Control Assembly - Front Auxiliary (w/Sunroof)
Table 23: HVAC Control Assembly - Front Auxiliary ( w/o Sunroof - Suburban/Yukon XL)
Table 24: HVAC Control Assembly - Rear Auxiliary
Table 25: HVAC Control Processor - Auxiliary
Table 26: Mode Actuator
Table 27: Mode Actuator - Auxiliary
Table 28: Mode Actuator - Auxiliary (Manual Air Delivery)
Table 29: Recirculation Actuator
Table 30: Sunload Sensor

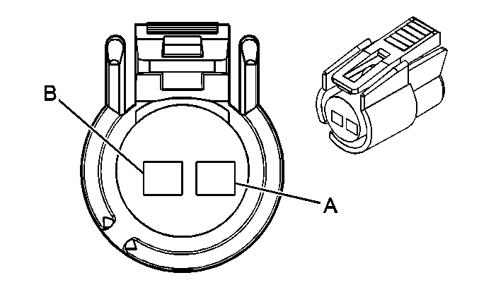
A/C Compressor Clutch


Object Number: 280759  Size: CH

Connector Part Information

    • 12162017
    • 2-Way F Metri-Pack 150 Series (MD GRY)

Pin

Wire Color

Circuit No.

Function

A

BLK

550

Ground

B

DK GRN

59

A/C Compressor Clutch Supply Voltage

A/C High Pressure Switch


Object Number: 366093  Size: CH

Connector Part Information

    • 15317968
    • 2-Way F Micro-Pack 100 W Series (BLK)

Pin

Wire Color

Circuit No.

Function

A

LT BLU

203

A/C Request Signal

B

DK GRN/WHT

2523

A/C Request Signal

A/C High Pressure Switch (Diesel)


Object Number: 684869  Size: CH

Connector Part Information

    • 12186386
    • 2-Way F Micro-Pack 150 Series (BLK)

Pin

Wire Color

Circuit No.

Function

A

LT BLU

203

A/C Request Signal

B

DK GRN/WHT

2523

A/C Request Signal

A/C Low Pressure Switch (ALL)


Object Number: 35437  Size: CH

Connector Part Information

    • 12052644
    • 2-Way F Metri-Pack 150 Series (LT GRY)

Pin

Wire Color

Circuit No.

Function

A

DK GRN

603

A/C Low Pressure Switch Signal

B

BLK

550

Ground

A/C High Pressure Recirculation Switch


Object Number: 35437  Size: CH

Connector Part Information

    • 12124037
    • 2-Way F Metri-Pack 150 (BLK)

Pin

Wire Color

Circuit No.

Function

A

DK BLU

604

A/C Refrigerant High Pressure Cut-Out Switch Signal

B

BLK

150

Ground

Air Temperature Actuator


Object Number: 280764  Size: CH

Connector Part Information

    • 12064993
    • 6-Way F Micro-Pack 100 Series (BLK)

Pin

Wire Color

Circuit No.

Function

5

BRN

341

Ignition 3 Voltage

6

DK BLU

1199

Air Temperature Door Control

7

GRY/BLK

1798

Ground

8

--

--

Not Used

9

LT BLU

733

Air Temperature Door Position Signal

10

GRY

598

5 Volt Reference

Air Temperature Actuator - Auxiliary


Object Number: 280764  Size: CH

Connector Part Information

    • 12064993
    • 6-Way F Micro-Pack 100 Series (BLK)

Pin

Wire Color

Circuit No.

Function

5

BRN

541

Ignition 3 Voltage

6

WHT/BLK

1236

Auxiliary Air Temperature Door Control

7

GRY/BLK

1798

Ground

8

--

--

Not Used

9

DK BLU

1646

auxiliary Air Temperature Door Position Signal

10

GRY

598

5 Volt Reference

Air Temperature Actuator - Auxiliary (Manual Air Delivery)


Object Number: 280764  Size: CH

Connector Part Information

    • 12064993
    • 6-Way F Micro-Pack 100 Series (BLK)

Pin

Wire Color

Circuit No.

Function

5-6

--

--

Not Used

7

BLK

1450

Ground

8

WHT/BLK

1236

Auxiliary Air Temperature Door Control

9

--

--

Not Used

10

BRN

541

Ignition 3 Voltage

Air Temperature Sensor Assembly - Inside (Over Head )


Object Number: 130635  Size: CH

Connector Part Information

    • 12045813
    • 4-Way F Metri-Pack 150 (NAT)

Pin

Wire Color

Circuit No.

Function

A

DK GRN

734

Inside Air Temperature Sensor Signal

B

PNK

39

Ignition 1 Voltage

C

BLK

1850

Ground

D

BRN

718

Low Reference

Air Temperature Sensor - Lower


Object Number: 82383  Size: CH

Connector Part Information

    • 12047662
    • 2-Way F Metri-Pack 150 Series (BLK)

Pin

Wire Color

Circuit No.

Function

A

LT GRN

405

Lower Air Temperature Sensor Signal

B

BRN

718

Low Reference

Air Temperature Sensor - Lower Auxiliary


Object Number: 82383  Size: CH

Connector Part Information

    • 12047662
    • 2-Way F Metri-Pack 150 Series (BLK)

Pin

Wire Color

Circuit No.

Function

A

BLK

520

Lower Auxiliary Air Temperature Sensor Signal

B

BLK

808

Low Reference

Ambient Air Temperature Sensor


Object Number: 635009  Size: CH

Connector Part Information

    • 12052641
    • 2-Way F Metri-Pack 150 Series (BLK)

Pin

Wire Color

Circuit No.

Function

A

LT GRN/BLK

735

Ambient Air Temperature Sensor Signal

B

BRN

718

Low Reference

Air Temperature Sensor - Upper


Object Number: 82383  Size: CH

Connector Part Information

    • 12047662
    • 2-Way F Metri-Pack 150 Series (BLK)

Pin

Wire Color

Circuit No.

Function

A

BRN

404

Upper Air Temperature Sensor Signal

B

BRN

718

Low Reference

Air Temperature Sensor - Upper Auxiliary


Object Number: 82383  Size: CH

Connector Part Information

    • 12047662
    • 2-Way F Metri-Pack 150 Series (BLK)

Pin

Wire Color

Circuit No.

Function

A

TAN

517

Upper Auxiliary Air Temperature Sensor Signal

B

BLK

808

Low Reference

Blower Motor


Object Number: 62488  Size: CH

Connector Part Information

    • 12084957
    • 2-Way F Metri-Pack 280 Series (BLK)

Pin

Wire Color

Circuit No.

Function

A

PPL

65

Blower Motor Supply Voltage

B

BLK

1050

Ground

Blower Motor - Auxiliary


Object Number: 62488  Size: CH

Connector Part Information

    • 12084957
    • 2-Way F Metri-Pack 280 Series (BLK)

Pin

Wire Color

Circuit No.

Function

A

BLK

374

Blower Motor Supply Voltage

B

PPL

1450

Ground

Blower Motor Control Processor


Object Number: 68737  Size: CH

Connector Part Information

    • 12129489
    • 3-Way F Metri-Pack 280 Series (BLK)

Pin

Wire Color

Circuit No.

Function

A

BLK

1050

Ground

B

GRY/BLK

754

Blower Motor Speed Control

C

ORN

540

Battery Positive Voltage

Blower Motor Control Processor - Auxiliary


Object Number: 68737  Size: CH

Connector Part Information

    • 12129489
    • 3-Way F Metri-Pack 280 Series (BLK)

Pin

Wire Color

Circuit No.

Function

A

BLK

1450

Ground (Suburban/Yukon XL Only)

B

PPL

374

Auxiliary Blower Motor Speed Control (Suburban/Yukon XL Only)

C

ORN

1740

Battery Positive Voltage (Suburban/Yukon XL Only)

Blower Motor Resistor Assembly - Auxiliary - C1


Object Number: 68737  Size: CH

Connector Part Information

    • 12129489
    • 3-Way F Metri-Pack 280 Series Flexlock (BLK)

Pin

Wire Color

Circuit No.

Function

A

DK BLU

1926

Auxiliary Blower Motor Low Speed Control

B

RED

1925

Auxiliary Blower Motor Medium Speed Control

C

WHT

1924

Auxiliary Blower Motor High Speed Control

Blower Motor Resistor Assembly - Auxiliary - C2


Object Number: 62450  Size: CH

Connector Part Information

    • 12052856
    • 4-Way F Metri-Pack 280 Series (BLK)

Pin

Wire Color

Circuit No.

Function

A

BLK

1450

Ground

B

ORN

1740

Battery Positive Voltage

C

BRN

541

Ignition 3 Voltage

D

BRN

541

Ignition 3 Voltage

HVAC Control Module


Object Number: 73157  Size: CH

Connector Part Information

    • 12045575
    • 32-Way F Micro-Pack 100 Series (BLK)

Pin

Wire Color

Circuit No.

Function

C1

LT BLU/BLK

590

Sunload Sensor Signal

C2

BRN

404

Upper Air Temperature Sensor Signal

C3

LT GRN

405

Lower Air Temperature Sensor Signal

C4

LT BLU

733

Temperature Actuator Position Signal

C5

PPL

1838

Recirculation Door Position Signal

C6

BRN

341

Ignition 3 Voltage

C7

DK GRN

1614

Recirculation Door Control

C8

WHT

119

Mode Door Control

C9

DK BLU

1199

Air Temperature Door Control

C10

BLK

2450

Ground

C11

WHT

1038

HVAC Class 2 Serial Data

C12

ORN

340

Battery Positive Voltage

C13-C15

--

--

Not Used

C16

GRY/BLK

754

Blower Motor Speed Control

D1

DK GRN

734

Inside Air Temperature Sensor Signal

D2

LT GRN/BLK

735

Ambient Air Temperature Sensor Signal

D3

RED

708

Mode Door Position Signal

D4

--

--

Not Used

D5

GRY

598

5 Volt Reference

D6

--

--

Not Used

D7

GRY

8

Instrument Panel Lamp Supply Voltage - 1

D8

LT BLU

203

A/C Request Signal

D9

BRN

718

Low Reference

D10

GRY/BLK

1798

Ground

D11

LT BLU

2820

HVAC Control Module Clock Signal

D12

RED

2819

HVAC Control Module Data Signal

D13

--

--

Not Used

D14

WHT

193

Rear Defog Relay Control

D15-D16

--

--

Not Used

HVAC Control Assembly - Front Auxiliary (w/Sunroof)


Object Number: 73152  Size: CH

Connector Part Information

    • 12092629
    • 16-Way F Micro-Pack 100 Series (BLU)

Pin

Wire Color

Circuit No.

Function

A1

GRY

8

Instrument Panel Lamp Supply Voltage - 1

A2

BRN

541

Ignition 3 Voltage

A3

WHT

454

Mode Door Control - Auxiliary

A4

--

--

Not Used

A5

WHT

1924

Auxiliary Blower Motor High Speed Control

A6

RED

1925

Auxiliary Blower Motor Medium Speed Control

A7

DK BLU

1926

Auxiliary Blower Motor Low Speed Control

A8

BLK

1450

Ground

B1-B2

--

--

Not Used

B3

WHT/BLK

1236

Auxiliary Air Temperature Door Control

B4

BLK

1450

Ground (Loop Anchor)

B5-B7

--

--

Not Used

B8

BLK

1450

Ground (Loop Anchor)

HVAC Control Assembly - Front Auxiliary ( w/o Sunroof - Suburban/Yukon XL)


Object Number: 73152  Size: CH

Connector Part Information

    • 12084944
    • 16-Way F Micro-Pack 100 Series (BLK)

Pin

Wire Color

Circuit No.

Function

A1

--

--

Not Used

A2

GRY

2821

5 Volt Reference

A3-A4

--

--

Not Used

A5

BLK

1050

Ground

A6-A7

--

--

Not Used

A8

GRY

8

Instrument Panel Lamp Supply Voltage - 1

B1

BLK

2930

Temperature Switch Control

B2

--

--

Not Used

B3

WHT

454

Mode Door Control - Auxiliary

B4-B5

--

--

Not Used

B6

BLK/WHT

2933

Low Reference

B7

--

--

Not Used

B8

PPL/WHT

760

Auxiliary Blower Motor Speed Control

HVAC Control Assembly - Rear Auxiliary


Object Number: 73156  Size: CH

Connector Part Information

    • 12110088
    • 24-Way F Micro-Pack 100 Series (GRY)

Pin

Wire Color

Circuit No.

Function

A1

--

--

Not Used

A2

PPL

374

Auxiliary Blower Motor Speed Control

A3

WHT/BLK

1236

Air Temperature Door Control - Auxiliary

A4

WHT

454

Mode Door Control - Auxiliary

A5

--

--

Not Used

A6

TAN

517

Air Temperature Sensor Signal - Upper Auxiliary

A7

BLK

520

Lower Auxiliary Air Temperature Sensor Signal

A8

BLK

1450

Ground

A9

BLK

1050

Ground

A10

BLK

808

Low Reference

A11

BLK

2930

Temperature Switch Control

A12

PPL/WHT

760

Auxiliary Blower Motor Speed Control

B1

BRN

541

Ignition 3 Voltage

B2

GRY

8

Instrument Panel Lamp Supply Voltage - 1

B3

GRY

8

Instrument Panel Lamp Supply Voltage - 1

B4

DK BLU

1646

Air Temperature Door Position Signal - Auxiliary

B5

YEL/BLK

1814

Lower Mode Door Position Signal

B6

GRY

598

5 Volt Reference

B7

GRY

2821

5 Volt Reference

B8

LT BLU

2820

HVAC Control Module Clock Signal

B9

RED

2819

HVAC Control Module Data Signal

B10

GRY/BLK

1798

Ground

B11

BLK/WHT

2933

Low Reference

B12

WHT

454

Mode Door Control - Auxiliary

HVAC Control Processor - Auxiliary


Object Number: 328486  Size: CH

Connector Part Information

    • 12040747
    • 12-Way P/C Edgeboard - STD (BLK)

Pin

Wire Color

Circuit No.

Function

A

LT BLU

733

Air Temperature Door Position Signal

B

WHT/BLK

1236

Air Temperature Door Control - Auxiliary

C

DK BLU

1646

Air Temperature Door Position Signal - Auxiliary

D

LT BLU

2823

Mode Signal - Auxiliary Rear

E

LT BLU

2822

Mode Signal - Auxiliary Front

F

WHT

454

Mode Door Control - Auxiliary

G

--

--

Not Used

H

BLK

1450

Ground

J

BRN

541

Ignition 3 Voltage

K

--

--

Not Used

L

GRY

778

Blower Motor Control - Auxiliary

M

ORN

1923

Rear Auxiliary Enable Control

Mode Actuator


Object Number: 280764  Size: CH

Connector Part Information

    • 12064993
    • 6-Way F Micro-Pack 100 Series (BLK)

Pin

Wire Color

Circuit No.

Function

5

BRN

341

Ignition 3 Voltage

6

WHT

119

Mode Door Control

7

GRY/BLK

1798

Ground

8

--

--

Not Used

9

RED

708

Mode Door Position Signal

10

GRY

598

5 Volt Reference

Mode Actuator - Auxiliary


Object Number: 280764  Size: CH

Connector Part Information

    • 12064993
    • 6 Way F Micro-Pack 100 Series (BLK)

Pin

Wire Color

Circuit No.

Function

5

BRN

541

Ignition 3 Voltage

6

WHT

454

Mode Door Control - Auxiliary

7

GRY/BLK

1798

Ground

8

--

--

Not Used

9

YEL/BLK

1814

Lower Mode Door Position Signal

10

GRY

598

5 Volt Reference

Mode Actuator - Auxiliary (Manual Air Delivery)


Object Number: 280764  Size: CH

Connector Part Information

    • 12064993
    • 6-Way F Micro-Pack 100 Series (BLK)

Pin

Wire Color

Circuit No.

Function

5-6

--

--

Not Used

7

BLK

1450

Ground

8

WHT

454

Mode Door Control

9

--

--

Not Used

10

BRN

541

Ignition 3 Voltage

Recirculation Actuator


Object Number: 280764  Size: CH

Connector Part Information

    • 12064993
    • 6-Way F Micro-Pack 100 Series (BLK)

Pin

Wire Color

Circuit No.

Function

5

BRN

341

Ignition 3 Voltage

6

DK GRN

1614

Recirculation Door Motor Control

7

GRY/BLK

1798

Ground

8

--

--

Not Used

9

PPL

1838

Recirculation Door Position Signal

10

GRY

598

5 Volt Reference

Sunload Sensor


Object Number: 82383  Size: CH

Connector Part Information

    • 12047662
    • 2-Way F Metri-Pack 150 Series (BLK)

Pin

Wire Color

Circuit No.

Function

A

LT BLU/BLK

590

Sunload Sensor Signal

B

BRN

718

Low Reference