GM Service Manual Online
For 1990-2009 cars only

Removal Procedure


    Object Number: 675806  Size: SH
  1. Remove the door from the body.
  2. Remove any excess sealer surrounding the hinge and scribe the location of the hinge on the body.
  3. Lightly hand-sand existing body hinge with 100 grit or finer sandpaper to locate each weld attaching hinge to door.
  4. Important: Original punch marks may not necessarily indicate the center of the welds.

  5. Center punch each of the 4 weld marks on the original hinge base. It is critical to punch the center of the weld so that as much of the weld is removed during drilling as possible.

  6. Object Number: 675808  Size: SH

    Important: Do not drill into the door frame (3). Drill through hinge only. If necessary, use a chisel to separate the hinge from door.

  7. At each punch location, drill through hinge base only using a 13 mm (1/2 in) rotabroach (4) saw, or equivalent.
  8. Remove the hinge from pillar.
  9. Remove all remaining weld from door surface to ensure a flush fit of service hinge.

Installation Procedure


    Object Number: 675809  Size: SH
  1. Repair any damage done to the pillar during drilling or removal.
  2. Position the hinge within the scribe marks on the hinge pillar.
  3. Center punch each stud location on the pillar according to the service hinge.

  4. Object Number: 675811  Size: SH
  5. Drill a 3 mm (1/8 in) pilot hole at each center punch location.
  6. At the pilot hole location, drill 11.5 mm (29/64 in) hole through the hinge.
  7. Important: Prior to refinishing, refer to Publication GM 4901M-D-2000 GM Approved Refinish Materials for recommended products. Do not combine paint systems. Refer to paint manufacturer's recommendations.

  8. Apply an approved anti-corrosion primer to all bare metal surfaces.
  9. Feed fish wire GM P/N 15017229 through the hinge, the hinge pillar and out the conduit hole in the pillar.

  10. Object Number: 675798  Size: SH
  11. Install stud GM P/N 15017230 into the end of the fish wire and pull the stud into position.
  12. Hold the stud in position with the hinge and remove the fish wire.
  13. Install nut GM P/N 11516746 on the stud and draw the stud through the pillar. This will seat the stud and prevent it from splitting.
  14. Repeat steps 7-10 on the remaining stud locations.
  15. Remove the nuts and hinge.
  16. Apply a full-bodied caulk to the entire hinge mounting surface to ensure a proper seal.

  17. Object Number: 675800  Size: SH
  18. Align the hinge and install using fasteners supplied.
  19. Tighten
    Torque the hinge bolts to 25 N·m (18 lb ft).

    Install the hinge bolts.


    Object Number: 675804  Size: SH

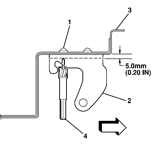
    Important: 

       • If installing the original access door without a door side service hinge or a used access door, you must modify the door side of the hinge (1) lower extensions (2).
       • Hinge extensions must maintain a wall thickness of 2 mm between the end of the extensions and the body side hinge nuts (3).
       • Maintain a wall thickness of 2 mm (5/64 in) around the hole at the end of the extension (4).
       • Prior to refinishing, refer to publication GM 4901M-D-2000 GM Approved Refinish Materials for recommended products. Do not combine paint systems. Refer to paint manufacturer's recommendations.

  20. Clean and prepare all surfaces.
  21. Refinish as necessary.
  22. Install and align all related panels and components.