GM Service Manual Online
For 1990-2009 cars only

Assist Step Replacement Body Mount

Removal Procedure


    Object Number: 768787  Size: SH
  1. Remove the following components from the vehicle:
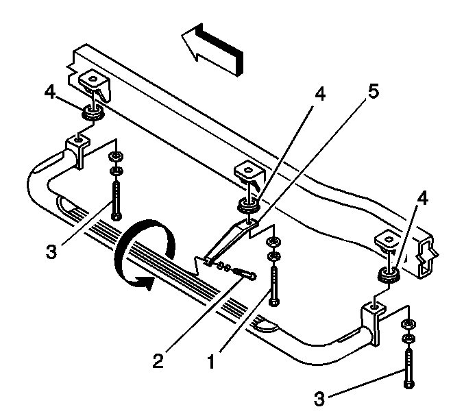
  2. 1.1. The center body mount bolt (1)
    1.2. The lock washer
    1.3. The washer
  3. Remove the center lower body-cushion assemblies (4).
  4. Remove the following components from the assist step:
  5. 3.1. The center bolt (2)
    3.2. The lock washer
    3.3. The washer
  6. Remove the assist step center bracket (5).

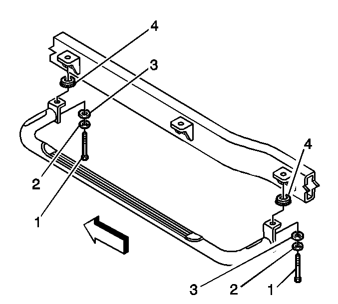
  7. Object Number: 768798  Size: SH
  8. With an assistant, remove the following front components, and rear components:
  9. 5.1. The body mount bolts (1)
    5.2. The lock washers (2)
    5.3. The washers (3)
  10. With an assistant, remove the assist step assembly from the vehicle.
  11. Remove the lower body-mount cushion assemblies (4), front and rear, from the vehicle.

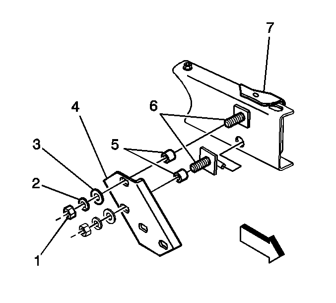
  12. Object Number: 768801  Size: SH
  13. Remove the following components from the front assist step brackets, and from the rear assist step brackets:
  14. 8.1. The bolts (1)
    8.2. The lock washers (2)
    8.3. The washers (3)
  15. Remove the front brackets, and the rear brackets (4) from the assist step.
  16. Remove the front gaskets, and the rear gaskets (5) from the assist step.

Installation Procedure


    Object Number: 768801  Size: SH

    Important: Apply thread locker GM P/N 12345382 to all bolt threads prior to assembly.

  1. Install the front gaskets, and the rear gaskets (5) to the assist step.
  2. Install the front brackets, and the rear brackets (4) to the assist step.
  3. Notice: Use the correct fastener in the correct location. Replacement fasteners must be the correct part number for that application. Fasteners requiring replacement or fasteners requiring the use of thread locking compound or sealant are identified in the service procedure. Do not use paints, lubricants, or corrosion inhibitors on fasteners or fastener joint surfaces unless specified. These coatings affect fastener torque and joint clamping force and may damage the fastener. Use the correct tightening sequence and specifications when installing fasteners in order to avoid damage to parts and systems.

  4. Install the following components to the front assist step bracket, and the rear assist step bracket:
  5. 3.1. The washers (3)
    3.2. The lock washers (2)
    3.3. The bolts (1)

    Tighten
    Torque the bolts to 90 N·m (66 lb ft).


    Object Number: 768798  Size: SH
  6. Install the lower body-mount cushion assemblies (4), front and rear, to the vehicle.
  7. With an assistant, raise the assist step to the vehicle.
  8. With an assistant, install the following front components, and rear components:
  9. 6.1. The washers (3)
    6.2. The lock washers (2)
    6.3. The body mount bolts (1)

    Tighten
    Torque the bolts to 90 N·m (66 lb ft).


    Object Number: 768787  Size: SH
  10. Install (5) the assist step center bracket.
  11. Install (2) the following components to the assist step:
  12. 8.1. The washer
    8.2. The lock washer
    8.3. The center bolt

    Tighten
    Torque to 45 N·m (33 lb ft).

  13. Install (1) the following components to the assist step:
  14. 9.1. The washer
    9.2. The lock washer
    9.3. The center body mount bolt

    Tighten
    Torque to 90 N·m (66 lb ft).

Assist Step Replacement Frame Mount

Removal Procedure


    Object Number: 768956  Size: SH
  1. With an assistant, remove the front retaining bolt (3) from the assist step.

  2. Object Number: 768959  Size: SH
  3. With an assistant, remove the rear retaining bolt (2) from the assist step.
  4. Remove the assist step from the vehicle.

  5. Object Number: 768958  Size: SH
  6. Remove the front bracket retainers (1), and remove the bracket (4) from the vehicle.

  7. Object Number: 768960  Size: SH
  8. Remove the rear bracket retainers (1), and remove the bracket (8) from the vehicle.

Installation Procedure


    Object Number: 768960  Size: SH

    Important:  Prior to installing all bolts apply thread locker GM P/N 12345382.

    Important: The left side may use a nut plate in place of the washers, and in place of the nuts.

  1. Install the rear bracket (8) with the following components:
  2. 1.1. The spacers (7)
    1.2. The bolts
    1.3. The washers
    1.4. The lock washers
    1.5. The nuts--Leave the fasteners hand-tightened at this time.

    Object Number: 768958  Size: SH
  3. Install the front bracket hook bolts (6) with poly liners to the frame.
  4. Install the spacers (5) to the hook bolts.
  5. Install the front bracket with the following components:
  6. 4.1. The washers (3)
    4.2. The lock washers (2)
    4.3. The nuts (1)--Leave the fasteners hand-tightened at this time.

    Object Number: 768959  Size: SH
  7. With an assistant, install the step to the vehicle.
  8. With an assistant, install the following components to the rear assist step bracket:
  9. 6.1. The gasket (1)
    6.2. The washer (4)
    6.3. The lock washer (3)
    6.4. The bolt (2)--Leave the fasteners hand-tightened at this time.

    Object Number: 768956  Size: SH
  10. With an assistant, install the following components to the assist step:
  11. 7.1. The gasket (1)
    7.2. The washer (5)
    7.3. The lock washer (4)
    7.4. The bolt (3)

    Notice: Use the correct fastener in the correct location. Replacement fasteners must be the correct part number for that application. Fasteners requiring replacement or fasteners requiring the use of thread locking compound or sealant are identified in the service procedure. Do not use paints, lubricants, or corrosion inhibitors on fasteners or fastener joint surfaces unless specified. These coatings affect fastener torque and joint clamping force and may damage the fastener. Use the correct tightening sequence and specifications when installing fasteners in order to avoid damage to parts and systems.

  12. Align step with rocker panel, and tighten the bolts.
  13. Tighten
    Torque all fasteners to 81 N·m (60 lb ft).

Assist Step Replacement Z-71

Removal Procedure


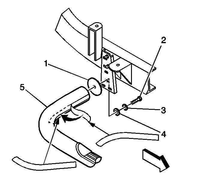
    Object Number: 756539  Size: SH
  1. With the aid of a helper, remove the retaining nuts and the spacers (1) from the bottom side of the assist step, and remove the assist step from the vehicle.
  2. Remove the rocker panel molding. Refer to Rocker Panel Molding Replacement in Exterior Trim.

  3. Object Number: 756551  Size: SH
  4. Drill out the rivets (1) from the assist step brackets.

  5. Object Number: 756547  Size: SH
  6. Remove the 5 stud plates (1) from the 5 assist step brackets (2).

  7. Object Number: 756541  Size: SH
  8. Remove the 5 retaining bolts (1) from the inner side of the rocker panel.
  9. Remove the 5 retaining bolts (2) from the inner side of the rocker panel.
  10. Remove the assist step brackets (5) from the vehicle.
  11. Drill out the rivets (3) for the rocker panel molding bracket (4).
  12. Remove the bracket (4) from the vehicle.

Installation Procedure


    Object Number: 756541  Size: SH
  1. Install the rocker panel molding bracket (4) to the vehicle.
  2. Install the rivets (3) that secure the rocker panel molding bracket (4) to the vehicle.
  3. Install the assist step brackets (5) to the vehicle.
  4. Notice: Use the correct fastener in the correct location. Replacement fasteners must be the correct part number for that application. Fasteners requiring replacement or fasteners requiring the use of thread locking compound or sealant are identified in the service procedure. Do not use paints, lubricants, or corrosion inhibitors on fasteners or fastener joint surfaces unless specified. These coatings affect fastener torque and joint clamping force and may damage the fastener. Use the correct tightening sequence and specifications when installing fasteners in order to avoid damage to parts and systems.

  5. Install the 5 retaining bolts (1) to the inner side of the rocker panel.
  6. Tighten
    Tighten the bolts (1) to 29 N·m (21 lb ft).

  7. Install the 5 retaining bolts (2) to the inner side of the rocker panel.
  8. Tighten
    Tighten the bolts (1) to 10 N·m (89 lb in).


    Object Number: 756547  Size: SH
  9. Install the 5 stud plates (1) to the 5 assist step brackets (2).

  10. Object Number: 756551  Size: SH
  11. Install the rivets (1) that secure the assist step brackets to the rocker panel.
  12. Install the rocker panel molding. Refer to Rocker Panel Molding Replacement in Exterior Trim.

  13. Object Number: 756539  Size: SH
  14. With the aid of an assistant, install the assist step to the vehicle.
  15. Install the spacers and the nuts (1) .
  16. Tighten
    Tighten the bolts (1) to 29 N·m (21 lb ft).

Assist Step Replacement Sierra Denali-RPO BVP

Removal Procedure


    Object Number: 800655  Size: SH
  1. Remove the retainers from the splash guard.
  2. Remove the splash guard from the Front Lower Fender.

  3. Object Number: 800657  Size: SH
  4. Remove the retainer (3) attaching the assist step bracket (4) to the lower front fender.

  5. Object Number: 800659  Size: SH
  6. With an assistant remove the retainers (3) from where the vertical mounting brackets (1) attached to the inner rocker panel.
  7. Remove the front assist step from the vehicle.

  8. Object Number: 815058  Size: SH
  9. Remove the retainers (1) from the rear assist step splash guard.

  10. Object Number: 800662  Size: SH
  11. Loosen the retainers (4) at the cross sills (5) attachments.
  12. With an assistant remove the bolts (3) and the threaded plates (1) from the cross rails (5).
  13. Important: Care must be taken not to scratch or dent pickup box when removing or installing assist step assembly.


    Object Number: 815057  Size: SH
  14. Remove the Rear Assist Step Assembly (1) from the vehicle.
  15. Remove the retainers from the rear splash guard (2).
  16. Remove the rear splash guard from the vehicle.
  17. Ensure all areas are free from dirt or adhesive prior to installation.

Installation Procedure

    Important: Install in an environment that is free from dust or dirt. Dust or dirt could come into contact with the adhesive surface and prevent proper adhesion. The surface should be 21°C or 70°F for proper adhesion.

    Important: Assist Steps must be installed front to rear due to alignment issues.


    Object Number: 800655  Size: SH
  1. Install the splash guard to the Front Lower Fender.
  2. Install the retainers to the splash guard.
  3. Align splash guard with wheel well.
  4. Remove the protective backing from the adhesive tape while pressing to ensure contact with fender.

  5. Object Number: 800659  Size: SH
  6. With an assistant install the front assist step assembly to the vehicle.

  7. Object Number: 800657  Size: SH
  8. With an assistant install the retainer (3) attaching the assist step bracket (4) to the lower front fender.

  9. Object Number: 800659  Size: SH
  10. With an assistant install the retainers (3) from where the vertical mounting brackets (1).
  11. Adjust the clearance between the rocker panel and the assist step to 6 -- 10 mm. Check clearance only after the last vertical mounting bracket area.
  12. Tighten the assist step fasteners to 20 N·m.

  13. Object Number: 800662  Size: SH
  14. Install the threaded plates (1) into the open end of the cross rails (5) ensuring that the holes in the cross sills align to the threaded plates.
  15. With an assistant install the rear assist step assembly to the vehicle.
  16. Install the retainers (3) and make adjustments by adding shims.
  17. Tighten the threaded plate retainers (3) to 20 N·m.
  18. Tighten the retaining bolt (4) to the cross sill to 9 N·m.
  19. Ensure proper alignment of front rear assist steps after tightening all retainers.

  20. Object Number: 815058  Size: SH
  21. Install retainers (1) to splash guard.
  22. Remove protective film to attach assist step splash guard to rear wheel well.

  23. Object Number: 815057  Size: SH
  24. Install the rear splash guard.
  25. Install the retainers.
  26. Align the splash guard to the wheel well.
  27. Remove the protective film and press firmly to secure to the wheel well surface.