Control Valve Solenoid Replacement Solenoid A, B
Removal Procedure
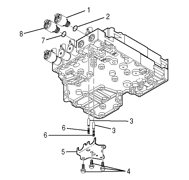
Important: The modulated main pressure solenoid G is removed for clarity.
- Remove the oil pan and transmission internal oil filter. Refer to
Oil Pan Replacement
.
- Disconnect the internal wiring harness from the solenoid being changed.
- Remove the 2 bolts (2) that fasten reverse signal pipe (1) to the control valve assembly. Remove the reverse signal pipe.
Important:
| • | When the pressure control valve retaining bracket (5) is removed, there are 2 sets of accumulators (3) and springs (6) which may fall from the bores. Be sure to catch the accumulators and springs so as to prevent damage to these
parts. |
| • | The pressure control valve retaining bracket (5) must not be modified. Note that the angle between the 2 bracket surfaces is less than 90 degrees. Replace the bracket if the angle is 90 degrees or more. |
- To remove pressure control solenoid A (1) or pressure control solenoid B (8), remove three bolts (4) and the pressure control valve retaining bracket (5). Remove accumulators (3) and springs (6) if
they do not fall out when bracket (5) is removed.
- Note the position of the solenoid connector and pull the solenoid (1) or (8) out of the bore in the control valve assembly. The O-ring on the solenoid provides the resistance felt during removal.
Installation Procedure
- Obtain the new solenoid (1) or (8). Lubricate new O-ring (2) or (7) with clean transmission fluid. Install the O-ring and push
the new solenoid into the control valve body bore with the wiring harness connector in the correct position.
- Reinstall the 2 accumulators (3) and springs (6) before installing the pressure control valve retaining bracket (5). The valve (3) goes in the bore first with the hollow end facing outward, followed by the spring (6)
which goes inside the hollow portion of the valve.
Notice: Use the correct fastener in the correct location. Replacement fasteners
must be the correct part number for that application. Fasteners requiring
replacement or fasteners requiring the use of thread locking compound or sealant
are identified in the service procedure. Do not use paints, lubricants, or
corrosion inhibitors on fasteners or fastener joint surfaces unless specified.
These coatings affect fastener torque and joint clamping force and may damage
the fastener. Use the correct tightening sequence and specifications when
installing fasteners in order to avoid damage to parts and systems.
- Install the pressure control valve retaining bracket (5), and install the 3 bolts (4).
Tighten
Tighten the bolts to 12 N·m (108 lb in).
- Install the reverse signal pipe. Install the 2 bolts (2) that fasten reverse signal pipe (1) to the control valve assembly.
Tighten
Tighten the bolts to 12 N·m (108 lb in).
- Reconnect the internal wiring harness to the solenoid.
- Install the oil pan and transmission internal oil filter. Refer to
Oil Pan Replacement
.
Control Valve Solenoid Replacement Solenoid C, D, E, F
Removal Procedure
- Remove the oil pan and suction filter. Refer to
Oil Pan Replacement
.
- Disconnect the internal wiring harness from the solenoid being
changed.
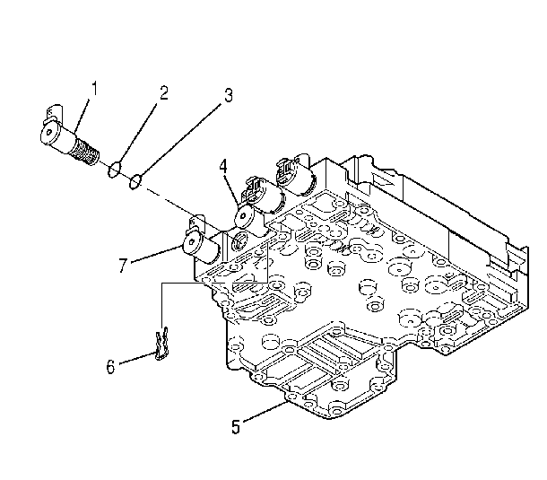
- Remove the solenoid retainer
(1) for the C solenoid (3). Note the position of the solenoid connector and
pull the solenoid (3) out of the bore in the control valve assembly. The o-rings
(2) and (4) provide the resistance felt during removal.
- Remove the solenoid retainers
(6) for the D solenoid (1), E solenoid (4), or F solenoid (7), whichever is
being replaced.
- Note the position of the solenoid connector and pull the solenoid
out of the bore in the control valve assembly. The o-rings (2) and (3) provide
the resistance felt during removal.
Installation Procedure
- Obtain the new D solenoid
(1), E solenoid (4), or F solenoid (1). Install o-rings (2) and (3) and lubricate
with clean transmission fluid. Push the new solenoid into the control valve
assembly (5) with the wiring harness connector in the correct position.
- Reinstall the solenoid retainer (6). Reconnect the internal wiring
harness to the solenoid(s) replaced.
- For new C solenoid (3),
install o-rings(2) and (4) and lubricate with clean transmission fluid. Push
the new C solenoid (3) into the control valve assembly with the wiring harness
connector in the correct position. Reinstall the solenoid retainer (1).
- Install the oil pan and suction filter. Refer to
Oil Pan Replacement
.