GM Service Manual Online
For 1990-2009 cars only

Engine RPM Limited to 3,000 RPM and No Cruise Control (Check Wiring and NSBU Switch)

Subject:Engine RPM Limited to 3,000 RPM and No Cruise Control (Check Wiring and NSBU Switch)

Models:2001 Chevrolet and GMC C/K Pickup Models (Silverado and Sierra)
with 8.1 L Engine (VIN G -- RPO L18)
and Allison Automatic Transmission (RPO -- M74)



Condition

Some owners may comment, that the RPM is limited to 3,000 RPM and the cruise control will not function.

Cause

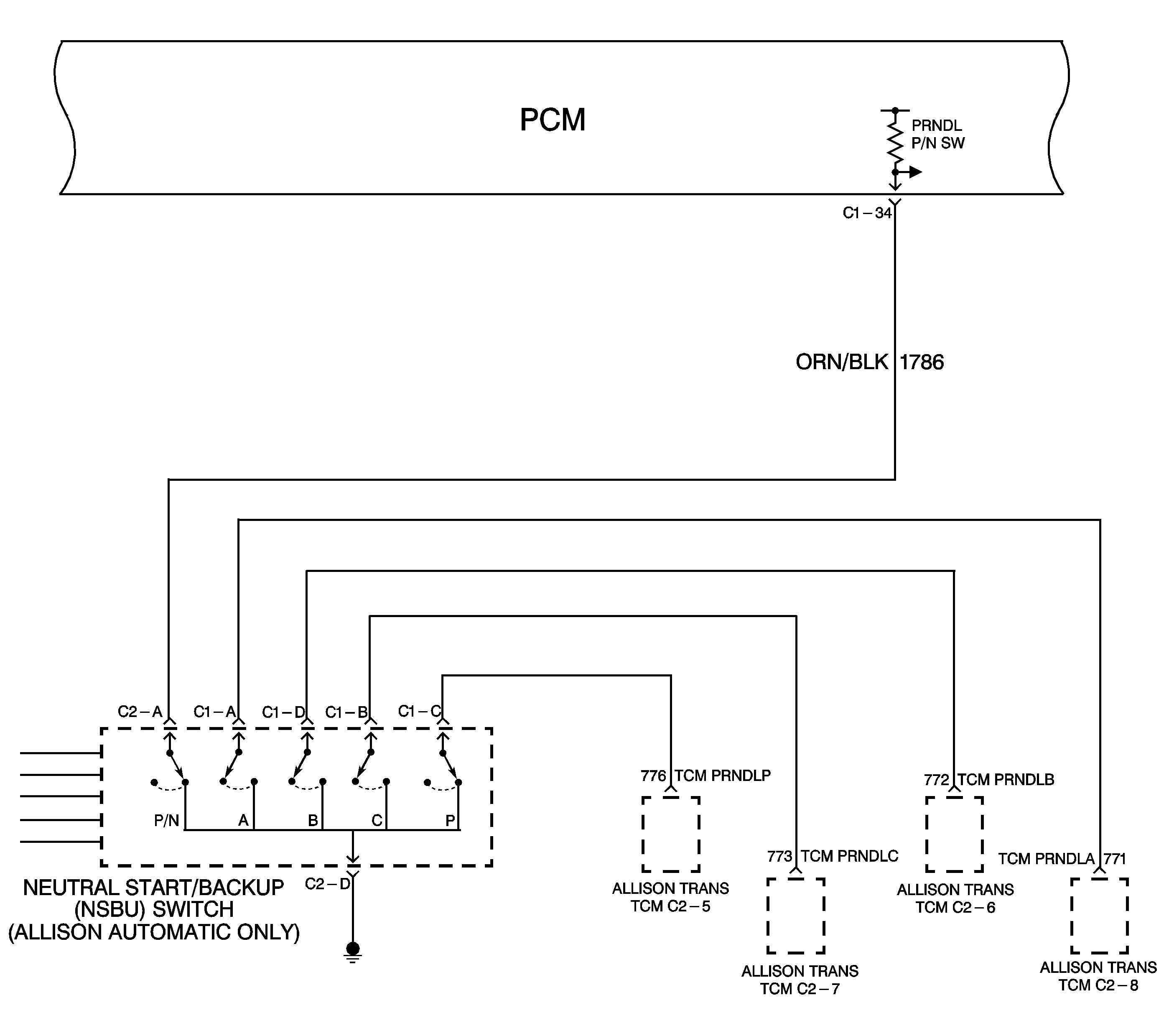
Circuit 1786 ORN/BLK from the transmission Park/Neutral Start Back-Up (NSBU) switch (pin A of the 7 pin connector) to the PCM (C1 connector pin 34) may be shorted to ground or the NSBU may not be switching correctly and grounding the circuit internally.

Correction

Using Service Manual procedures, repair any short to ground on the 1786 circuit or replace the Park/Neutral Start Back-Up Switch (NSBU) if internally shorted to ground.

Important: The PCM schematic in SI2000 is currently incorrect. Follow the schematic in this bulletin. SI2000 will be revised in the near future.


Object Number: 793190  Size: LF

Warranty Information

For vehicles repaired under warranty, use:

Labor Operation

Description

Labor Time

N6630

Transmission/Transfer Case/Trans-Axle/Front and Rear Axle Control Wiring and or Connector Repair or Replace

0.1-0.5 hr

K5228

Switch, Park/Neutral Position - Replace

0.5 hr