GM Service Manual Online
For 1990-2009 cars only
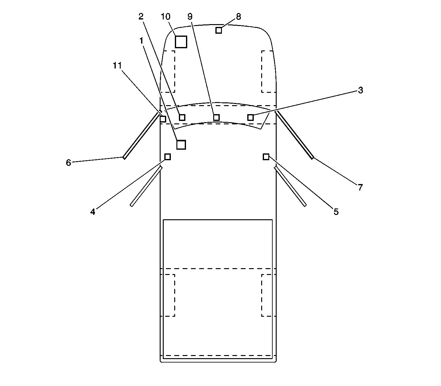
Figure 1:

Inflatable Restraint Component Zoning


Object Number: 614181  Size: LF
(1)Inflatable Restraint Sensing and Diagnostic Module (SDM)
(2)Inflatable Restraint Steering Wheel Module
(3)Inflatable Restraint IP Module
(4)Inflatable Restraint Side Impact Module - Left (Seat) -Utility Only
(5)Inflatable Restraint Side Impact Module - Right (Seat) -Utility Only
(6)Inflatable Restraint Side Impact Sensor - Left (SIS) -Utility Only
(7)Inflatable Restraint Side Impact Sensor - Right (SIS) -Utility Only
(8)Inflatable Restraint Front End Discriminating Sensor
(9)Inflatable Restraint IP Module Switch -Pickup Only
(10)Battery
(11)Fuse Block-Left IP
Figure 2:

Radiator Support -- SIR Components


Object Number: 349802  Size: LF
(1)Radiator Support
(1)Radiator Support
(2)Inflatable Restraint Front End Discriminating Sensor
Figure 3:

Below Driver Seat -- SIR Wiring


Object Number: 310047  Size: MF
(1)Inflatable Restraint Sensing and Diagnostic Module (SDM) Connector
(2)Power Seat Electrical Connector
(3)Inflatable Restraint Sensing and Diagnostic Module (SDM)
(4)Instrument Panel Harness
Figure 4:

Right Side of the I/P -- SIR Components


Object Number: 310155  Size: MF
(1)Inflatable Restraint IP Module
(2)Inflatable Restraint IP Module Connector at Module
(3)Instrument Panel Compartment Lamp
(4)Instrument Panel Compartment Lamp Connector
(5)Inflatable Restraint IP Module Connector with Tether
Figure 5:

Center of the I/P -- Accessory Switches (C99)


Object Number: 310150  Size: MF
(1)Inflatable Restraint IP Module Disable Switch Connector (Except Crewcab)
(2)Accessory Switch Housing
(3)Inflatable Restraint IP Module Disable Switch (Except Crewcab)
(4)Instrument Panel
Figure 6:

Steering Wheel


Object Number: 349778  Size: LF
(1)Inflatable Restraint Steering Wheel Module
(2)Inflatable Restraint Steering Wheel Module Connector with Tether
(2)Inflatable Restraint Steering Wheel Module Connector with Tether
(3)Inflatable Restraint Steering Wheel Module Harness
(3)Inflatable Restraint Steering Wheel Module Harness