GM Service Manual Online
For 1990-2009 cars only
Figure 1:

G100


Object Number: 310809  Size: MF
(1)LH Lower Radiator Support
(2)Forward Lamp Harness
(3)Negative Battery Cable -G100
(4)Frame
(5)G100
Figure 2:

Auxiliary Battery Relay


Object Number: 349894  Size: MF
(1)Auxiliary Battery Relay
(2)A/C Accumulator
(3)A/C Low Pressure Switch
(4)Inner Wheel Well
(5)Engine Coolant Level Switch Connector
(6)Mass Air Flow (MAF) Sensor
(7)Air Cleaner Assembly
(8)Engine Coolant Recovery Reservoir
(9)Auxiliary Battery Relay Electrical Connector
Figure 3:

Fuse Block - Underhood


Object Number: 310806  Size: MF
(1)Fuse Block - Underhood Bracket
(2)Inflatible Restraint Harness
(3)Radiator Support
(4)C103 -I/P Harness Side
(5)C103 -Forward Lamp Harness Side
(6)LH Battery Tray
(7)Fuse Block - Underhood Bracket
(8)Fuse Block - Underhood
Figure 4:

Fuse Block-Underhood Connectors


Object Number: 310798  Size: MF
(1)Fuse Block-Underhood
(2)C4 -GRN
(3)C3 -RED
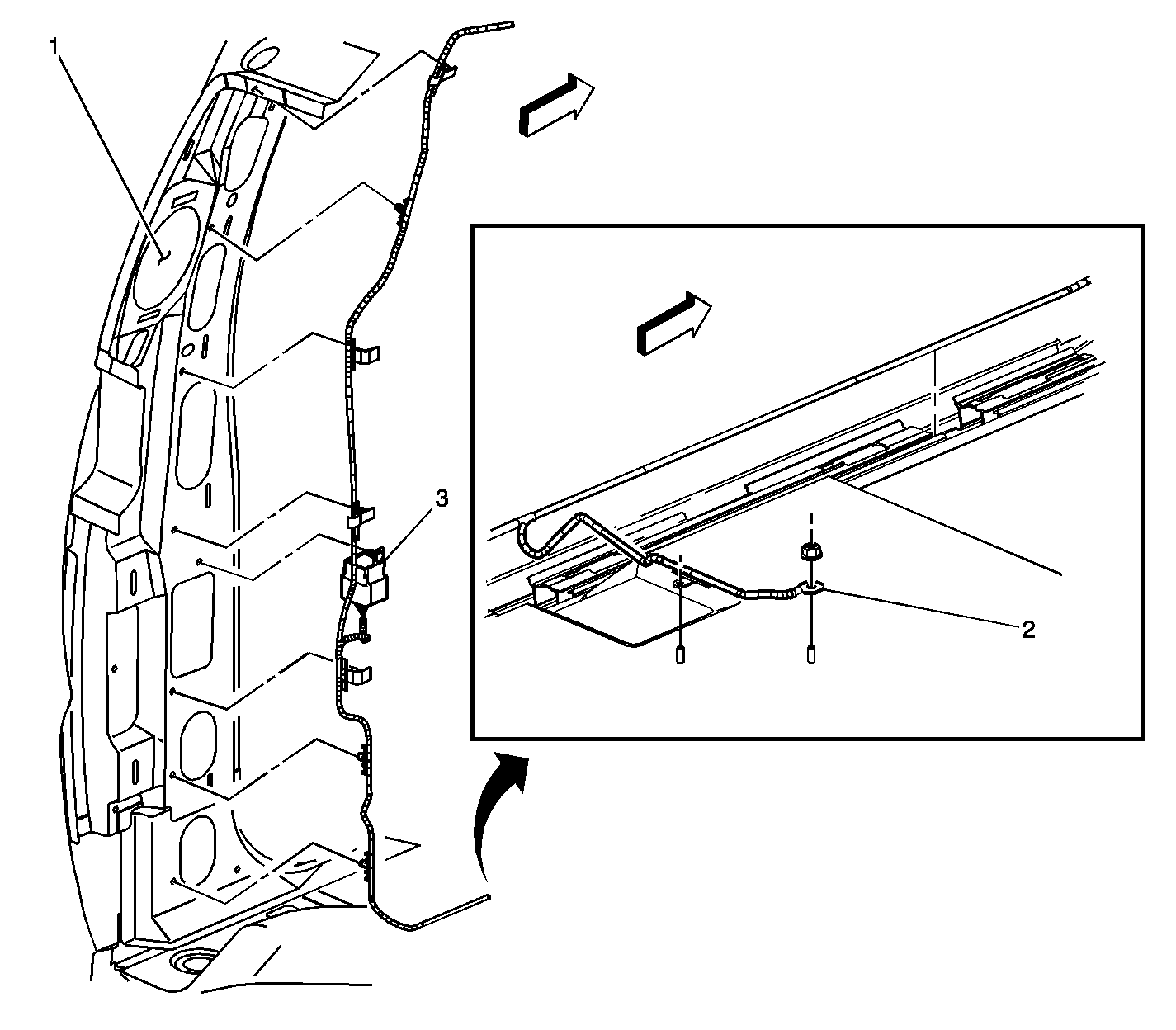
(4)Fuse Block-Underhood Bracket
(5)LH Inner Fender -Shield
(6)LH Inner Fender
(7)C1 -LT GRY
(8)C2 -BLK
Figure 5:

Fuse Block-Underhood-C1 and C6


Object Number: 404504  Size: MF
(1)Fuse Block-Underhood
(2)C7 -BLK
(3)Fuse Block-Underhood Bracket
(4)C6 -BRN
(5)Instrument Panel (IP) Harness
(6)C1 -LT GRY
Figure 6:

Fuse Block-Underhood-C2 and C5


Object Number: 404501  Size: MF
(1)C2 -BLK
(2)Fuse Block-Underhood
(3)Fuse Block-Underhood Bracket
(4)C5 -BLK
(5)Engine Harness
Figure 7:

Fuse Block-Underhood-C3 and C8


Object Number: 404499  Size: MF
(1)C3 -RED
(2)Fuse Block-Underhood
(3)C8 -LT GRY
(4)Fuse Block-Underhood Bracket
(5)Chassis Harness
Figure 8:

Fuse Block-Underhood-C4 and C103


Object Number: 404508  Size: MF
(1)C4 -GRN
(2)Instrument Panel (IP) Inline Connectors
(3)Fuse Block-Underhood Bracket
(4)Connector Tether
(5)IP Harness Inline Connector
(6)C103 -I/P Side
(7)C103 -FWD Lamp Side
(8)Forward Lamp Inline Connector
(9)Fuse Block-Underhood
Figure 9:

Lower RF of the Engine Compartment - 4.3L


Object Number: 403977  Size: MF
(1)G105
(2)Crankshaft Position (CKP) Sensor
(3)Negative Battery Cable
(4)Engine Oil Level Switch
(5)Engine Harness
(6)Positive Battery Cable
Figure 10:

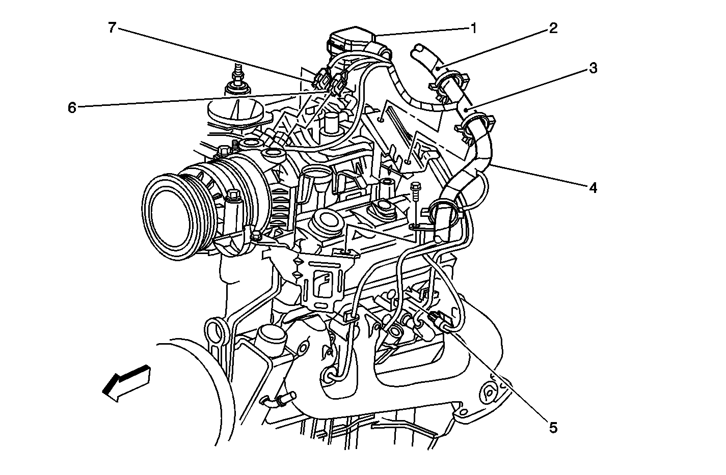
G103-4.3L


Object Number: 310504  Size: LF
(1)Coil - Ignition
(2)Generator
(3)Ignition Coil Driver
(4)Generator Connector
(5)RH Cylinder Head
(6)G103
(7)Map Sensor Connector
(8)Map Sensor
Figure 11:

G104-4.3L


Object Number: 310499  Size: MF
(1)Oil Pressure Sensor Connector
(2)Oil Pressure Sensor
(3)G104
(4)Engine Ground Strap -G107
(5)Engine 4.3L
(6)Knock Sensor (KS)
(7)KS Connector
(8)Distributor Connector
(9)Distributor
Figure 12:

G103,G104,G106 and G107-- 4.8L, 5.3L, 6.0L


Object Number: 310261  Size: LF
(1)G103
(1)G103
(2)Engine Harness- H02S
(3)HO2 Sensor connector- Bank 1, Sensor 1
(4)Fuel Line Bracket
(5)G104
(5)G104
(6)Oil Pressure Sensor Connector
(6)Oil Pressure Sensor
(7)Engine Ground Strap -G107
(8)TP 1 Battery Cable -G106
Figure 13:

G102- 4.8L, 5.3L, 6.0L


Object Number: 403980  Size: MF
(1)Engine Harness
(2)Battery Cable Junction Block Bracket
(3)LH Rocker Cover
(4)G102
(5)Negative Battery Cable
(6)Engine Coolant Temperature (ECT) Sensor Connector
Figure 14:

Primary Negative Battery Ground and G105 (6.6L)


Object Number: 768351  Size: MF
(1)Engine - 6.6L Diesel
(2)Primary Negative Battery Cable
(3)Primary Negative Battery Ground
(4)G105
(5)Engine Harness
Figure 15:

Auxiliary Negative Battery Ground G106, G102 and G103


Object Number: 799094  Size: MF
(1)Engine -6.6L Diesel
(2)Engine Harness
(3)G106-S102 and S103
(4)G106-Auxiliary Negative Battery Ground
(5)G103-Water in Fuel Sensor and FICM
(6)G102-Fuel Heater and FICM
(7)Starter Relay terminal
(8)Starter
Figure 16:

G105 - 8.1L


Object Number: 656528  Size: MF
(1)Engine - 8.1L
(2)Knock Sensor (KS) - 2
(3)Knock Sensor (KS) - 2 Connector
(4)Engine Harness
(5)G105 - Engine Harness Ground
Figure 17:

G104-8.1L


Object Number: 814474  Size: MF
(1)Engine-8.1L
(2)EGR Valve
(3)Engine Oil Pressure (EOP) Sensor
(4)Engine Ground Strap
(5)G104-Engine Harness Ground
Figure 18:

Splice S102 and S103-4.3L


Object Number: 795982  Size: MF
(1)Fuel Injection Module
(2)Splice S102
(3)Splice S103
(4)Engine Harness
(5)ECT Sensor
(6)Idle Air Control (IAC) Motor
(7)TP Sensor
Figure 19:

Splice S104-4.3L


Object Number: 795983  Size: MF
(1)Splice S104
(2)Engine Harness
(3)A/C Accumulator
Figure 20:

Splice S114-4.3L


Object Number: 795981  Size: MF
(1)Fuel Pump/Oil Pressure Sensor Connector
(2)Engine Harness
(3)Splice S114
(4)Engine Harness Ground
(5)Ground Strap
(6)Knock Sensor (KS)
(7)CMP Sensor Connector
Figure 21:

Splice S103-4.8L,5.3L,6.0L


Object Number: 795743  Size: MF
(1)Engine Harness
(2)S103
(3)Engine-4.8L,5.3L,6.0L
Figure 22:

Splice S104-4.8L,5.3L,6.0L


Object Number: 795742  Size: MF
(1)Engine Harness
(2)MAP Sensor
(3)Splice S104
(4)Engine-4.8L,5.3L,6.0L
(5)Knock Sensors Connectors
Figure 23:

Splice S114-4.8L,5.3L,6.0L


Object Number: 795744  Size: MF
(1)Oil Pressure Sensor
(2)Camshaft Position Sensor
(3)G103
(4)CMP Sensor Connector
(5)Engine-4.8L,5.3L,6.0L
(6)G104
(7)Splice S114
Figure 24:

Splice S199-4.8L,5.3L,6.0L


Object Number: 795730  Size: MF
(1)Splice S199
(2)Engine Harness
(3)Engine -4.8L,5.3L,6.0L
Figure 25:

LR of the Engine Splices (6.6L)


Object Number: 777029  Size: MF
(1)Engine - Diesel (6.6L)
(2)S118
(3)S119
Figure 26:

P100


Object Number: 310036  Size: MF
(1)Windshield Wiper Motor Module Electrical Connector
(2)Cruise Control Module (CCM) Electrical Connector
(3)Plenum Panel
(4)Cruise Control Module (CCM)
(5)Pass-Through 100 (P100)
(6)Dash Panel
(7)Cap For Connector--w/o Cruise Control
(8)Cruise Control Module (CCM) Electrical Connector
(9)Harness Pass-Through
(10)Windshield Wiper Motor Module
Figure 27:

Instrument Panel Harness Routing View


Object Number: 574009  Size: LF
(1)Instrument Panel
(2)Instrument Panel Cluster Connector
(3)Sunload Sensor
(4)Radio Connectors
(5)Daytime Running Lamps (DRL) Sensor
(6)Air Temperature Sensor - Upper
(7)Passenger Inflatable Restraint Module Connector
(8)Inflatable Restraint Module Switch Connector
(9)Inline Connector C206
(10)Inline Connector C207
(11)Speaker Connector
(12)Compartment Lamp Connector
(13)Fuse Block - Right I/P
(14)Inline Connector to RH Door Harness
(15)Inline Connector to RH Body Harness-06 only
(16)Ashtray Lamp Connector
(17)HVAC Control Module Connectors
(18)Cigarette Lighter Connector
(19)Power Accessary Connectors
(20)Inline Connector C352
(21)Inline Connector C307
(22)Steering Column Connector
(23)Inline Connector C340
(24)Body Control Module Connectors
(25)Cargo/Fog Switch Connector
(26)Headlamp Switch Connector
(27)Steering Column -SIR Connector
(28)Fuse Block
(29)Data Link Communication Connector
(30)Inflatable Restraint Sensing And Diagnostic Module (SDM) Connector
(31)Inline Connector C204
(32)Inline Connector C200
(33) Courtesy Lamp - Left
(34)Relay Block - Body
(35)Splice Pack SP203
(36)Inline Connectors to Automatic Transfer Case -C151 C153
(37)Inline Connector C102- I/P to Chassis Harness
(38)Inline Connector C103 -I/P to Forward Lamp Harness
(39)Fuse Block-Underhood
(40)Instrument Panel Battery Feed Connectors
(41)Trailer Power Feed Connector
(42)Cruise Control/Throttle Actuator Connector
(43)Underhood Lamp Connector
(44) Speaker - Left Connector
(45)Inline Connector C204 -I/P to LH Body Harness
(46)Underhood Lamp Ground
(47)I/P Harness to Plenum Ground
(48)Windshield Wiper System Module Connector
Figure 28:

G200


Object Number: 403970  Size: MF
(1)Instrument Panel
(2)G200
(3)Ground Stud
Figure 29:

Accessory Power Outlets


Object Number: 310152  Size: MF
(1)Ashtray Lamp Socket
(2)Bulb
(3)Ashtray Lamp Shield
(4)Instrument Panel
(5)Accessory Power Outlet
(6)Cigar Lighter Assembly
Figure 30:

Splice Pack SP203 and G203


Object Number: 310066  Size: MF
(1)Splice Pack SP203
(2)G203
(3)Dash
(4) A-Pillar
Figure 31:

Splice Pack SP205


Object Number: 310145  Size: MF
(1)Fuse Block -Left I/P Connector
(2)Body Control Module (BCM) Connector
(3)Splice Pack 205 (SP205)
(4)Fuse Block
(5)Data Link Connector (DLC)
(6)Footwell Courtesy Lamp-Left
(7)Footwell Courtesy Lamp Socket
(8)LH IP Support to Dash
(9)Left Windshield Pillar Trim Panel
Figure 32:

G110 and G302


Object Number: 574025  Size: MF
(1)Frame
(2)Electronic Brake Control Module (EBCM) Ground (GND)
(3)Manual Selectable Ride Ground (G302)
(4)Automatic Transfer Case/ABS Ground (G110)
Figure 33:

Rear Wheel Steering Module Power,Ground and C116


Object Number: 814577  Size: MF
(1)Negative Battery Cable
(2)C116-Rear Wheel Steering Module Ground
(3)Chassis Harness
(4)Power Lead-Rear Wheel Steering Module
Figure 34:

Rear Wheel Steering Module Case Ground-G109


Object Number: 814555  Size: MF
(1)Chassis Harness
(2)Battery Junction Block
(3)G109-Case Ground
Figure 35:

Roof Beacon Relay and G304-Pickup


Object Number: 814892  Size: LF
(1)LH Body Side Inner Panel B Pillar
(2)G304
(3)Roof Beacon Relay
Figure 36:

G305


Object Number: 623131  Size: MF
(1)LH B-Pillar
(2)G305
(3)LH Body Harness
Figure 37:

G302


Object Number: 309937  Size: MF
(1)G302
(2)LH Body Mount
(3)Ground Screw
(4)Electronic Brake Control Module (EBCM)
(5)Fuel Tank
Figure 38:

Front Seat Wiring (w/Heat)


Object Number: 656608  Size: MF
(1)C305
(2)C399
(3)Power Seat Wiring Harness to Heated Seat Switch
(4)C301
Figure 39:

G306


Object Number: 309985  Size: MF
(1)Speaker-RR Connector
(2)Rear Glass
(3)Rear Window Defogger Grid Connector
(4)Rear Window Defogger Grid Connector
(5)Rear Inner Body Panel
(6)Speaker-RR and Rear Window Defogger Grid Harness
(7)Ground 306 (G306)
(8)Side (RH) Inner Body Panel
(9)Access Hole (Panel)
(10)Speaker-RR Connector
Figure 40:

G390 - Crewcab


Object Number: 795179  Size: MF
(1)Inner Body RH Side Panel
(2)Rear Window Defogger Grid Connector
(3)G390
Figure 41:

LH Rear of Passenger Compartment


Object Number: 309982  Size: MF
(1) Side Inner Body Panel - LH
(2)Panel Access Hole
(3) Speaker - LR Connector
(4)Speaker - LR Connector
(5)Body Wiring Harness
(6)Body Wiring Harness
(7)Rear Glass -Defogger Grid Not Shown
(8)Rear Defogger Grid Connector
(9)Rear Defogger Grid Connector
Figure 42:

G401


Object Number: 800579  Size: MF
(1)Chassis harness
(2)G401
(3)Trailer connector
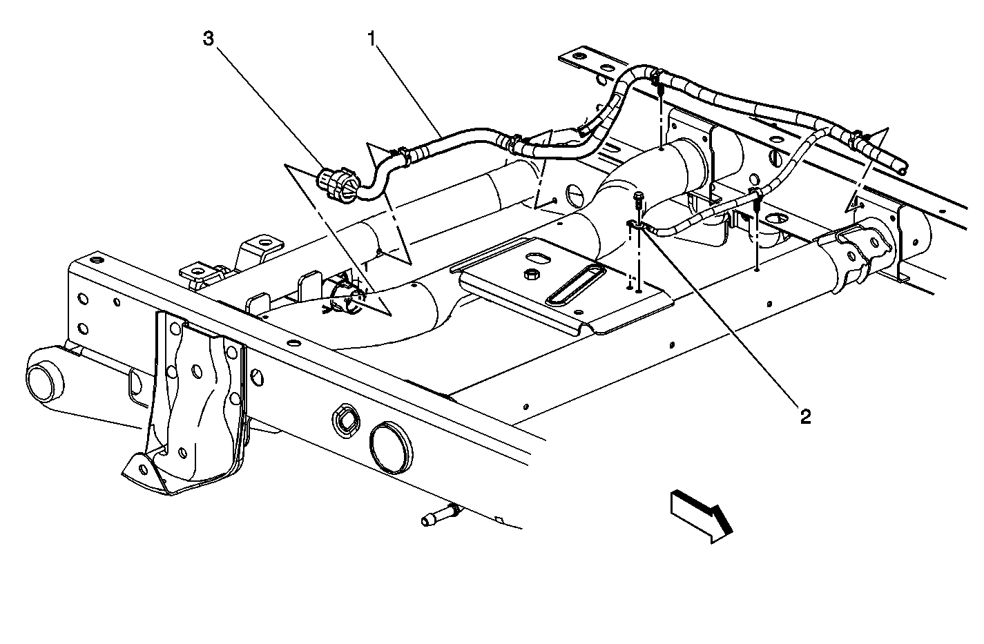
Figure 43:

G403


Object Number: 309947  Size: MF
(1)Fuel Sender
(2)G403
(3)Fuel Filler Ground 302 (G403)
(4)LH Frame
(5)Fuel Sender (Typical)
Figure 44:

Junction Block -- Rear Lamps


Object Number: 764894  Size: MF
(1)Frame
(2)Junction Block--Rear Lamps
(3)Junction Block Mounting Bracket