GM Service Manual Online
For 1990-2009 cars only

    Object Number: 1423198  Size: SH

    Important: 

       • Make the measurements described below at several locations.
       • Replace the oil pump body, driven gear and drive gear if any of the following specifications are not met.

  1. Measure the depth of the oil pump body gear cavity at dimension A.
  2. Gear Cavity Depth
    The maximum depth of the gear cavity is 24.940 mm (0.9819 in).


    Object Number: 1440190  Size: SH
  3. Measure the ID of the oil pump body gear cavity at dimension A.
  4. Gear Cavity ID
    The maximum ID of the gear cavity is 109.191 mm (4.2989 in).


    Object Number: 1217502  Size: SH
  5. Measure the OD of the driven gear at dimension A.
  6. Driven Gear OD
    The minimum OD of the driven gear is 108.987 mm (4.2908 in).


    Object Number: 1217387  Size: SH
  7. Measure the distance between the flats of the drive gear at dimension A.
  8. Drive Gear Flat Measurement
    The maximum distance between the flats is 52.165 mm (2.0537 in).


    Object Number: 1423496  Size: SH
  9. Align the drive gear (1) and driven gear (2) with the oil pump so that their punch marks are in the same position as when they were originally removed.
  10. Install the gears into the oil pump body (3).

  11. Object Number: 1423194  Size: SH
  12. Measure the clearance between the driven gear (1) and the oil pump body (2), driven gear diametrical clearance.
  13. Driven Gear Diametrical Clearance
    The maximum driven gear diametrical clearance is 0.20 mm (0.0080 in).


    Object Number: 1424345  Size: SH
  14. Measure the clearance between the driven gear (1) and the oil pump body crescent (2).
  15. Driven Gear/Crescent Clearance
    The maximum Driven Gear/Crescent Clearance is 0.455 mm (0.0179 in).


    Object Number: 1424440  Size: SH
  16. Hold a straight edge across the oil pump body (1) and drive gear (3). Measure the clearance between the drive gear and the straight edge. This is the drive gear side clearance.
  17. Drive Gear Side Clearance
    The maximum drive gear side clearance is 0.066 mm (0.0026 in).

  18. Hold a straight edge across the oil pump body (1) and driven gear (2). Measure the clearance between the driven gear and the straight edge.
  19. Driven Gear Side Clearance
    The maximum driven gear side clearance is 0.050  mm (0.0022 in).


    Object Number: 1423496  Size: SH
  20. Remove the drive gear (1) and driven gear (2) from the oil pump body (3).

Oil Pump Wear Plate Inspection


    Object Number: 1423502  Size: SH

    Important: Replace the oil pump wear plate if specifications are not met.

  1. Inspect the wear plate (1) for damage. The wear plate must not be scored, nicked, or grooved.
  2. Measure the thickness of the wear plate in the gear wear area.
  3. Wear Plate Thickness
    The thickness of the wear plate must not be less than 2.950 mm (0.116 in).

Oil Pump Bushing Replacement

Tools Required

    • J 43771 Pump Bushing Removal and Installation Tool
    • J 8092 Universal Driver

    Object Number: 1217396  Size: SH
  1. Inspect the bushing for damage and wear. The bushing must not be damaged or worn.
  2. Measure the ID of the bushing. Replace the pump bushing if the ID exceeds specifications.
  3. Bushing ID
    Maximum ID is 58.458 mm (2.3015 in).


    Object Number: 1423157  Size: SH
  4. Remove all gears from pump body (1).
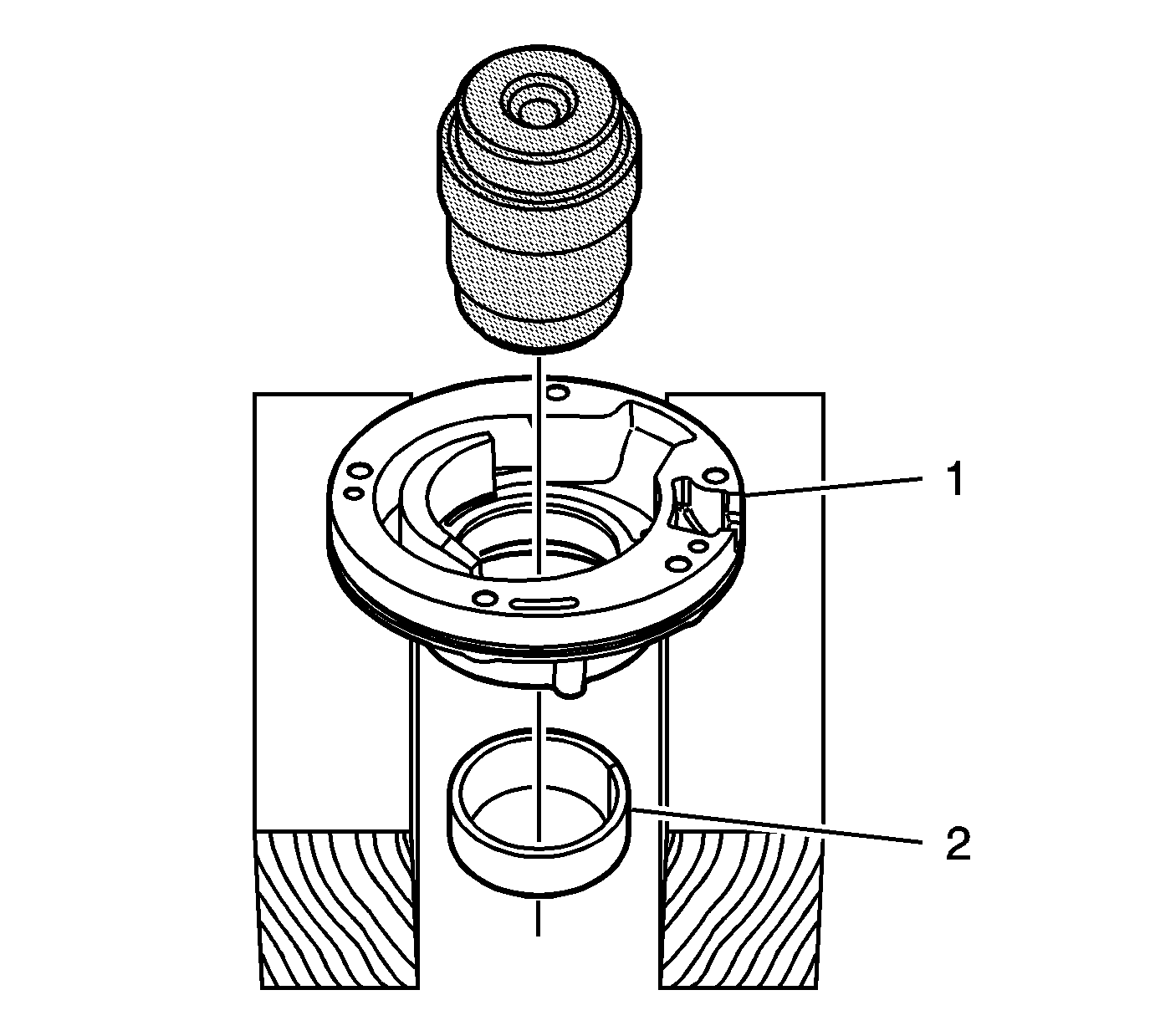
  5. Important: The preferred method of removing or installing the bushing is with tool J 43771 and a press. If a press is not available use J 43771 and universal driver J 8092 .

  6. Support the pump body (1), machined surface up, on two wooden blocks so that bushing (2) can be removed from the back of the pump body.
  7. Install the longer end of J 43771 into the bushing.
  8. Press or drive the bushing (2) from the pump body (1).
  9. Clean the bushing bore of all residue. Parts must be dry before installing the bushing.

  10. Object Number: 1235286  Size: SH

    Important: The bushing may be orientated in any position, but the preferred orientation is with the bushing split joint aligned with the casting numbers and the centerline of the boss opposite the numbers. Position the split joint away from the boss.

  11. Support the pump body (1), machined surface down, on two wooden blocks.
  12. Install the bushing (2) onto the shorter end of J 43771 .
  13. Apply Loctite® #620, or equivalent, to the bushing bore.
  14. Using J 43771 , press or drive the bushing into the pump body until J 43771 seats.