GM Service Manual Online
For 1990-2009 cars only

Info - Auxiliary Fuel Tank Removal Procedure

Subject:Auxiliary Fuel Tank Removal Procedure

Models:2001-2002 Chevrolet and GMC C/K 3600 Chassis Cab Models
with Auxiliary Fuel Tank



The purpose of this bulletin is to provide a procedure to convert production C/K 3600 Chassis Cab trucks with dual fuel tanks to a single fuel tank. Follow the procedure listed below.

Any deviation from this procedure will nullify the vehicle warranty. An authorized GM dealer must complete this procedure. This is a customer paid conversion and the dealership must not charge the General Motors warranty system with the costs associated with completing this procedure.

  1. Disconnect the fuel feed and vapor pipe assembly by completing the following steps:
  2. Figure 1


    Object Number: 829153  Size: SH
    1.1. Disconnect the fuel feed and fuel vapor hoses (2) from the auxiliary fuel tank (1).

    Figure 2


    Object Number: 829155  Size: SH
    1.2. Disconnect the fuel fill hose (2), which is part of the hose assembly, from the auxiliary fuel tank (1).
    1.3. Disconnect the fuel vent hose, which is part of the fuel filler hose assembly, from the auxiliary fuel tank.

    Figure 3


    Object Number: 829156  Size: SH
    1.4. Disconnect the fuel feed and vapor hose (1), which is part of the fuel feed and fuel vapor pipe assembly from the balance-T (2).

    Figure 4


    Object Number: 829159  Size: SH
    1.5. Disconnect the rear extension wire harness assembly connector (1) from the auxiliary fuel tank (2).

    Figure 5


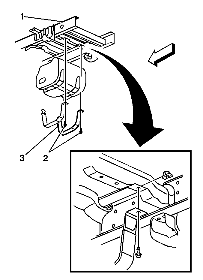
    Object Number: 829160  Size: SH
  3. Remove the six bolts (3) that attach the auxiliary fuel tank protective metal shield (2) to the frame (1). Remove the shield.
  4. Figure 6


    Object Number: 829165  Size: MH
  5. Remove the two auxiliary fuel tank straps by completing the following steps:
  6. 3.1. Loosen and remove one bolt (2) per each strap (3).
    3.2. Remove the two J-nuts from the frame assembly (1).

    Figure 7 (Gas)


    Object Number: 829170  Size: SF

    Figure 7 (Diesel)


    Object Number: 829173  Size: SF
  7. Remove the fuel feed and vapor pipe assembly (1) by completing the following steps:
  8. 4.1. On diesel models, loosen and remove the two nuts that secure the fuel pump clip (2) to the frame assembly.
    4.2. Loosen and remove one nut per each retainer clip secured to the frame assembly.
    4.3. Push the fuel feed and vapor pipe assemblies out of the retainer clips with your fingers.
    4.4. Slide the fuel feed and vapor pipe assemblies out of the frame assembly and out of the truck.
  9. Remove the balance-T and the hose connecting the balance-T to the main fuel tank by removing the two clamps. Refer to Figure 3.
  10. Connect the vent hose, which is part of the fuel filler hose assembly, to the main fuel tank vent pipe by securing the pipe using one clamp.
  11. Remove the electric balance module assembly by removing the two bolts from the bracket securing the module to the frame assembly.
  12. Disconnect the rear extension wire harness assembly from the main fuel tank.
  13. Figure 8


    Object Number: 829179  Size: SF

    Figure 9


    Object Number: 829185  Size: SF

    Important: For diesel engine equipped trucks, disconnect the fuel pump ground wire from the frame assembly at the same connection point as the fuel tank assembly.

  14. Disconnect the fuel tank ground wire from the frame assembly by loosening and removing the bolt securing the wire to the frame assembly.
  15. Remove the rear harness wire extension assembly by completing the following steps:
  16. 10.1. Disconnect the band ties.
    10.2. Remove the rear harness wire extension assembly from the retainer clips by pushing the harness out of the retainer clips.
    10.3. Disconnect the rosebud clip holding the rear harness wire extension assembly from the frame assembly.

    Figure 10


    Object Number: 829187  Size: SH
    10.4. Loosen and remove one bolt from the clip securing the rear harness wire extension assembly to the frame assembly.

    Figure 11


    Object Number: 829190  Size: SH
    10.5. Disconnect the rear harness wire extension assembly at the connections to the engine harness and instrument panel wire assemblies.

    Figure 12


    Object Number: 829193  Size: SH
    10.6. Disconnect the rear harness wire extension assembly at the location of the enhanced evaporative emission connection.
    10.7. For gasoline engines only, place the cap on the engine harness single pin connector. The cap consists of the following components:
       • A connector, P/N 12065172
       • TPA, P/N 12065249
       • Cavity plug, P/N 12010300
  17. Connect the replacement rear harness wire extension assembly to the engine harness and instrument panel wire assemblies. Refer to the Parts Information table below for the correct harness and usage.
  18. Figure 13


    Object Number: 829196  Size: SH
  19. Secure the rear harness wire extension assembly to the frame assembly by completing the following steps:
  20. 12.1. Secure the clip, which is part of the rear harness wire extension assembly, to the frame assembly by tightening the bolt.
    12.2. Secure the rosebud clips, which hold the rear harness wire extension assembly, to the frame assembly.
    12.3. Push the rear harness wire extension into the retainer clips.
    12.4. Secure the band ties, which hold the rear harness wire extension assembly, to the frame assembly.
  21. Connect the rear harness wire extension assembly to the main fuel tank assembly.
  22. Important: This step should be completed for diesel engine equipped trucks. This step is not required for gas engine equipped trucks.

  23. Connect the rear harness wire extension assembly to the diesel fuel pump.
  24. Connect the rear harness wire extension assembly to the rear taillight wire harness.
  25. Connect the rear harness wire extension assembly electrical ground and the main fuel tank electrical ground to the frame assembly by tightening the bolt.
  26. Important: This step should be completed for diesel engine equipped trucks. This step is not required for the gas engine equipped trucks.

  27. Connect the diesel fuel pump electrical ground to the frame assembly by tightening the bolt to the frame assembly. Note the connection point to the frame is identical to the connection point reference in Step 15.
  28. Reprogram the ECM/PCM using the applicable fuel system and engine diagnostic calibration part numbers listed below. The fuel system calibration and the engine diagnostic calibration should be changed when the fuel tank configuration is changed.
  29. For gasoline engines ONLY, use the Tech 2 to trigger the ECM/PCM to run OBD II diagnosis in order to inspect for fuel system leaks. Make any necessary repairs if leaks are detected.
  30. Affix a fuel system modification notice label, P/N 15036254, to the inside of the glove box in order to document that the auxiliary fuel tank has been removed from this truck and the ECM/PCM has been reprogrammed, if applicable.
  31. The authorized GM dealership must contact the Techline Customer Support Center (TCSC) at 1-800-828-6860 to request the VCI number and provide the TCSC with the VIN and the required calibration of the vehicle being converted to production single fuel tank system.
  32. The TCSC will update General Motors' database with the new calibration number of the vehicle being converted for future reference.

Calibration Information

2001 Fuel Calibrations

Calibration P/N

Fuel Tank

Engine

Emissions

15063381

Single

LB7

All

15063382

Dual

LB7

All

16264588

Single

LQ4/L18

All

16264637

Dual

LQ4/L18

Fed/Leaded Export

16264638

Dual

LQ4/L18

California

2002 Fuel Calibrations

Calibration P/N

Fuel Tank

Engine

Emissions

15085502

Single

LB7

All

15085503

Dual

LB7

All

16264588

Single

LQ4

All

16264637

Dual

LQ4

Fed/Leaded Export

16264638

Dual

LQ4

California

16264617

Single

L18

All

16264615

Dual

L18

Fed/Leaded Export

16264616

Dual

L18

California

2001 Engine Diagnostic Calibrations

Calibration P/N

Fuel Tank

Engine

Emissions

09358106

Dual

LQ4/MW3

Fed

09358108

Dual

LQ4/MW3

Leaded Export

09362549

Single

LQ4/MW3

California

09362552

Dual

LQ4/MW3

California

16264011

Single

LQ4/MW3

Fed

16264012

Single

LQ4/MW3

Leaded Export

09362445

Dual

LQ4/MT1

Fed

09362446

Dual

LQ4/MT1

Leaded Export

09362541

Single

LQ4/MT1

California

09362551

Dual

LQ4/MT1

California

16264001

Single

LQ4/MT1

Fed

16264007

Single

LQ4/MT1

Leaded Export

09362441

Single

L18/M74

California

09362443

Dual

L18/M74

California

09362444

Dual

L18/M74

Fed

16264018

Single

L18/M74

Fed

09362553

Single

L18/ML6

California

09362555

Dual

L18/ML6

California

09362578

Dual

L18/ML6

Fed

16264019

Single

L18/ML6

Fed

2002 Engine Diagnostic Calibrations

Calibration P/N

Fuel Tank

Engine

Emissions

09358917

Dual

LQ4/MW3

Fed/Fleet

09358920

Dual

LQ4/MW3

California

09362638

Single

LQ4/MW3

California

09362640

Single

LQ4/MW3

Fed/Fleet

09358918

Dual

LQ4/MT1

Fed/Fleet

09358919

Dual

LQ4/MT1

California

09362622

Single

LQ4/MT1

Fed/Fleet

09362624

Single

LQ4/MT1

California

09358098

Single

L18/ML6

Fed/Fleet

09362569

Dual

L18/ML6

Fed/Fleet

09358982

Single

L18/M74

Fed/Fleet

09358985

Dual

L18/M74

Fed/Fleet

09362566

Single

L18/ML6

California

09362570

Dual

L18/ML6

California

09358984

Single

L18/M74

California

09358986

Dual

L18/M74

California

The calibrations listed are electronic calibrations and are NOT available from GMSPO. Calibrations are available from Techline on TIS 2000 data version 6 for 2001 or later.

Parts Information

Part Number

Description

Series/Options

12172650

Harness Asm - Chassis Wiring

360, 364 w/ LQ4/L18 and NQZ, UY7, 5X7

w/o EVA/8S3

360, 364 w/ LQ4/L18 and NQZ, UY7, 5Y0

w/o EVA/5X7/8S3

360, 364 w/ LQ4/L18 and NQZ, UY7, 8S3

w/o EVA

12172652

Harness Asm - Chassis Wiring

360, 364 w/ LQ4/L18 and EVA, NQZ, UY7, 5X7

w/o 8S3

360, 364 w/ LQ4/L18 and EVA, NQZ, UY7, 5Y0

w/o 5X7/8S3

360, 364 w/ LQ4/L18 and EVA, NQZ, UY7, 8S3

15057563

Harness Asm - Chassis Wiring

360 w/ LB7, NQZ, UY7

15057564

Harness Asm - Chassis Wiring

360 w/ LB7, NQZ, UY7

15057565

Harness Asm - Chassis Wiring

364 w/ LB7, NQZ, UY7

15057566

Harness Asm - Chassis Wiring

364 w/ LB7, NQZ, UY7

15058858

Harness Asm - Chassis Wiring

360 w/ LQ4/L18 and EVA, NQZ, UY7

w/o 5X7/5Y0/8S3

15058859

Harness Asm - Chassis Wiring

360 w/ LQ4/L18 and EVA, NQZ, UY7

w/o 5X7/5Y0/8S3

15058860

Harness Asm - Chassis Wiring

364 w/ LQ4/L18 and EVA, NQZ, UY7

w/o 5X7/5Y0/8S3

15058861

Harness Asm - Chassis Wiring

364 w/ LQ4/L18 and EVA, NQZ, UY7

w/o 5X7/5Y0/8S3

15036254

Fuel System Modification Label

 

12065172

Connector

 

12065249

TPA

 

12010300

Cavity Plug

 

Parts are currently available from GMSPO.

RPO Definitions

RPO Code

Description

LB7

Engine, 6.6L Diesel

LQ4

Engine, 6.0L Gas

L18

Engine, 8.1L Gas

NQZ

Fuel Tank, Aux. Rear Mount - Delete

UY7

Wiring Harness, Truck Trailer HD

5X7

Provisions, Wrecker Emergency Lamp

5Y0

Wiring Provision, Body Builder Emergency Lamp

8S3

Alarm, Back-Up

EVA

Evap Emission Requirement