GM Service Manual Online
For 1990-2009 cars only
Makes
🢒
Chevrolet
🢒
2002
🢒
Chevy C Silverado - 2WD
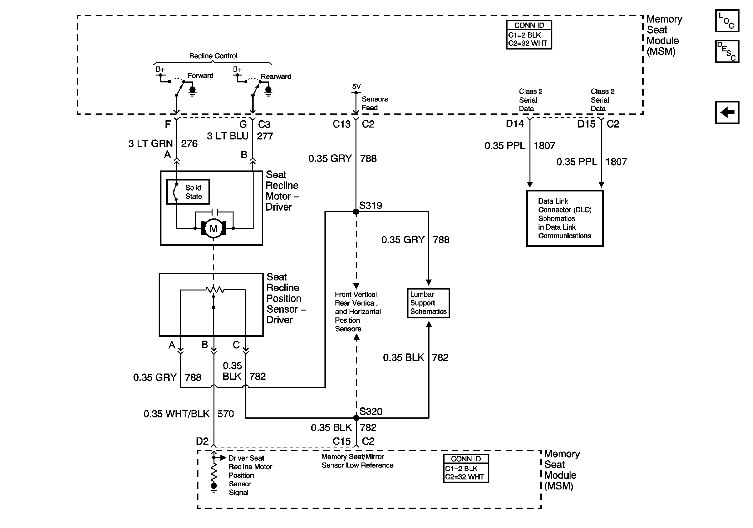
🢒 Recline Motor and Sensor
Recline Motor and Sensor
Recline Motor and Sensor
Master Electrical Component List
Vertical and Horizontal Motors and Sensors
Serial Data Class 2
Lumbar (w/ Memory)