GM Service Manual Online
For 1990-2009 cars only
Makes
🢒
Chevrolet
🢒
2002
🢒
Chevy C Silverado - 2WD
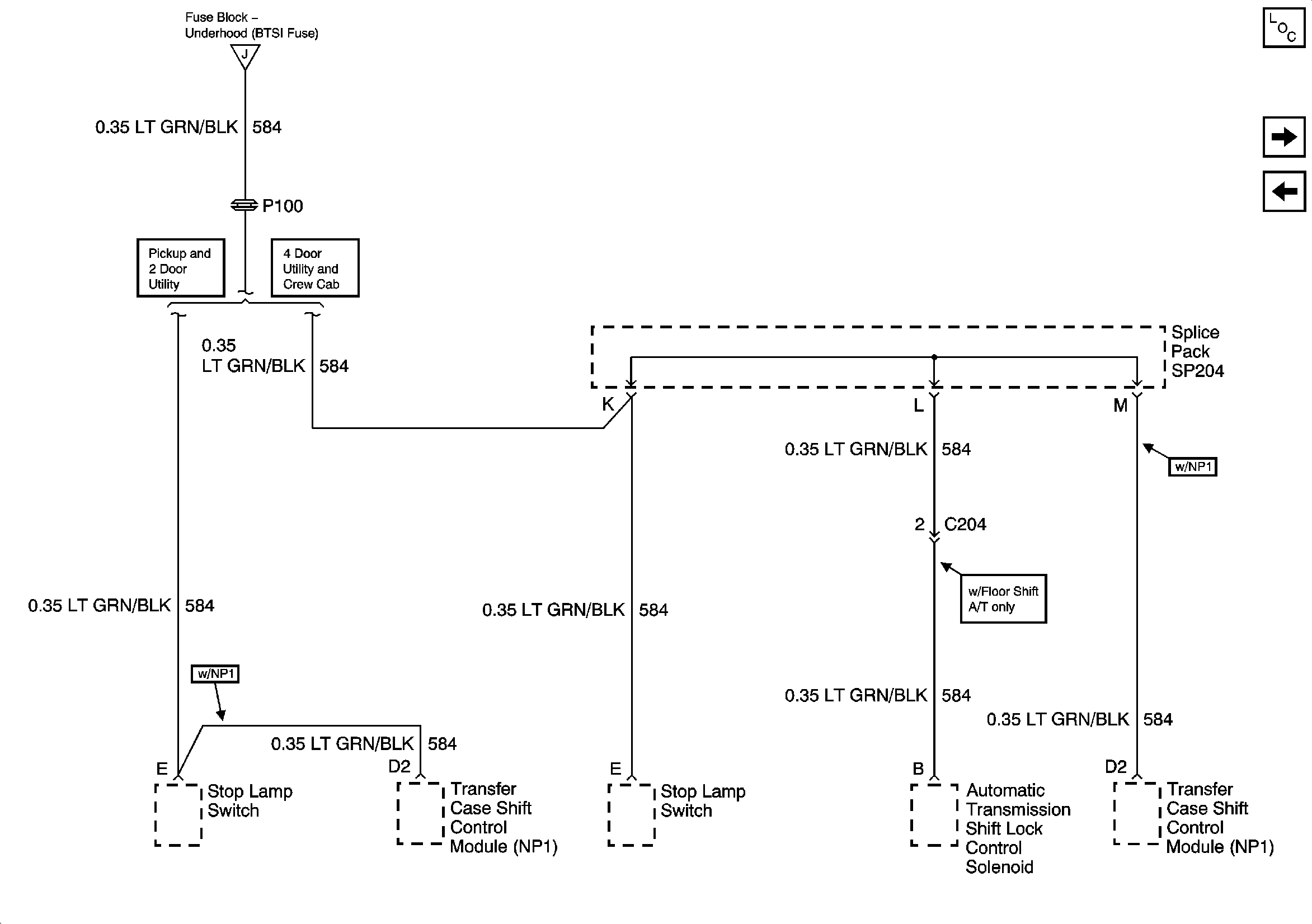
🢒 BTSI Fuse Power (Automatic Transmission)
BTSI Fuse Power (Automatic Transmission)
BTSI Fuse Power (Automatic Transmission)
Master Electrical Component List
ENG I and OXYGEN Fuses
B/U LP, TRL B/U, VEH B/U, and BTSI Fuses (Automatic Transmission)
B/U LP, TRL B/U, VEH B/U, and BTSI Fuses (Automatic Transmission)