GM Service Manual Online
For 1990-2009 cars only
Makes
🢒
Chevrolet
🢒
2002
🢒
Chevy C Silverado - 2WD
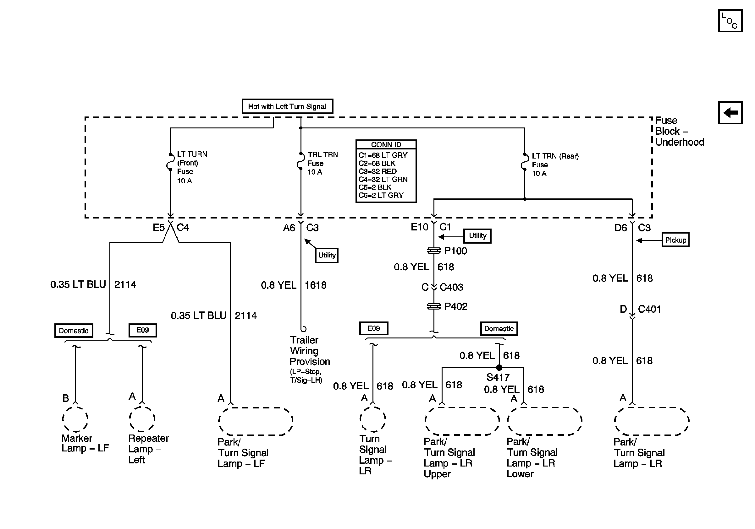
🢒 LT TURN, LT TRN and TRL TRN Fuses
LT TURN, LT TRN and TRL TRN Fuses
LT TURN, LT TRN and TRL TRN Fuses
Master Electrical Component List
RT TURN, RT TRN and TRR TRN Fuses