GM Service Manual Online
For 1990-2009 cars only
Makes
🢒
Chevrolet
🢒
2002
🢒
Chevy C Silverado - 2WD
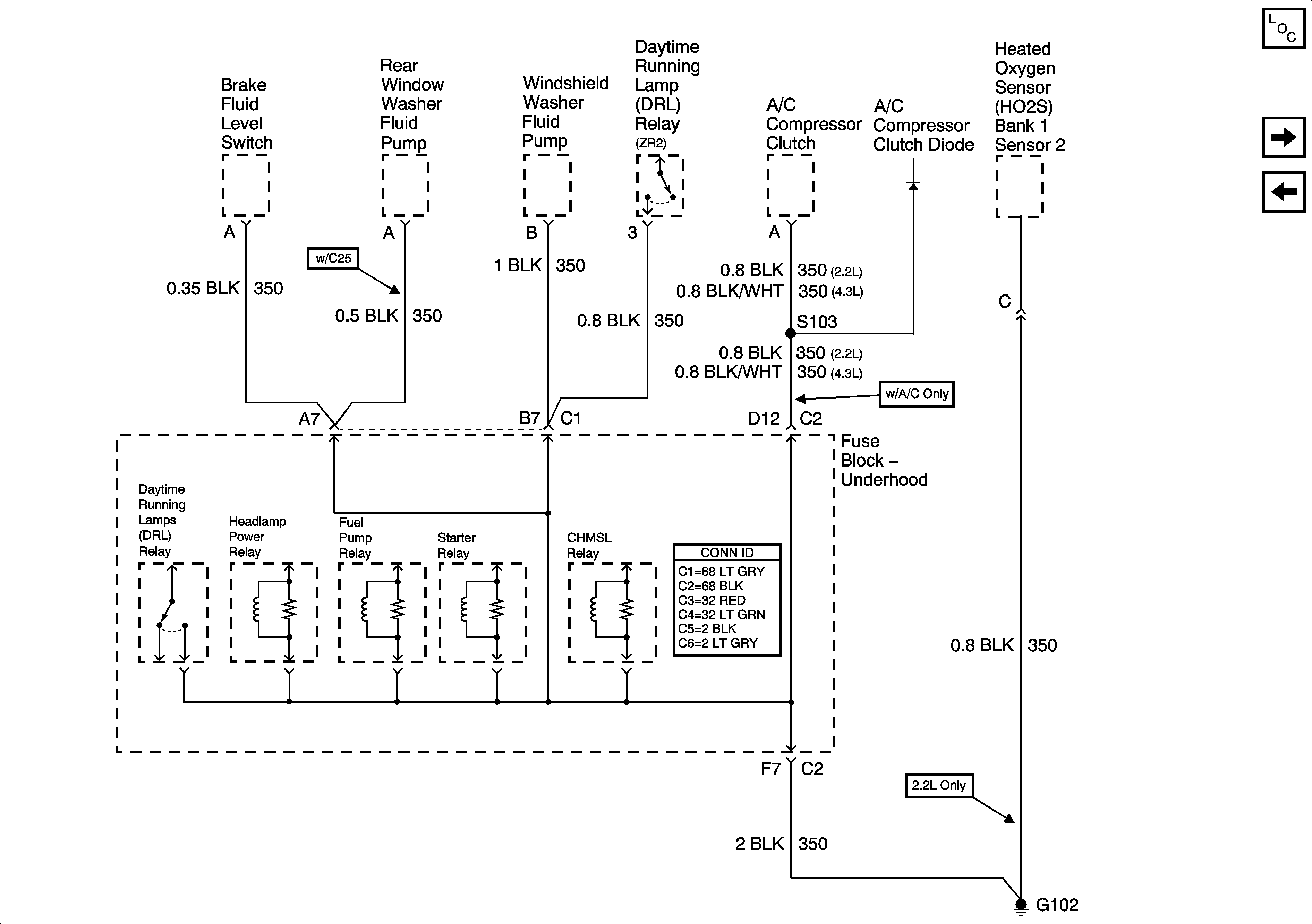
🢒 G102 (Except Export)
G102 (Except Export)
G102 (Except Export)
Master Electrical Component List
G102 (Export)
G100, G101, G106, G107, G108, and G110