GM Service Manual Online
For 1990-2009 cars only
Makes
🢒
Chevrolet
🢒
2002
🢒
Chevy C Silverado - 2WD
🢒 Speed Sensors
Speed Sensors
Speed Sensors
Master Electrical Component List
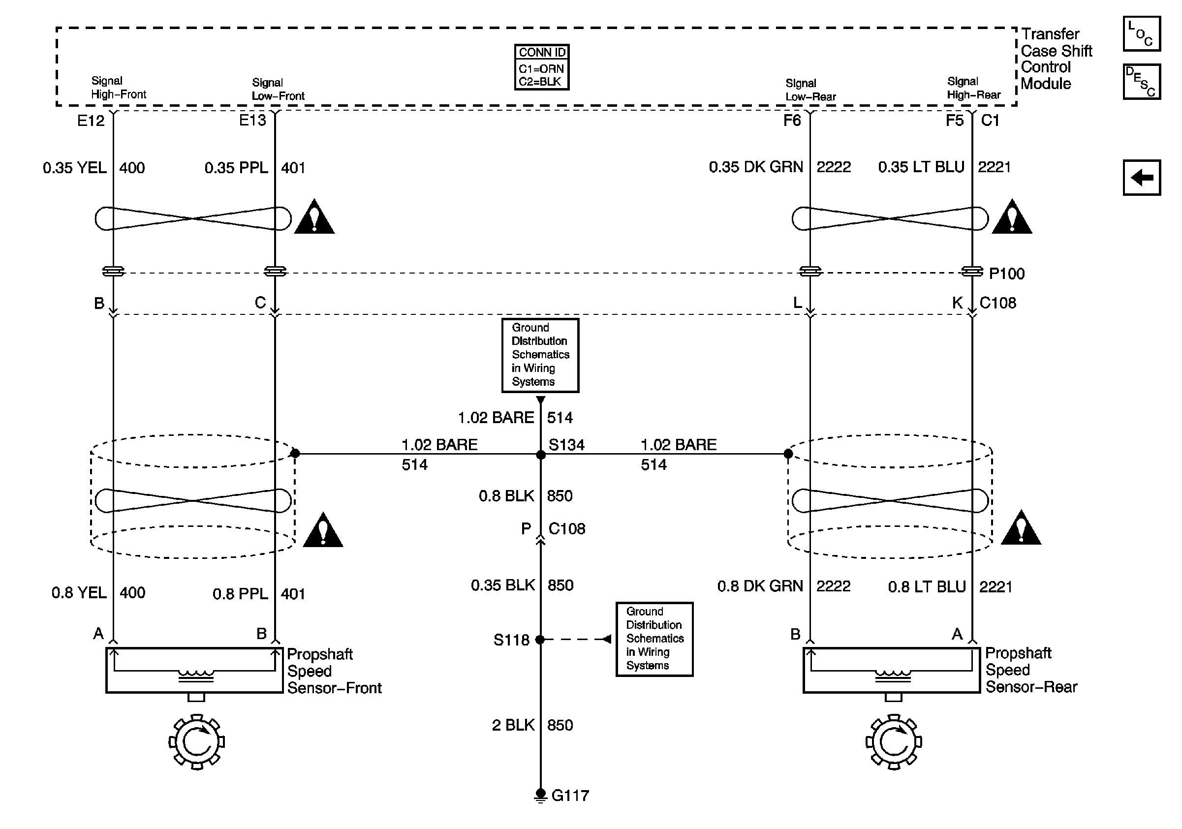
Transfer Case Description and Operation
Transfer Case Encoder Motor and Shift Control Module
Transfer Case Control Schematic Icons
Transfer Case Control Schematic Icons
Transfer Case Control Schematic Icons
Transfer Case Control Schematic Icons