GM Service Manual Online
For 1990-2009 cars only
Makes
🢒
Chevrolet
🢒
2002
🢒
Chevy C Silverado - 2WD
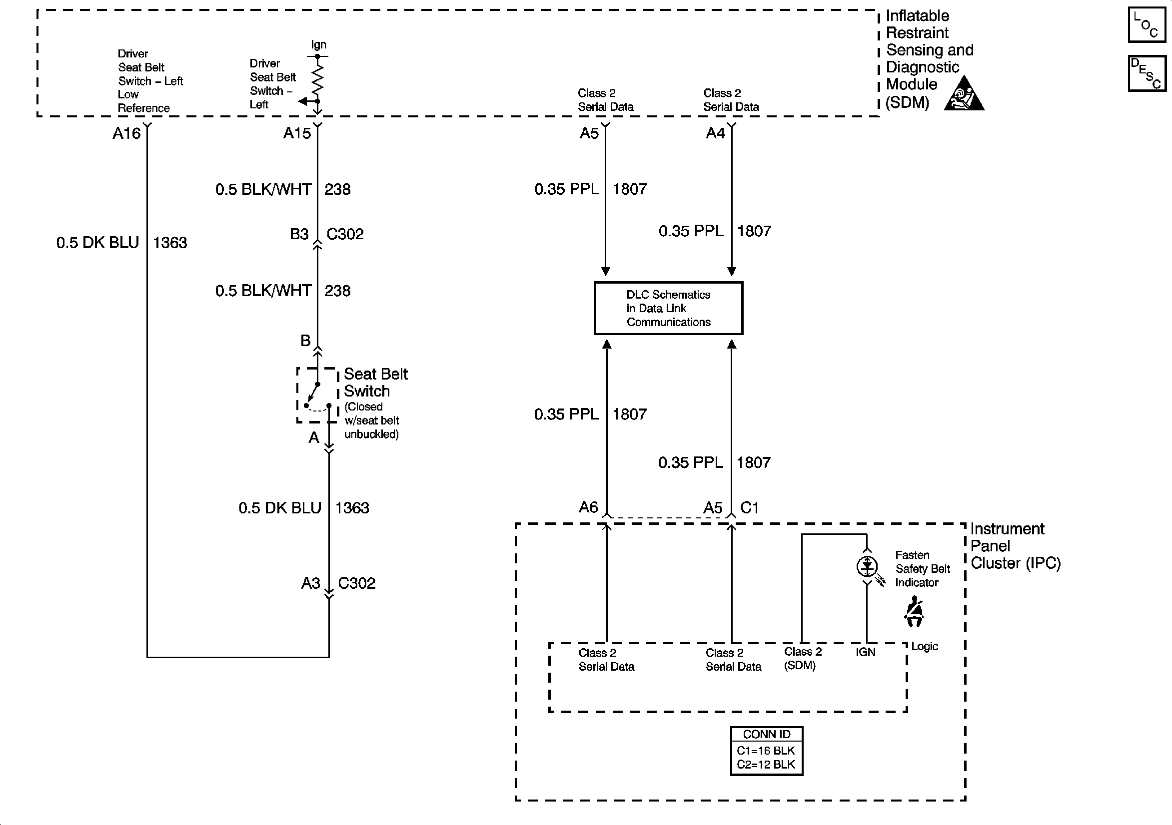
🢒 Seat Belt Schematics
Seat Belt Schematics
Master Electrical Component List
SIR Schematic Icons
Serial Data Class 2