GM Service Manual Online
For 1990-2009 cars only
Makes
🢒
Chevrolet
🢒
2002
🢒
Chevy C Silverado - 2WD
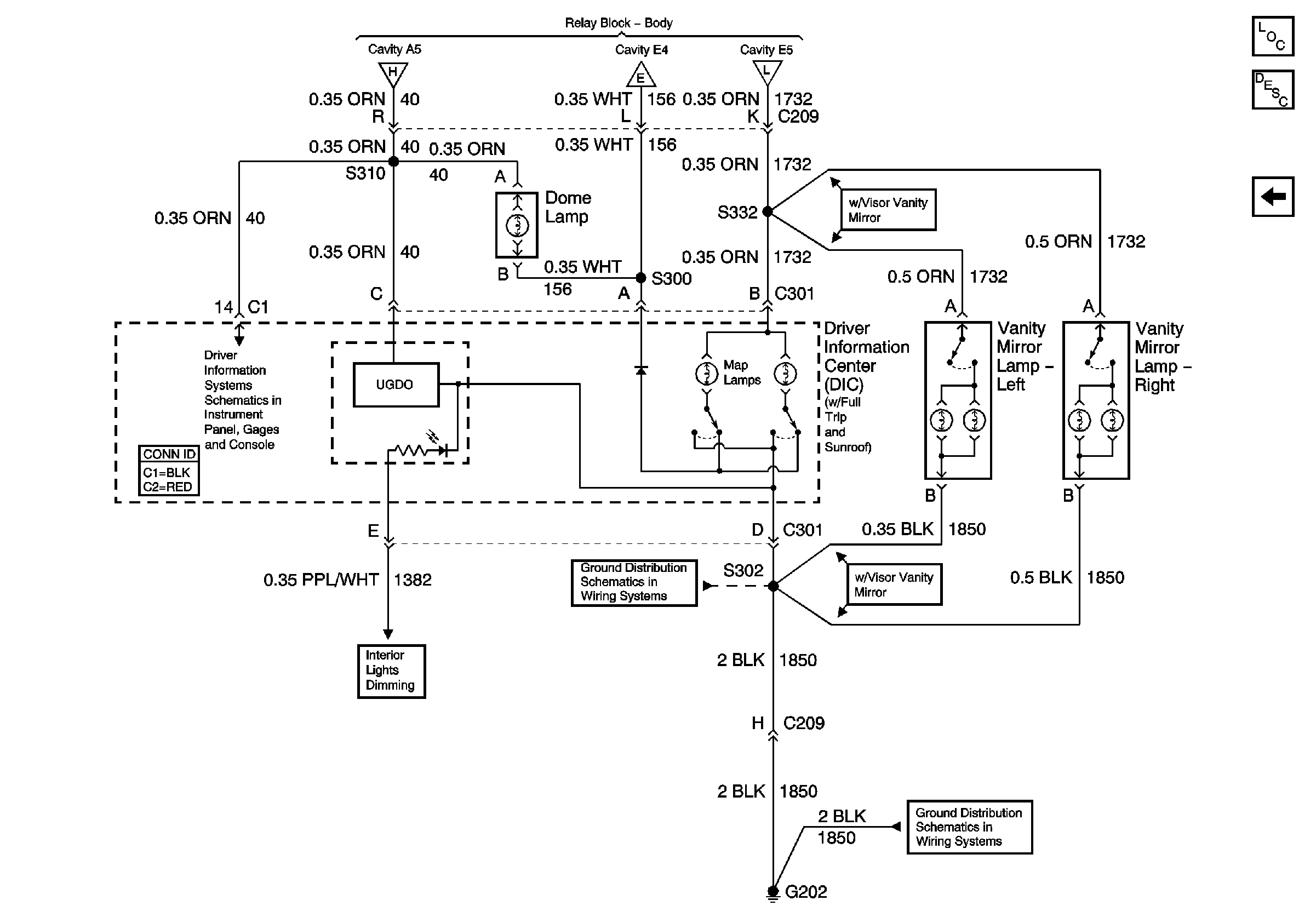
🢒 Driver Information Display Module (Utility w/ Sunroof)
Driver Information Display Module (Utility w/ Sunroof)
Driver Information Display Module (Utility w/ Sunroof)
Master Electrical Component List
Interior Lighting Systems Description and Operation
Driver Information Center (Utility w/o Sunroof)
CTSY LP Fuse and Courtesy Lamp Relay
CTSY LP Fuse and Courtesy Lamp Relay
Inadvertent Power Relay
Power and Ground (w/ Trip Computer)
G202 (Utility and Crew Cab)
G202 (Utility and Crew Cab)