GM Service Manual Online
For 1990-2009 cars only
Makes
🢒
Chevrolet
🢒
2002
🢒
Chevy C Silverado - 2WD
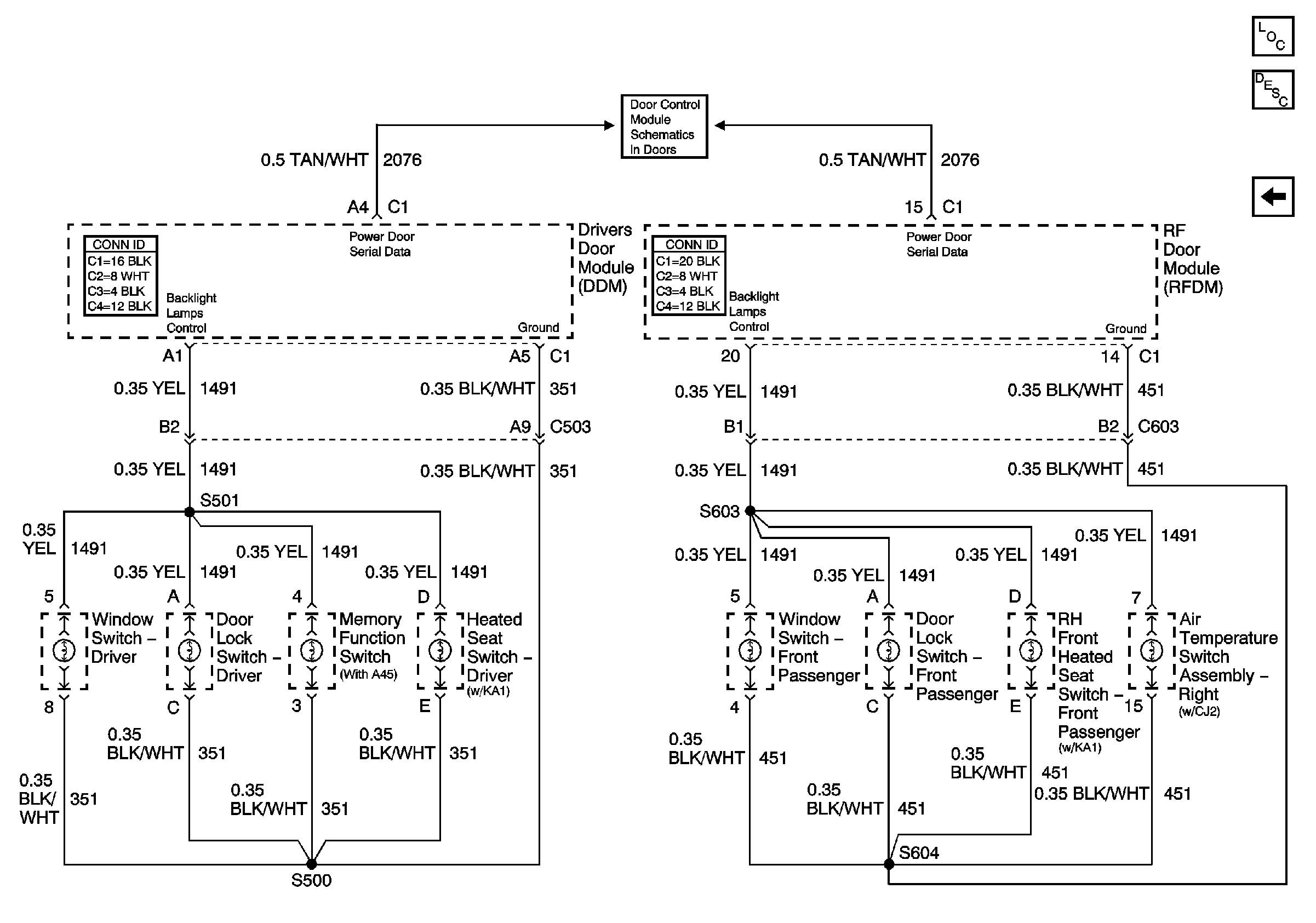
🢒 Front Doors Dimming
Front Doors Dimming
Front Doors Dimming
Master Electrical Component List
Steering Wheel Controls Dimming
Driver Door