GM Service Manual Online
For 1990-2009 cars only
Makes
🢒
Chevrolet
🢒
2002
🢒
Chevy C Silverado - 2WD
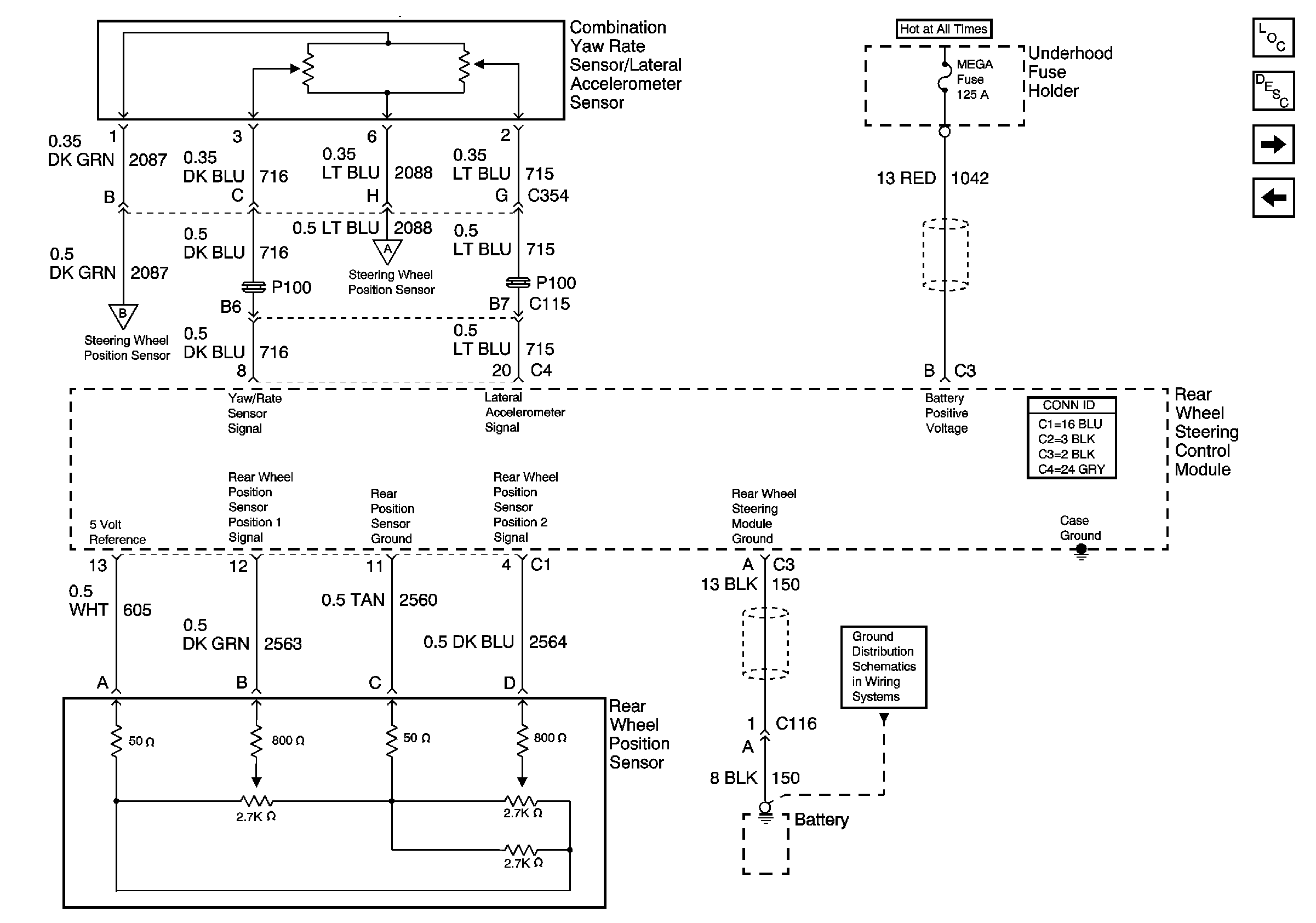
🢒 Power, Ground, YAW/Rate and Rear Position Sensor
Power, Ground, YAW/Rate and Rear Position Sensor
Power, Ground,Combination YAW Rate Sensor/Lateral Accelerometer Sensor,and Rear Wheel Position Sensor
Master Electrical Component List
Steering Gear Motor Assembly
Handwheel Position Sensor
G103 and G105 - Gas
Handwheel Position Sensor
Handwheel Position Sensor