GM Service Manual Online
For 1990-2009 cars only
Makes
🢒
Chevrolet
🢒
2002
🢒
Chevy C Silverado - 2WD
🢒 Transmission Controls - A/T
Transmission Controls - A/T
Transmission Controls - A/T
Master Electrical Component List
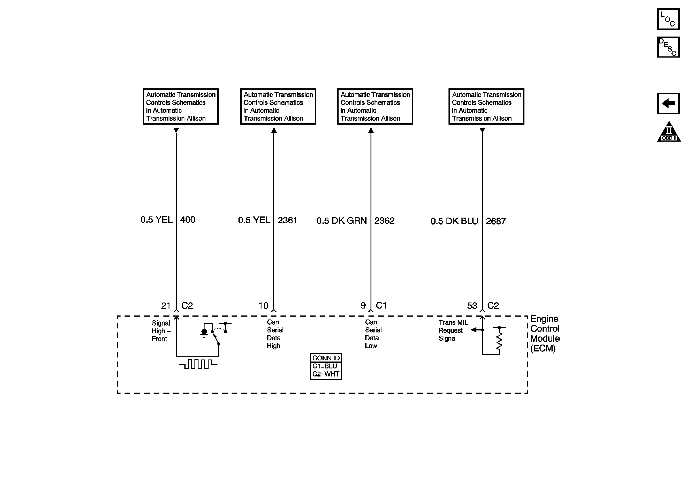
Engine Control Module Description
Controlled/Monitored Subsystem References
OBD II Symbol Description Notice
Power, Ground, and Stop Lamp Switch TCC Signal Circuit
Power, Ground, and Stop Lamp Switch TCC Signal Circuit
Power, Ground, and Stop Lamp Switch TCC Signal Circuit
Power, Ground, and Stop Lamp Switch TCC Signal Circuit