GM Service Manual Online
For 1990-2009 cars only
Makes
🢒
Chevrolet
🢒
2002
🢒
Chevy C Silverado - 2WD
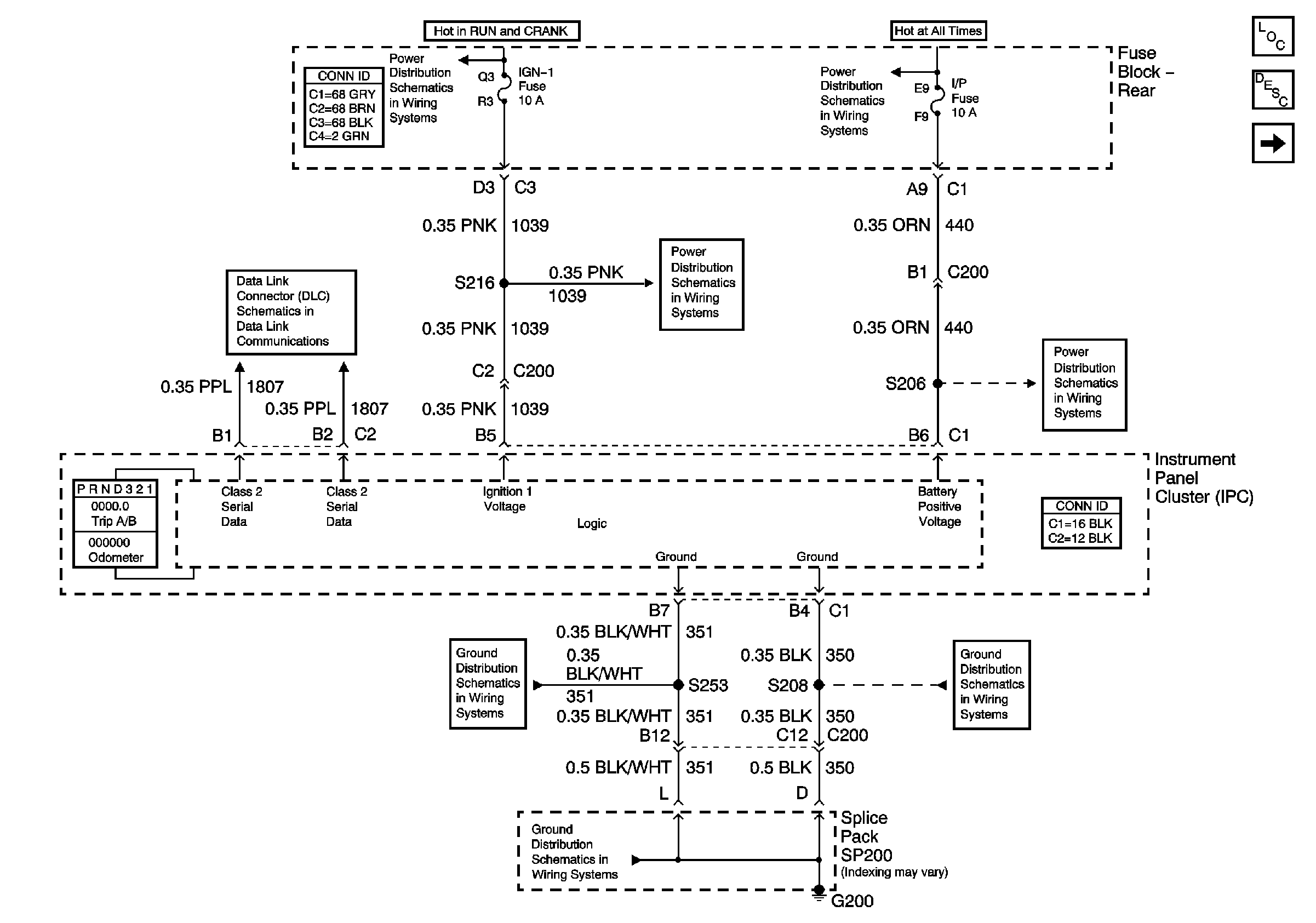
🢒 Power, Ground andClass 2
Power, Ground andClass 2
Power , Ground and Class 2
Master Electrical Component List
Instrument Cluster Description and Operation
Gauges
IGN-1, VENT SOL, and SIR Fuses (Fuse Block Rear)
IP, CIGAR, AUX PWR and C/LTR Fuses and CIGAR Relay (Fuse Block Rear)
Serial Data Class 2
IGN-1, VENT SOL, and SIR Fuses (Fuse Block Rear)
IP, CIGAR, AUX PWR and C/LTR Fuses and CIGAR Relay (Fuse Block Rear)
G200 (1 of 2)
G200 (2 of 2)
G200 (1 of 2)