GM Service Manual Online
For 1990-2009 cars only
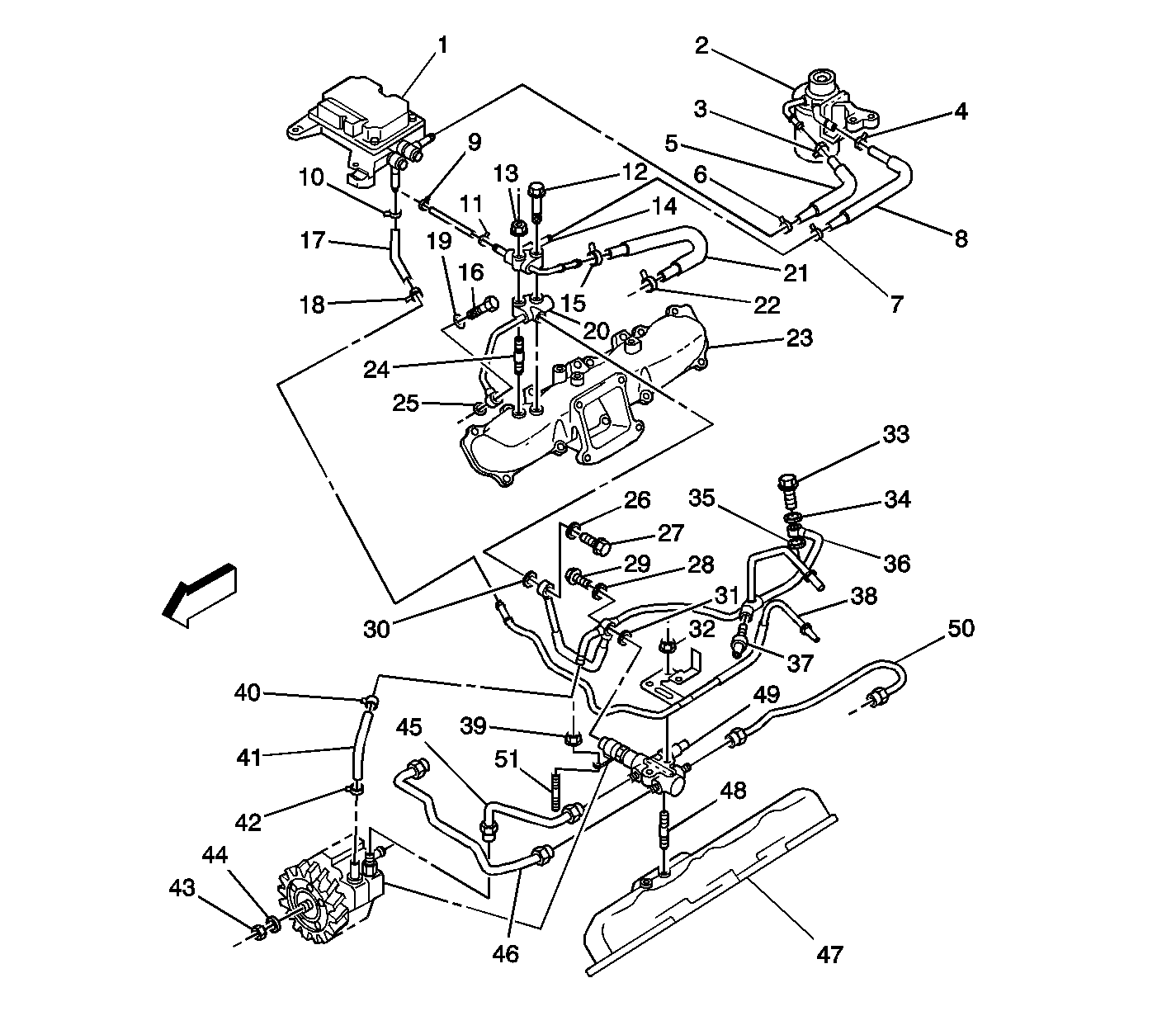
Figure 1:

Fuel Injection System Components-Part 1


Object Number: 793483  Size: LF
(1)Fuel Injection Control Module (FICM)
(2)Fuel Filter/Heater Element Housing
(3)Fuel Hose Clamp
(4)Fuel Hose Clamp
(5)FICM to Fuel Filter/Heater Element Housing
(6)Fuel Hose Clamp
(7)Fuel Hose Clamp
(8)Fuel Filter/Heater Element Housing to Fuel Feed Block
(9)Fuel Hose Clamp
(10)Fuel Hose Clamp
(11)Fuel Hose Clamp
(12)Fuel Feed Block Bolt
(13)Fuel Feed Block Nut
(14)Fuel Feed Block
(15)Fuel Hose Clamp
(16)Fuel Leak Pipe Eye Bolt
(17)FICM to Fuel Feed Pipe Fuel Hose
(18)Fuel Hose Clamp
(19)Fuel Leak Pipe Eye Bolt Gasket
(20)Fuel Return Block
(21)Fuel Return Block to Fuel Injection Pump Fuel Hose
(22)Fuel Hose Clamp
(23)Right Intake Manifold
(24)Fuel Feed Block/Fuel Return Block Mounting Stud
(25)Fuel Leak Pipe Eye Bolt Gasket
(26)Fuel Return Pipe Eye Bolt Gasket
(27)Fuel Return Pipe Eye Bolt
(28)Fuel Return Pipe Eye Bolt Gasket
(29)Fuel Return Pipe Eye Bolt
(30)Fuel Return Pipe Eye Bolt Gasket
(31)Fuel Return Pipe Eye Bolt Gasket
(32)Fuel Feed Pipe Retaining Nut
(33)Fuel Return Pipe Eye Bolt
(34)Fuel Return Pipe Eye Bolt Gasket
(35)Fuel Return Pipe Eye Bolt Gasket
(36)Fuel Return Pipe
(37)Fuel Temperature Sensor
(38)Fuel Feed Pipe
(39)Fuel Junction Block Retaining Bolt
(40)Fuel Hose Clamp
(41)Fuel Return Pipe to Fuel Injection Pump Fuel Hose
(42)Fuel Hose Clamp
(43)Fuel Injection Pump Nut
(44)Fuel Injection Pump Washer
(45)Fuel Injection Pump to Junction Block Pipe
(46)Right Fuel Rail Feed Pipe
(47)Left Intake Manifold
(48)Junction Block Mounting Stud
(49)Fuel Junction Block
(50)Left Fuel Rail Feed Pipe
(51)Junction Block Mounting Stud
Figure 2:

Fuel Injection System Components-Part 2


Object Number: 793485  Size: LF
(1)Right Rocker Arm Cover
(2)Fuel Injector Return Pipe Eye Bolt Gasket
(3)Right Injector Fuel Return Pipe
(4)Fuel Injector Return Pipe Eye Bolt
(5)Fuel Injector Return Pipe Eye Bolt
(6)Fuel Injector Return Pipe Eye Bolt Gasket
(7)Fuel Injector Feed Pipe (Right)
(8)Right Fuel Rail
(9)Right Cylinder Head
(10)Left Fuel Rail
(11)Left Cylinder Head
(12)Left Rocket Arm Cover
(13)Left Injector Fuel Return Pipe
(14)Fuel Injector Return Pipe Eye Bolt
(15)Fuel Injector Return Pipe Eye Bolt Gasket
(16)Fuel Injector Return Pipe Eye Bolt Gasket
(17)Fuel Injector Return Pipe Eye Bolt
(18)Fuel Injector Feed Pipes (Left)