GM Service Manual Online
For 1990-2009 cars only

Fuel Tank Replacement Pickup

Removal Procedure


    Object Number: 853731  Size: SH
  1. Relieve the fuel system pressure. Refer to the Fuel Pressure Relief .
  2. Drain the fuel tank. Refer to Fuel Tank Draining .
  3. Remove the fuel tank filler housing to body screws (1), and retainer (2).

  4. Object Number: 300318  Size: SH
  5. Remove the fuel tank filler housing to fuel tank fill pipe screws.
  6. Remove the fuel tank filler housing.

  7. Object Number: 816707  Size: SH
  8. Remove the rear axle vent hose from the clip on the fuel fill pipe bracket.
  9. Raise and suitably support the vehicle. Refer to Lifting and Jacking the Vehicle in General Information.

  10. Object Number: 815635  Size: SH
  11. Remove the fuel tank ground strap bolt (3).
  12. Remove the chassis harness ground strap (2) and fuel tank ground strap (4).

  13. Object Number: 816694  Size: SH
  14. Loosen the fuel fill pipe clamp at the tank.
  15. Remove the fuel tank fill pipe from the tank and vehicle.
  16. Remove the evaporative emission (EVAP) canister. Refer to Evaporative Emission Canister Replacement .

  17. Object Number: 626413  Size: SH
  18. If necessary, remove the fuel tank shield bolts.
  19. Remove the fuel tank shield.

  20. Object Number: 878130  Size: SH
  21. Remove the fuel feed/return pipes from the clip on the fuel tank.
  22. Disconnect the fuel feed/return pipes from the fuel tank pipes. Refer to Plastic Collar Quick Connect Fitting Service .
  23. Cap the fuel and EVAP pipes in order to prevent possible fuel/EVAP system contamination.
  24. Place a suitable adjustable jack under the fuel tank.
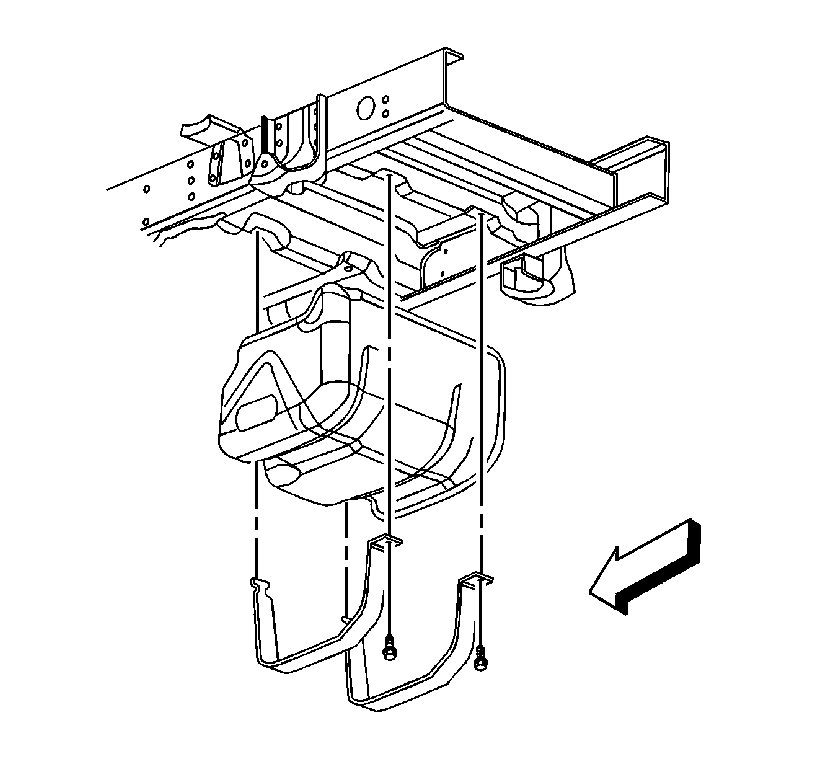
  25. Notice: Refer to Damage to Fuel Tank Straps Notice in the Preface section.


    Object Number: 300138  Size: SH
  26. Remove the fuel tank strap bolts.
  27. Remove the fuel tank straps.
  28. Lower the fuel tank until the electrical connections are accessible.

  29. Object Number: 878152  Size: SH
  30. Disconnect the fuel sending unit and pressure sensor electrical connectors (1).
  31. Completely lower the fuel tank.
  32. With the aid of an assistant, place the fuel tank in a suitable work area.

  33. Object Number: 815641  Size: SH
  34. Disconnect and remove the fuel feed (3) and return (2) pipes from the sending unit and retaining clips.
  35. Disconnect and remove the EVAP pipe (1) from the sending unit, roll over valve (3), and retaining clip.
  36. If replacing the fuel tank, remove the sending unit. Refer to Fuel Sender Assembly Replacement .

Installation Procedure


    Object Number: 815641  Size: SH
  1. If the fuel tank was replaced, install the sending unit. Refer to Fuel Sender Assembly Replacement .
  2. Install and connect the EVAP pipe (1) to the sending unit, roll over valve (3), and retaining clip.
  3. Install and connect the fuel feed (3) and return (2) pipes to the sending unit and retaining clips.

  4. Object Number: 878152  Size: SH
  5. With the aid of an assistant, place the fuel tank on the jack.
  6. Raise the fuel tank until the electrical connections can be made.
  7. Connect the fuel sending unit and pressure sensor electrical connectors (1).

  8. Object Number: 300138  Size: SH
  9. Install the fuel tank straps.
  10. Notice: Use the correct fastener in the correct location. Replacement fasteners must be the correct part number for that application. Fasteners requiring replacement or fasteners requiring the use of thread locking compound or sealant are identified in the service procedure. Do not use paints, lubricants, or corrosion inhibitors on fasteners or fastener joint surfaces unless specified. These coatings affect fastener torque and joint clamping force and may damage the fastener. Use the correct tightening sequence and specifications when installing fasteners in order to avoid damage to parts and systems.

  11. Install the fuel tank strap bolts.
  12. Tighten
    Tighten the bolts to 40 N·m (30 lb ft).

  13. Remove the adjustable jack from under the fuel tank.

  14. Object Number: 878130  Size: SH
  15. Remove the caps from the fuel and EVAP pipes.
  16. Connect the fuel feed/return pipes to the fuel tank pipes. Refer to Plastic Collar Quick Connect Fitting Service .
  17. Install the fuel feed/return pipes to the clip on the fuel tank.

  18. Object Number: 626413  Size: SH
  19. If necessary, install the fuel tank shield.
  20. Install the fuel tank shield bolts.
  21. Tighten
    Tighten the bolts to 18 N·m (13 lb ft).

  22. Install the EVAP canister. Refer to Evaporative Emission Canister Replacement .

  23. Object Number: 816694  Size: SH
  24. Install the fuel tank fill pipe to the tank and vehicle.
  25. Tighten the fuel fill pipe clamp at the tank.
  26. Tighten
    Tighten the clamp to 2.5 N·m (22 lb in).


    Object Number: 815635  Size: SH
  27. Install the chassis harness ground strap (2) and fuel tank ground strap (4).
  28. Install the fuel tank ground strap bolt (3).
  29. Tighten
    Tighten the bolt to 9 N·m (80 lb in).

  30. Lower the vehicle.

  31. Object Number: 816707  Size: SH
  32. Install the rear axle vent hose to the clip on the fuel fill pipe bracket.

  33. Object Number: 300318  Size: SH
  34. Install the fuel tank filler housing.
  35. Install the fuel tank filler housing to fuel tank fill pipe screws.
  36. Tighten
    Tighten the screws to 2.3 N·m (20 lb in).


    Object Number: 853731  Size: SH
  37. Install the fuel tank filler housing to body screws (1), and retainer (2).
  38. Tighten
    Tighten the screws to 2.3 N·m (20 lb in).

  39. Fill the fuel tank.
  40. Install the fuel fill cap.
  41. Connect the negative battery cable. Refer to Battery Negative Cable Disconnection and Connection in Engine Electrical.
  42. Use the following procedure in order to inspect for leaks:
  43. • Turn the ignition ON, with the engine OFF, for 2 seconds.
    • Turn the ignition OFF for 10 seconds.
    • Turn the ignition ON, with the engine OFF.
    • Inspect for fuel leaks.

Fuel Tank Replacement Cab/Chassis - Front

Removal Procedure


    Object Number: 877728  Size: SH
  1. Relieve the fuel system pressure. Refer to the Fuel Pressure Relief .
  2. Disconnect the fuel feed and pressure balance rear pipes, if required. Refer to Metal Collar Quick Connect Fitting Service

  3. Object Number: 877738  Size: SH
  4. Loosen the fuel fill and vent hose clamps at the tank.
  5. Remove the fuel fill and vent hose from the tank.
  6. Drain the fuel tank. Refer to Fuel Tank Draining .

  7. Object Number: 877752  Size: SH
  8. Disconnect the fuel sending unit and pressure sensor electrical connectors (1).

  9. Object Number: 877707  Size: SH
  10. Disconnect the fuel feed/return pipes from the fuel tank pipes. Refer to Metal Collar Quick Connect Fitting Service .
  11. Raise and suitably support the vehicle. Refer to Lifting and Jacking the Vehicle in General Information.

  12. Object Number: 877744  Size: SH
  13. Remove the fuel tank shield bolts.
  14. Remove the fuel tank shield.
  15. Place a suitable adjustable jack under the fuel tank.
  16. Notice: Refer to Damage to Fuel Tank Straps Notice in the Preface section.


    Object Number: 667731  Size: SH
  17. Remove the fuel tank strap bolts.
  18. Remove the fuel tank straps (1).
  19. Lower the fuel tank.
  20. With the aid of an assistant, place the fuel tank in a suitable work area.
  21. Cap the fuel and EVAP pipes in order to prevent possible fuel/EVAP system contamination.
  22. If replacing the fuel tank, remove the sending unit. Refer to Fuel Sender Assembly Replacement .

Installation Procedure


    Object Number: 667731  Size: SH
  1. IF the fuel tank was replaced, install the sending unit. Refer to Fuel Sender Assembly Replacement .
  2. Remove the caps from the fuel and EVAP pipes.
  3. With the aid of an assistant, place the fuel tank on the jack.
  4. Raise the fuel tank.
  5. Install the fuel tank straps (1).
  6. Notice: Use the correct fastener in the correct location. Replacement fasteners must be the correct part number for that application. Fasteners requiring replacement or fasteners requiring the use of thread locking compound or sealant are identified in the service procedure. Do not use paints, lubricants, or corrosion inhibitors on fasteners or fastener joint surfaces unless specified. These coatings affect fastener torque and joint clamping force and may damage the fastener. Use the correct tightening sequence and specifications when installing fasteners in order to avoid damage to parts and systems.

  7. Install the fuel tank strap bolts.
  8. Tighten
    Tighten the bolts to 40 N·m (30 lb ft).


    Object Number: 877744  Size: SH
  9. Remove the jack from under the fuel tank.
  10. Install the fuel tank shield.
  11. Install the fuel tank shield bolts.
  12. Lower the vehicle.

  13. Object Number: 877707  Size: SH
  14. Connect the fuel feed/return pipes to the fuel tank pipes. Refer to Metal Collar Quick Connect Fitting Service .

  15. Object Number: 877752  Size: SH
  16. Connect the fuel sending unit and pressure sensor electrical connectors (1).

  17. Object Number: 877738  Size: SH
  18. Install the fuel fill and vent hose to the tank.
  19. Tighten the fuel fill and vent hose clamps at the tank.
  20. Tighten
    Tighten the clamps to 2.5 N·m (22 lb in).


    Object Number: 877728  Size: SH
  21. Connect the fuel feed and pressure balancer rear pipes, if required. Refer to Metal Collar Quick Connect Fitting Service .
  22. Install the fuel fill cap.
  23. Connect the negative battery cable. Refer to Battery Negative Cable Disconnection and Connection in Engine Electrical.
  24. Use the following procedure in order to Inspect for leaks:
  25. 18.1. Turn the ignition ON, with the engine OFF, for 2 seconds.
    18.2. Turn the ignition OFF for 10 seconds.
    18.3. Turn the ignition ON, with the engine OFF.
    18.4. Inspect for fuel leaks.

Fuel Tank Replacement Cab/Chassis - Rear

Tools Required

J 44581 Fuel Line Disconnect Tool

Removal Procedure


    Object Number: 877741  Size: SH
  1. Relieve the fuel system pressure. Refer to the Fuel Pressure Relief .
  2. Loosen the fuel fill vent hose clamps at the tank.
  3. Remove the fuel fill pipe and vent hose from the tank.
  4. Drain the fuel tank. Refer to Fuel Tank Draining .

  5. Object Number: 877754  Size: SH
  6. Disconnect the fuel tank pressure sensor electrical connector (2).

  7. Object Number: 881567  Size: SH
  8. Disconnect the fuel feed pipe from the sending unit. Refer to Metal Collar Quick Connect Fitting Service .
  9. Using J 44581 , disconnect the fuel return pipe from the sending unit.
  10. Raise and suitably support the vehicle. Refer to Lifting and Jacking the Vehicle in General Information.

  11. Object Number: 877746  Size: SH
  12. Remove the fuel tank shield bolts.
  13. Remove the fuel tank shield.
  14. Place a suitable adjustable jack under the fuel tank.
  15. Notice: Refer to Damage to Fuel Tank Straps Notice in the Preface section.


    Object Number: 877748  Size: SH
  16. Remove the fuel tank strap bolts.
  17. Remove the fuel tank straps.
  18. Lower the fuel tank.
  19. With the aid of an assistant, place the fuel tank in a suitable work area.
  20. If replacing the fuel tank, remove the sending unit. Refer to Fuel Sender Assembly Replacement .
  21. Cap the fuel and EVAP pipes in order to prevent possible fuel/EVAP system contamination.

Installation Procedure


    Object Number: 877748  Size: SH
  1. Remove the caps from the fuel and EVAP pipes.
  2. If the fuel tank was replaced, install the sending unit. Refer to Fuel Sender Assembly Replacement .
  3. With the aid of an assistant, place the fuel tank on the jack.
  4. Raise the fuel tank.
  5. Install the fuel tank straps.
  6. Notice: Use the correct fastener in the correct location. Replacement fasteners must be the correct part number for that application. Fasteners requiring replacement or fasteners requiring the use of thread locking compound or sealant are identified in the service procedure. Do not use paints, lubricants, or corrosion inhibitors on fasteners or fastener joint surfaces unless specified. These coatings affect fastener torque and joint clamping force and may damage the fastener. Use the correct tightening sequence and specifications when installing fasteners in order to avoid damage to parts and systems.

  7. Install the fuel tank strap bolts.
  8. Tighten
    Tighten the bolts to 40 N·m (30 lb ft).

  9. Remove the jack from under the fuel tank.

  10. Object Number: 877746  Size: SH
  11. Install the fuel tank shield.
  12. Install the fuel tank shield bolts.
  13. Tighten
    Tighten the bolts to 18 N·m (13 lb ft).

  14. Lower the vehicle.

  15. Object Number: 881567  Size: SH
  16. Connect the fuel feed/return pipes to the sending unit. Refer to Metal Collar Quick Connect Fitting Service .

  17. Object Number: 877754  Size: SH
  18. Connect the fuel tank pressure sensor electrical connector (2).

  19. Object Number: 877741  Size: SH
  20. Install the fuel fill pipe and vent hose to the tank.
  21. Tighten the fuel fill and vent hose clamps at the tank.
  22. Tighten
    Tighten the clamps to 2.5 N·m (22 lb in).

  23. Fill the fuel tank.
  24. Install the fuel fill cap.
  25. Connect the negative battery cable. Refer to Battery Negative Cable Disconnection and Connection in Engine Electrical.
  26. Use the following procedure in order to inspect for leaks:
  27. 18.1. Turn the ignition ON, with the engine OFF, for 2 seconds.
    18.2. Turn the ignition OFF for 10 seconds.
    18.3. Turn the ignition ON, with the engine OFF.
    18.4. Inspect for fuel leaks.