GM Service Manual Online
For 1990-2009 cars only

Transfer Case Shift Control Switch


Object Number: 1385648  Size: SH

The NVG 263 transfer case features a three button shift control switch located on the instrument panel. When the ignition is in the RUN position, the transfer case shift control module (TCCM) starts monitoring the transfer case shift control switch to determine if the driver desires a new mode/gear position. At a single press of the transfer case shift control switch, the lamp of the new desired position begins flashing to inform the driver that the TCCM has received the request for a new mode/gear position. The lamp continues to flash until all shifting criteria has been met and the new mode/gear position has been engaged. Once the new mode/gear position is fully active, the switch indicator for the new position remains ON constantly. In the event that the TCCM can not or will not complete the shift, the indicator returns to the previously selected position; this is a Transfer Case Shift Control Switch Indicator Flashes, then Returns to Previous Mode condition.

The NVG 263 transfer case provides the driver with 4 manual mode/gear positions:

    • 2HI - 2 Wheel Drive high range
    • 4HI - 4 Wheel Drive high range
    •  4LO - 4 Wheel Drive low range
    • Neutral

The driver may choose to select any of these mode/gear positions while driving the vehicle. However, the transfer case will not allow a shift into or out of 4LO unless the following criteria has been met:

    • The ignition switch is in RUN.
    • The automatic transmission is in Park or Neutral - clutch depressed on manual transmissions.
    • The vehicle speed is below 5 km/h (3 mph).

This transfer case also has a Neutral position. A shift to the Neutral position allows the vehicle to be towed without the rear axle rotating the transmission output shaft. Neutral position may be obtained only if the following criteria has been met:

    • The ignition switch is in RUN.
    • The automatic transmission is in Park or Neutral - clutch depressed on manual transmissions.
    • The vehicle speed is below 5 km/h (3 mph).
    • The transfer case is in 2HI mode.

Once these conditions have been met, press and hold both the 2HI and 4LO buttons for 10 seconds. When the system completes the shift to neutral, the red neutral lamp illuminates.

A shift to the neutral position allows the vehicle to be towed without rotating the transmission output shaft. In the neutral position, the rear propeller shaft rotates the transfer case rear output shaft, in turn rotating the oil pump, thus providing constant lubrication during towing. This neutral position is a 4WD neutral, meaning the front and rear outputs of the transfer case are engaged as though in 4HI. With a disconnecting front axle, there is no power flow to the front wheels, thus allowing towing with the front wheels off the ground or flat towing without driveline binding.

The NVG 263 transfer case is available in 2 variations, depending on the engine and transmission configurations. The variations allow the transfer case to handle different torque loads. When servicing the transfer case, it is important to understand which variation is being serviced because of the difference in parts.

NVG 263 Variations

Model

Transmission

Input Gear

Output Shaft

Chain Size

Hi/Low Planetary

Application

Heavy Duty (HD)

MT1 - 4L80E

MN8 - 4L80E HD

32T

Spline

32T

Spline

7/16 X 1.5 in

6 Pinion

K2, K3

Super Heavy Duty (SHD)

M74 - Allison

29T

Spline

31T

Spline

7/16 X 1.5 in

6 Pinion

K2, K3

The HD and the SHD model share many of the same components, but the increased torque capacity of the SHD requires a double row input bearing, larger diameter rear output shaft, rear output shaft bearing higher capacity, larger rear seal and case halves machined differently.

The NVG has some changes from prior model years. The NVG 263 has a new style encoder motor. The oil pump on the HD variations is now the same as the SHD variation. Along with the oil pump change, the oil pump suction pipe and screen were changed to the SHD style. The NVG 263 HD now uses a different rear output shaft.

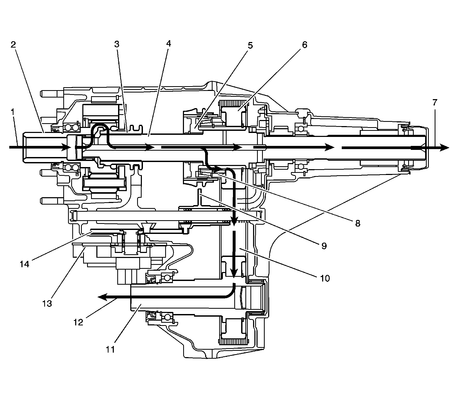
2WD Mode Power Flow


Object Number: 839860  Size: LF

The transfer case is shifted by an encoder motor (9) on the shift detent lever shaft. The shift detent lever shaft rotates the cam shaped shift detent lever (10) and moves the high/low range shift fork (11) or the 2/4 wheel drive mode shift fork (8). Depending on the selected mode or range, the shift forks move either the high/low range sleeve (4) for the high/low range planetary assembly (3) or the synchronizer sleeve (6) for the 2/4 wheel drive mode. In 2WD mode, the engine power from the transmission (1) is delivered to the input shaft (2). The engagement teeth on the inside of the input shaft (2) are engaged to the outer teeth on the high/low range sleeve (4). The high/low range sleeve (4) is slip splined to rear output shaft (5). The engine power flows from the high/low range sleeve (4) to the rear output shaft (5) and delivered to rear propeller shaft (7).

4HI Mode Power Flow


Object Number: 839861  Size: LF

In 4HI mode, the engine power from the transmission (1) is delivered to the input shaft (2). The engagement teeth on the inside of the input shaft (2) are engaged to the outer teeth on the high/low range sleeve (3). The high/low range sleeve (3) is slip splined to the rear output shaft (4). During a shift mode from 2HI to 4HI, the cam profile on the shift detent lever (14) pushes the 2/4 wheel drive mode shift fork (9) and the synchronizer sleeve. The sleeve, engaging the synchronizer (5), equalizes the front propeller shaft (12) and rear propeller shaft (7) speeds. The sleeve then engages to the 2/4 wheel drive synchronizer gear (8), which is splined to the drive sprocket (6). The engine power flow for driving the front propeller shaft (12), now travels from the rear output shaft (4) to the synchronizer hub, which is splined to the rear output shaft (4). The power flows from the synchronizer hub to the sleeve and then to 2/4 wheel drive synchronizer gear (8). The power flow is transmitted by a chain (10) to the driven sprocket on the front output shaft (11) and to the front propeller shaft (12). The front and rear propeller shafts are being driven at equal RPM, therefore giving a four wheel drive mode. This mode should only be used for extra traction. Using this mode on dry pavement causes tire scuffing when turning.

4LO Mode Power Flow


Object Number: 839862  Size: LF

During a range shift request to 4LO, a separate cam profile, on the same shift detent lever (12), moves the high/low shift fork (13). The high/low shift fork (13) moves the high/low range sleeve (6) rearward. The high/low range sleeve (6) outer teeth disengage from the input shaft (2) high-speed teeth. The high/low range sleeve (6) outer teeth then engage in the high/low planetary carrier teeth (5). The power flow is now from the transmission (1) to the planetary teeth on the input shaft (2) to the planetary gears (3) in the carrier. Rotating the planetary gears (3), which are engaged in the annulus gear (4), rotates the planetary carrier. The planetary carrier delivers the power to the high/low range sleeve (6). The high/low range sleeve (6) then drives the rear output shaft (7), providing a 2.72:1 gear ratio reduction to the rear output shaft (7). The 2/4 wheel drive synchronizer (8) is still engaged to drive the drive sprocket (9), as in the 4HI position, providing the engine power to the rear propeller shaft (10) and to the front propeller shaft (11).

Neutral Mode Power Flow

Shifting to the neutral position, the high/low range sleeve is centered between the input shaft and the high/low planetary carrier. The high/low range sleeve is not engaged with either the input shaft or the high/low planetary carrier teeth. The 2/4 wheel drive synchronizer is in the 4HI mode position.

Electrical Components

Below is a list of major components that make up the automatic transfer case (ATC) system.

Front Axle Actuator

The front axle actuator engages and disengages the front axle. The front axle actuator consists of a permanent magnetic (PM) motor, a worm gear controlled plunger, a front axle switch and an electronic control circuit. When a range shift to 4HI, or 4LO is requested, the transfer case shift control module requests engagement of the front axle by grounding the axle actuator control circuit through a current limiting driver. The front axle actuator also sends a return signal to the TCCM indicating when the 4WD is engaged.

SERVICE Indicator (4WD)

The SERVICE indicator (4WD) is an integral part of the cluster and cannot be serviced separately. This indicator is used to inform the driver of malfunctions within the automatic transfer case (ATC) system. The SERVICE indicator (4WD) is controlled by the transfer case shift control module via a Class 2 message or by a service indicator control circuit.

Transfer Case Encoder Motor


Object Number: 1385731  Size: SH

The transfer case encoder motor consists of a permanent magnet (PM) DC motor and gear reduction assembly. It is located on the left side, drivers side, of the transfer case. When activated, it turns the sector shaft of the transfer case clockwise or counter clockwise to shift the transfer case. The encoder motor is controlled by the transfer case shift control module. This circuit consists of a driver on both the motor control A and motor control B circuits. The encoder motor is bi-directional, to allow the motor to shift the transfer case from 2HI or 4HI to NEUTRAL and 4LO positions. The transfer case encoder motor can be fully driven clockwise or counterclockwise using a scan tool. You may also monitor motor control A and B circuits using a scan tool.

The encoder motor also has a built in encoder. This device is a linear encoder for 2003. The TCCM sends a 5 volt reference signal to the encoder. The TCCM reads the voltage back based on the exact position of the sector shaft of the transfer case. The TCCM knows if a shift has been completed and if the shift is somewhere in between.

The encoder motor on the NVG 263 does not have an internal brake like the NVG 246. The encoder motor is not serviceable and must be replaced as an assembly.

Transfer Case Shift Control Module (TCCM)


Object Number: 1385655  Size: SH

The TCCM is new for 2003. The TCCM has been standardized for all K trucks. The TCCM contains the same hardware, boot software, and operational software found in other GM K trucks. The only difference is the calibration file downloaded into the TCCM memory. The TCCM comes with the appropriate calibrations out of the factory, but new calibrations must be flashed into the TCCM during service. This is especially important if a new TCCM is installed during service. Calibration files may be introduced irregularly. See your technical service bulletins. Refer to Transfer Case Shift Control Module Reprogramming .

Vehicle Speed Sensor (VSS)

There is a VSS mounted to the transfer case on the rear output shaft. The VSS is a permanent magnet (PM) generator. The PM generator produces a AC voltage. The AC voltage and frequency increases as speed increases. The VSS is an input to the powertrain control module (PCM). The PCM sends this information to the transfer case shift control module via the Class 2 serial data bus.