The C/K model vehicle uses two different clutch hydraulic systems and five different
clutch variations. The vehicles with the 5 speed transmissions RPO MW3
and MG5 use a different clutch hydraulic system than the vehicles with the 6 speed
transmission RPO ML6. For the proper diagnosis, because of the clutch variations,
it is important to understand which clutch system is used.
4.3L Clutch
The 4.3L clutch system is described as the following:
| • | Clutch pressure plate - Diaphragm spring plate, non-self
adjusting |
| • | Clutch disc - Damper spring style |
| • | Hydraulic system - 5 speed |
4.8L Clutch
The 4.8L clutch system is described as the following:
| • | Size - 301 mm (11.85 in) |
| • | Clutch pressure plate - Diaphragm spring plate, non-self
adjusting |
| • | Clutch disc - Damper spring style |
| • | Hydraulic system - 5 speed |
6.0L Clutch
The 6.0L clutch system is described as the following:
| • | Size - 297 mm (11.70 in) |
| • | Clutch pressure plate - Diaphragm spring plate, self adjusting |
| • | Clutch disc - Damper spring style |
| • | Hydraulic system - 5 speed |
8.1L Clutch
The 8.1L clutch system is described as the following:
| • | Size - 297 mm (11.7 in) |
| • | Clutch pressure plate - Diaphragm spring plate, self adjusting |
| • | Clutch disc - Damper spring style |
| • | Hydraulic system - 6 speed |
6.6L Clutch
The 6.6L clutch system is described as the following:
| • | Clutch pressure plate - Diaphragm spring plate, self adjusting |
| • | Clutch disc - No damper spring style |
| • | Hydraulic system - 6 speed |
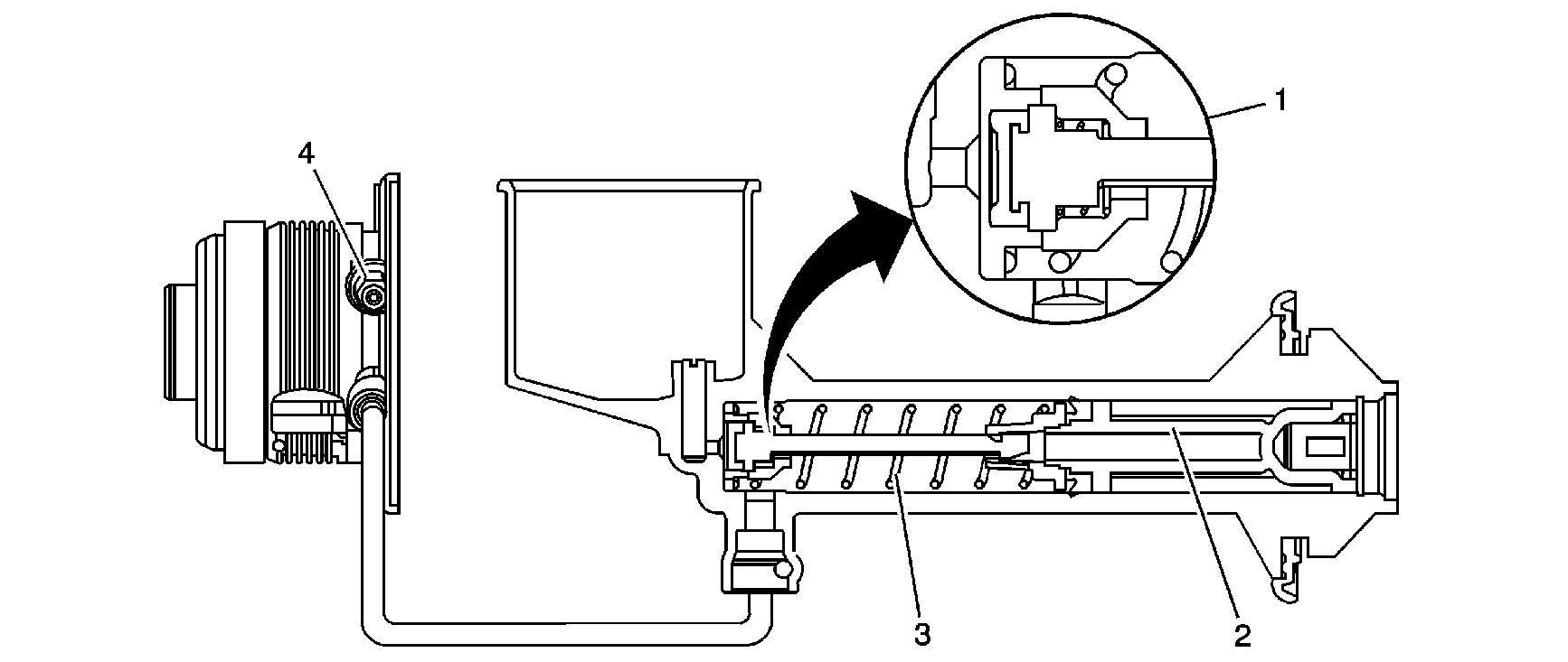
5 Speed Transmission Hydraulic Clutch System
The reservoir, which is part of the master cylinder, supplies the fluid at the
front of the master cylinder through the center feed port (1). The center feed
ports allow the flow of fluid from the reservoir to the cylinder when the pedal is
in the complete returned position. The master cylinder uses a spring (3) to
return the piston (2) to the clutch engagement position. A bleeder screw (4)
is located at the clutch actuator cylinder for bleeding the hydraulic system.
6 Speed Transmission Hydraulic Clutch System
The reservoir, mounted on the front of the master cylinder, supplies low pressure (3)
fluid to the master cylinder by a hose to the rear of the master cylinder, through
a compensation port (1). The compensation port (1), a small groove in
the nylon bore of the master cylinder, is closed from the high pressure (4)
fluid by the seals on the piston (2) after the clutch pedal is depressed 8 mm
(0.31 in). When the clutch pedal is in the full upright position, the port
is opened to allow air to return to the reservoir, or to allow fluid from the reservoir
to fill the cylinder bore. The piston in the master cylinder is connected to the pedal
pushrod. The clutch pedal has a spring for returning the piston to the clutch engagement
position. The system is bled by pumping the pedal, self-bleeding, or by the
vacuum pump method on the reservoir.
Clutch Pedal Reserve
Clutch pedal reserve is necessary in order for the clutch to be completely
disengaged and allow proper shifting of the transmission. Clutch pedal reserve is
the movement of the pedal after the clutch has fully released. The distance from clutch
full release (2) to pedal fully down (1) is the clutch reserve dimension,
typically 25-38 mm (1.0-1.5 in).
In order to test to determine if the clutch is properly releasing, and the hydraulic
system is functioning properly:
- Depress the clutch pedal fully to disengage the clutch.
- Shift into a low gear, either 1st or reverse.
- Slowly shift out of the gear, only to disengage the synchronizer sleeve
from the speed gear engagement teeth.
- Let up on the pedal, to engage the clutch.
- Depress the clutch pedal and shift back into gear.
If the clutch is releasing properly, you should be able to engage the gear without
grinding after 4 to 5 seconds, which is the time for the clutch disc to quit
spinning.
Clutch System Components
Non-Self-Adjusting Pressure Plate Assembly
The non-self adjusting diaphragm spring clutch consists of a pressure
plate (2), a diaphragm spring (3), a pivot ring (4), drive straps (5),
and a cover (1). When the release bearing contacts the tips of the diaphragm
spring fingers, it moves them toward the flywheel. The outside diameter of the diaphragm
spring pivots on a pivot ring inside the cover. This action lifts the pressure plate
off the flywheel through the drive straps, which connect the cover to the pressure
plate. Non-self adjusting pressure plates have different symptoms. On non-self
adjusting clutches, as the clutch wears, there is an increase in pedal effort. The
piston or release bearing in the clutch actuator cylinder moves towards the transmission
as the clutch wears. The piston is at the furthest position from the transmission
with a new clutch.
Self-Adjusting Pressure Plate Assembly
The self-adjusting diaphragm spring clutch consists of a pressure plate (1),
a diaphragm spring (5), a ramp ring (3), sensor (4), coil spring (6),
and a cover (2). In conventional clutch designs, pedal effort increases as
the disc wears. The self-adjusting clutch was designed to keep pedal effort
low and constant over the life of the clutch. As the disc friction material wears,
the ramp ring (3) in the clutch adjusts for the wear. The main diaphragm spring (5)
is not permanently riveted to the clutch cover, as with non-self-adjusting
clutch assemblies, but is only retained axially against the cover by a defined or
sensor (4) force. The clutch adjusts when the sensor (4) force cannot
hold the diaphragm spring (5) against the cover (2) because of wear
to the clutch disc. With the diaphragm spring (5) away from the cover, the
spring loaded ramp ring (3) compensates for the gap. The adjustment lasts until
the sensor (4) force can position the diaphragm spring to the original angle.
When new, the clutch actuator piston or release bearing is closer to the transmission,
on self-adjusting clutches. As the clutch wears, the clutch pressure plate
levers move towards the engine. The clutch actuator piston moves further from the
transmission. If a self-adjusting clutch does not self adjust, there will
be low pedal effort and low clutch pedal reserve. If the clutch has backward adjusted
after an incident of severe use, the pedal may seem hard. After a couple of applications,
the clutch should adjust to the proper adjustment.
Clutch Disc
The disc is a critical component in service life of the clutch system. It provides
smooth engagement and dampens engine vibrations. Mounted to the input shaft between
the flywheel and the clutch, it can slide forward and backward on the input shaft,
but cannot rotate without rotating the input shaft. Critical component parts include
the hub-flange (6) and the torsion springs (2 and 3). The hub-flange (6)
is located between a cover plate (5) and a retainer plate (8); it is
splined (7) to fit the input shaft. Torsion springs (2 and 3) reduce
vibrations passed to the transmission through the input shaft and eliminate gear rattle.
Friction material (1) is riveted to numerous metal components called marcels,
or cushion segments (4). Waves in marcels soften engagement. The clutch disc
with the 6.6L engine does not use damper springs.
Clutch Pedal
The clutch pedal, mounted on the engine cowl, is designed to compress the clutch
hydraulic fluid with little driver effort. The pedal swivels on bushings. There are
two different clutch pedal configurations. With the 5 speed transmission clutch
pedal (1), the clutch master cylinder pushrod latches into a socket on the
pedal. A spring, located inside of the clutch master cylinder, keeps the pushrod in
the pedal socket and returns the pedal to the correct position after depressing. With
the 6 speed transmission clutch pedal (2), the clutch master cylinder
pushrod connects to the pedal. The pedal contains a spring, which returns the pedal
and the master cylinder piston to the correct position after depressing. The 6 speed
pedal spring is an over-centering design. As the pedal is pushed further, the
leverage design of the pedal compresses the hydraulic fluid without any driver effort.
Because of the over-center design, if there is not hydraulic fluid resistance,
the pedal will stay to the floor.
Flywheel
Bolted to the end of the crankshaft, the flywheel (1) provides the mounting
surface for the clutch. During engagement, the disc is clamped against the flywheel
by the pressure plate. The flywheel acts as a heat sink, dissipating heat and moving
it away from the clutch pressure plate and disc friction material. The flywheel must
provide a smooth, flat surface in order for the clutch to operate properly. The dual-mass
flywheel (2), which is used on the 6.6L engine, is designed to absorb engine
vibrations before they are transmitted to the driveline, where they can create gear
rattle. This is achieved by splitting the conventional flywheel into two sections:
a primary section, which bolts to the crankshaft, and a secondary section, onto which
the clutch is bolted. The primary section of the flywheel contains springs to isolate
engine vibrations and a torque-limiting device to prevent engine torque spikes
from exceeding engine and transmission component strength.
Pilot Bearing/Bushing
On vehicles, except those with the 6.6L engine, a pilot bearing or bushing
is located in the end of the crankshaft. On the 6.6L engine, the pilot bearing is
located in the dual mass flywheel. The pilot bearing supports the end of the input
shaft and centers the disc on the flywheel. A small and relatively inexpensive component,
the pilot bearing or bushing should always be replaced during clutch installation.
The variety of conditions caused by a worn or defective bearing or bushing is not
worth the risk of having to remove the bell housing and transmission to replace this
small part.
Clutch Actuator Cylinder
The clutch actuator cylinder is fastened to the front of the transmission.
The actuator cylinder moves the clutch release bearing from the pressurized hydraulic
fluid. The actuator cylinder has a piston, which has seals that slide in the housing
assembly. There is a spring between the piston and housing to keep the piston at the
extended position, so that release bearing is in constant contact with the pressure
plate fingers. With the 5 speed system (1), the clutch actuator has
a bleeder for bleeding air out of the hydraulic system. The release bearing is replaceable
on the 5 speed system. With the 6 speed system (2), the clutch
actuator does not have a bleeder. To prevent loss of fluid, the hose comes with the
actuator.
Release Bearing
The release bearing is attached to the clutch actuator cylinder, which is attached
to the front of the transmission. Movement of the clutch actuator cylinder piston
moves the release bearing, to press against the tips of the diaphragm spring fingers.
Ball bearings, in the release bearing, enable it to turn while applying pressure to
the fingers. The release bearing is held in constant contact with the diaphragm spring
fingers to prevent slippage and wear. This load is supplied by the clutch actuator
spring.