GM Service Manual Online
For 1990-2009 cars only

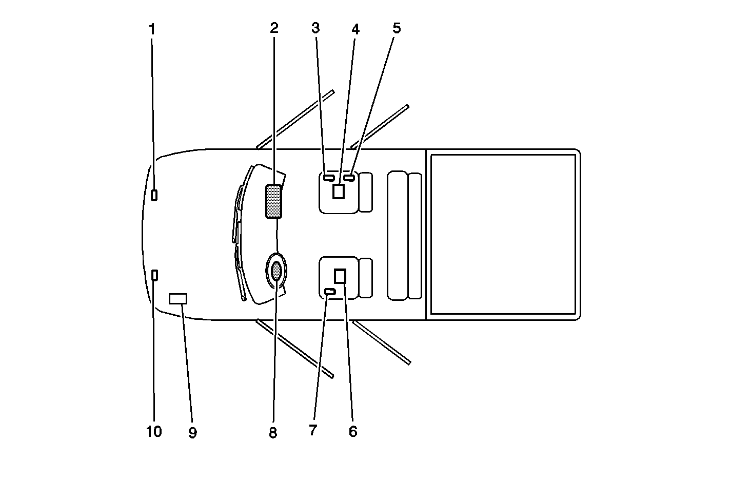
The SIR Identification Views shown below illustrate the approximate location of all SIR components available for the vehicle. This will assist in determining the appropriate SIR Disabling and Enabling for a given service procedure, refer to SIR Disabling and Enabling .

Sierra/Silverado


Object Number: 853011  Size: MF
(1)Inflatable Restraint Front End Sensor-Right-Located on the front frame crossmember
(2)Inflatable Restraint I/P Module-Located at the right front of the instrument panel cluster (IPC)
(3)Inflatable Restraint Seat Position Sensor (SPS)-Right-Located on the right front outboard seat track
(4)Inflatable Restraint Passenger Presence System (PPS)-Located under the right front seat mounted to the seat frame
(5)Inflatable Restraint Seat Belt Tension Retractor Sensor-Located on the outboard lower seat belt anchor
(6)Inflatable Restraint Sensing and Diagnostic Module (SDM)-Located under the left front seat under the carpet
(7)Inflatable Restraint Seat Position Sensor (SPS)-Left-Located on the left front outboard seat track
(8)Inflatable Restraint Steering Wheel Module-Located on the steering wheel
(9)Battery-Located under the hood on the left side
(10)Inflatable Restraint Front End Sensor-Left-Located on the front frame crossmember