GM Service Manual Online
For 1990-2009 cars only

Grille Replacement GMC

Removal Procedure

  1. Open the hood.

  2. Object Number: 371535  Size: SH
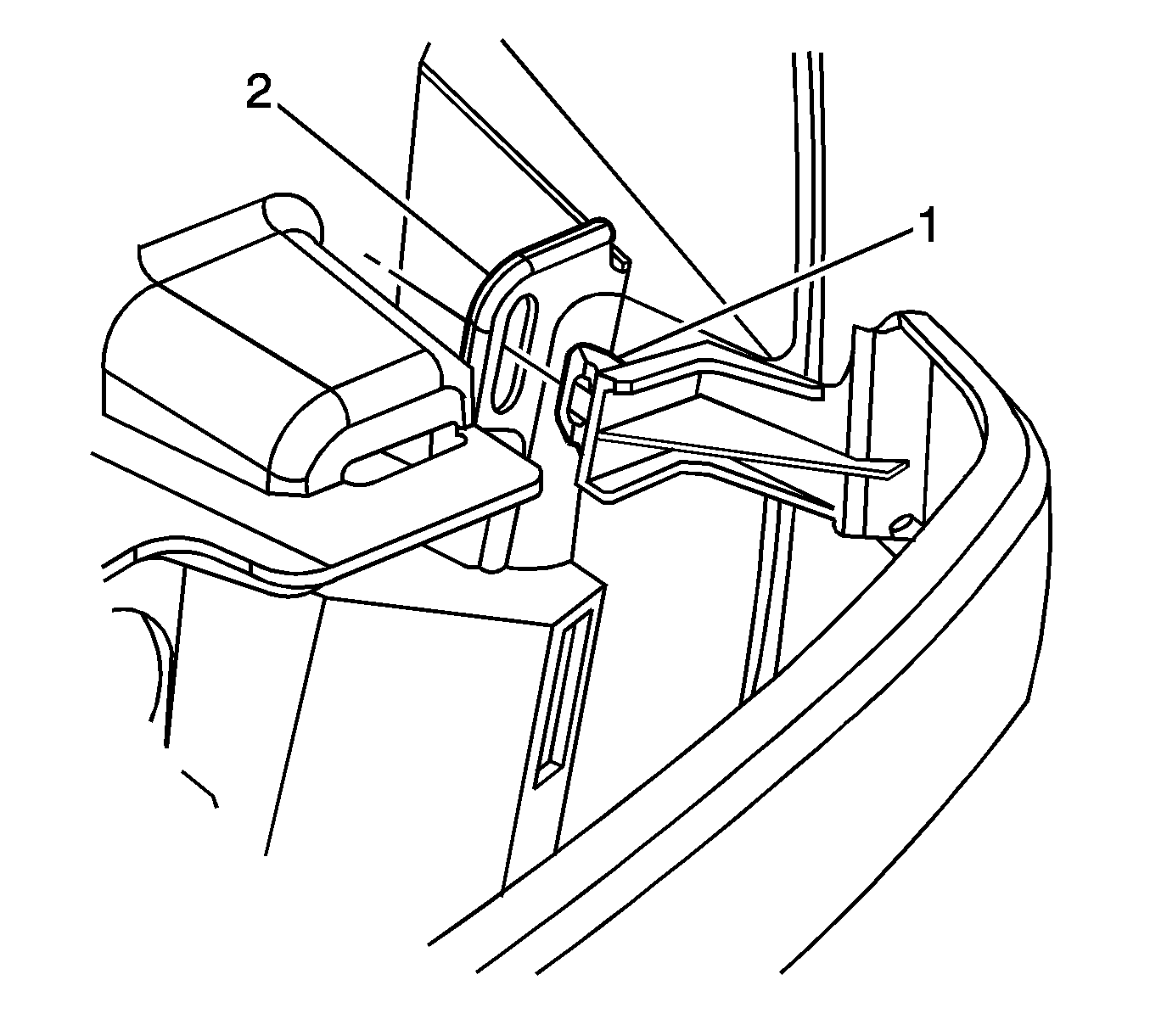
  3. Remove the upper grille baffle.

  4. Object Number: 370261  Size: SH
  5. Using a Phillips screw driver, rotate the grille retainer ¼ turn counterclockwise.

  6. Object Number: 370259  Size: SH
  7. Remove the screw holding the grille to the latch support.

  8. Object Number: 370264  Size: SH
  9. Release the grille end from the fender. Remove the grille from the vehicle.

Installation Procedure


    Object Number: 370264  Size: SH
  1. Press the grille ends into the fender.
  2. Notice: Refer to Fastener Notice in the Preface section.


    Object Number: 370259  Size: SH
  3. Install the screw holding the grille to the latch support.
  4. Tighten
    Tighten the grille screw to 9 N·m (75 lb in).


    Object Number: 370261  Size: SH
  5. Using a Phillips screwdriver, rotate the grille retainer ¼ turn clockwise.

  6. Object Number: 371535  Size: SH
  7. Install the upper grille baffle.
  8. Close the hood.
  9. Inspect for proper alignment.

Grille Replacement Chevrolet

Removal Procedure

  1. Open the hood.
  2. Remove the upper air baffle. Refer to Radiator Air Upper Baffle and Deflector Replacement .
  3. Remove the headlamp. Refer to Headlamp Assembly or Headlamp Bulb Replacement .

  4. Object Number: 1330864  Size: SH
  5. Release the side grille retainer (1) from the fender (2). Remove the grille from the vehicle.

  6. Object Number: 1330874  Size: SH
  7. Release the upper grille retainer (1) and the lower grille retainer (2) from the vehicle.

Installation Procedure


    Object Number: 1330864  Size: SH
  1. Press in the side grille retainers (1) into the fender (2).

  2. Object Number: 1330874  Size: SH
  3. Press the upper grille retainer (1) and lower grille retainer (2) to the vehicle.
  4. Install the headlamp. Refer to Headlamp Assembly or Headlamp Bulb Replacement .
  5. Install the upper air baffle. Refer to Radiator Air Upper Baffle and Deflector Replacement .
  6. Close the hood.