GM Service Manual Online
For 1990-2009 cars only
Makes
🢒
Chevrolet
🢒
2003
🢒
Chevy C Silverado - 2WD
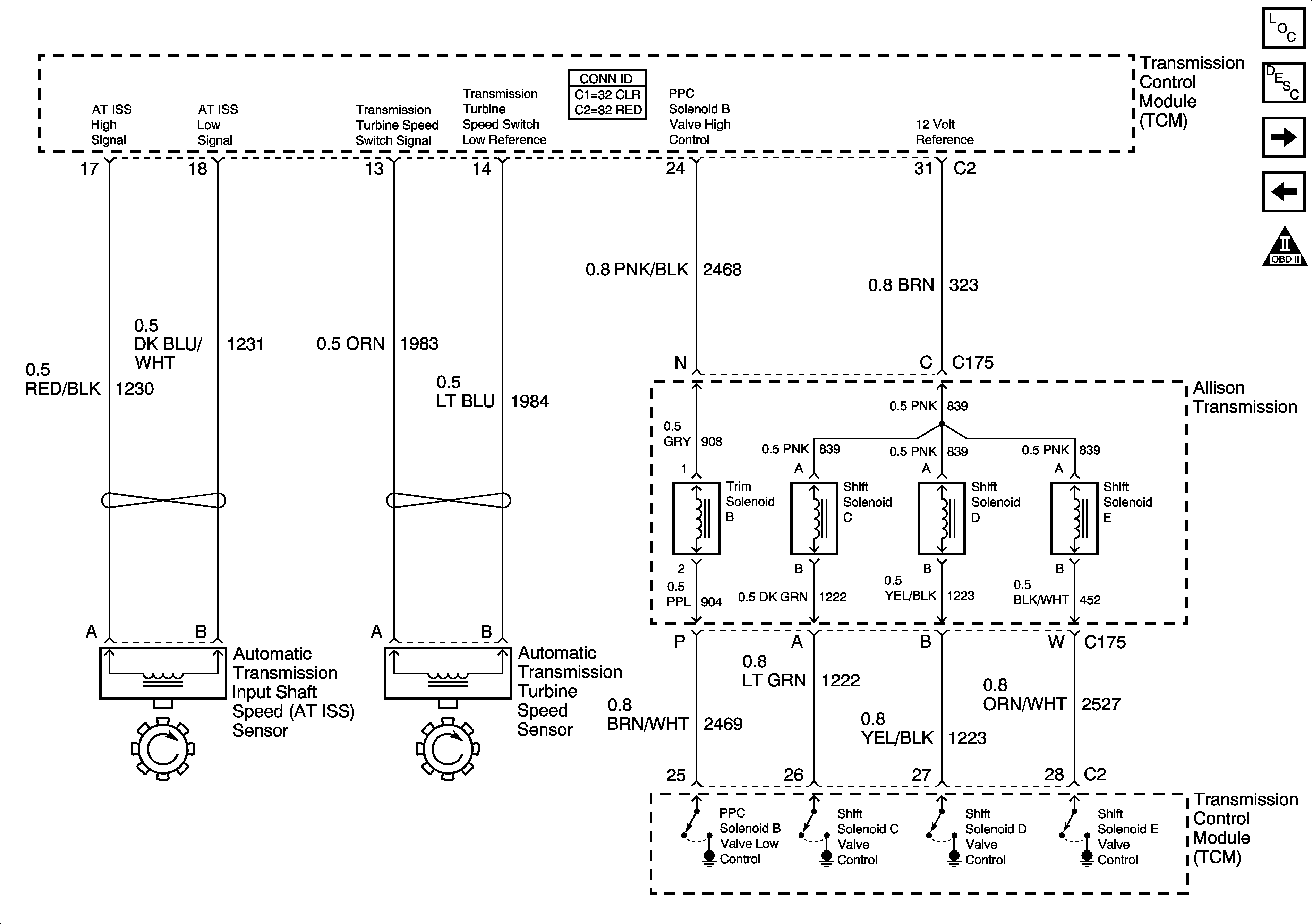
🢒 Speed Sensors, Trim B and Shift Solenoids
Speed Sensors, Trim B and Shift Solenoids
Speed Sensors, Trim B and Shift Solenoids
Master Electrical Component List
Electronic Component Description
TCC PWM and Trim A Solenoids, Pressure Switches, and TFT Sensor
CAN Serial Data, VSS, and PNP Switch
OBD II Symbol Description Notice