GM Service Manual Online
For 1990-2009 cars only
Makes
🢒
Chevrolet
🢒
2003
🢒
Chevy C Silverado - 2WD
🢒 Engine Cooling
Engine Cooling
Engine Cooling
Master Electrical Component List
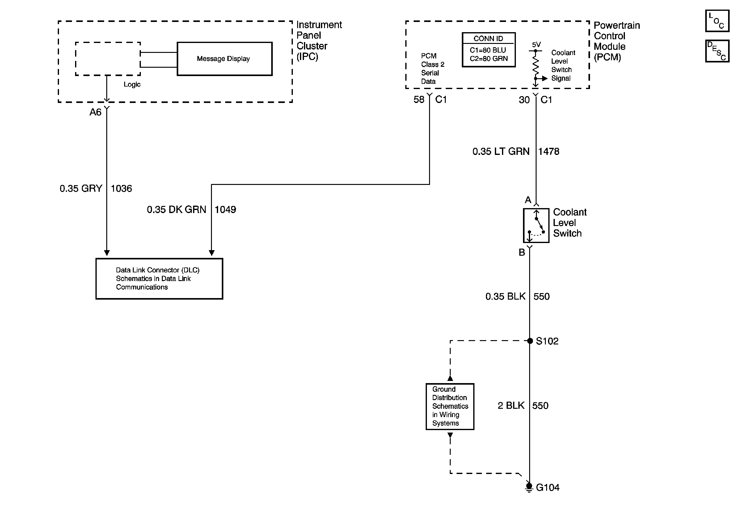
Cooling System Description and Operation
G104, G106, G107
SP205 - 2 of 2