GM Service Manual Online
For 1990-2009 cars only
Makes
🢒
Chevrolet
🢒
2003
🢒
Chevy C Silverado - 2WD
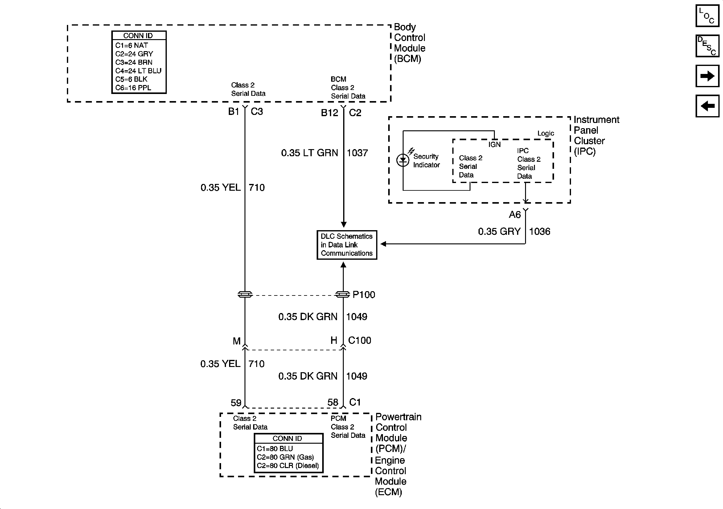
🢒 Class 2 Communication
Class 2 Communication
Class 2 Communication
Master Electrical Component List
Content Theft Deterrent (CTD) Description and Operation
Front Door Switches - Base
Vehicle Theft Deterrent
SP205 - 1 of 2