GM Service Manual Online
For 1990-2009 cars only
Makes
🢒
Chevrolet
🢒
2003
🢒
Chevy C Silverado - 2WD
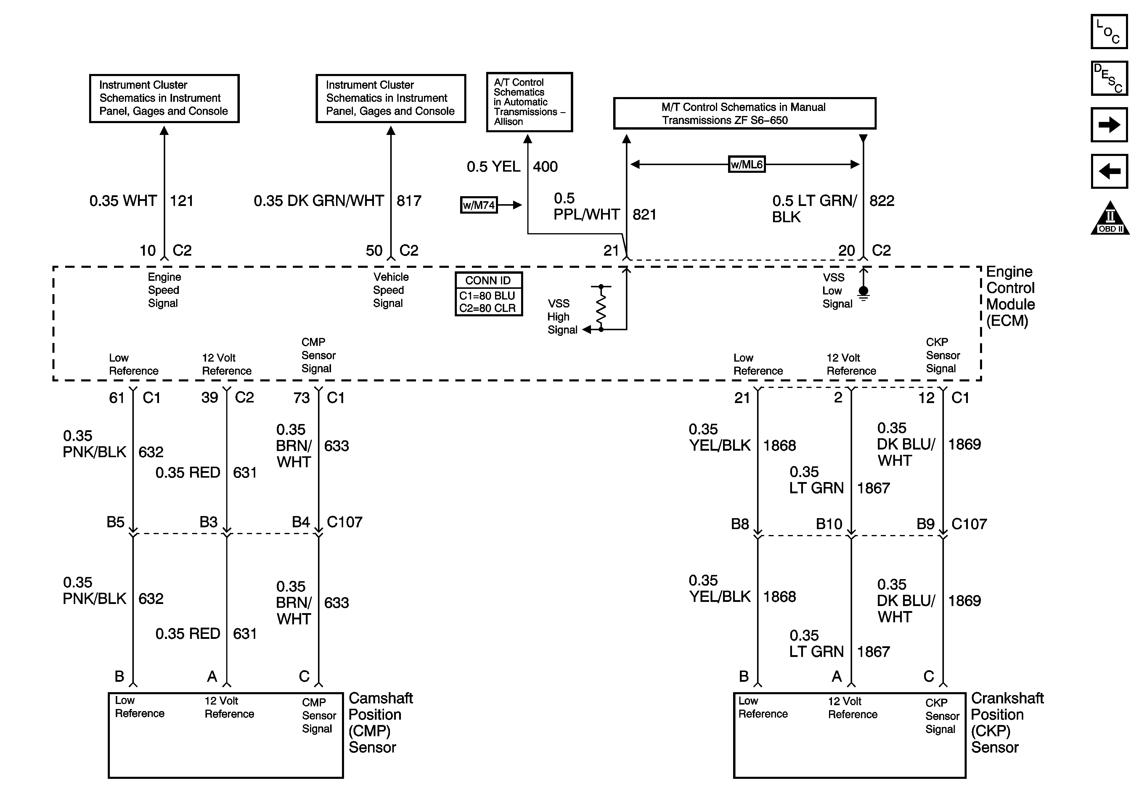
🢒 VSS and Injection Timing Controls
VSS and Injection Timing Controls
Engine Data Sensors - VSS and Injection Timing Controls
Master Electrical Component List
Engine Control Module Description
Data Sensors - Glow Plug Controls - Except California Emissions
Engine Data Sensors - Pedal Position
OBD II Symbol Description Notice
Gauges, VSS, Engine Oil Signals-Diesel Only
Gauges, VSS, Engine Oil Signals-Diesel Only
CAN Serial Data, VSS, and PNP Switch
Manual Transmission Schematics
G104, G106, G107