GM Service Manual Online
For 1990-2009 cars only

Generator Battery Replacement 5.3L Engine w/RPO HP2

Tools Required

J 43679 Battery Removal Handles

Caution: To help avoid personal injury, disable the 36V system anytime you perform service work on or around the generator battery carrier. The 36V system will still be active after you have disabled the generator battery carrier.

Caution: To help avoid personal injury, always disconnect the 36V generator battery carrier before doing any work to the generator battery carrier system. To disconnect the generator battery carrier, turn the engine off and turn OFF the service disconnect switch, which is located on the passenger side of the generator battery carrier.

Removal Procedure

Important: 

   • If one battery fails testing, replacement of that specific battery is required. If two of the three batteries fail testing, replacement of all three batteries is required.
   • If replacement of all three batteries is required, the technician MUST perform the (Reset Battery Total Ahrs.) procedure with the scan tool via BECM Output Controls.


    Object Number: 1335904  Size: SH
  1. Perform the battery pack service charge procedure. Refer to Battery Pack Service Charge - HP2 .
  2. Remove the generator battery carrier intermediate cover. Refer to Battery Cover Replacement .
  3. If necessary, remove the battery disconnect switch. Refer to Battery Service Disconnect Switch Replacement .
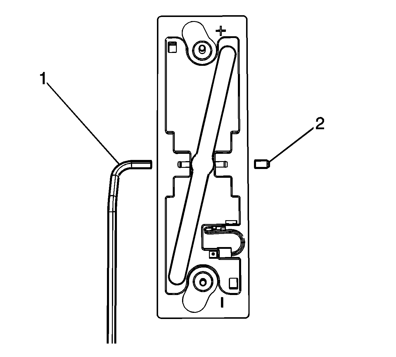
  4. Disconnect the battery resistor electrical connectors (1) from the appropriate battery.
  5. Disconnect the battery thermistor electrical connectors from the appropriate battery.

  6. Object Number: 1403626  Size: SH
  7. If necessary, remove the power cable nuts (1) from battery 1 and battery 2.
  8. Remove the power cable (3) from battery 1 and battery 2.
  9. Remove the battery resistor from the battery 1 positive terminal.

  10. Object Number: 1338110  Size: SH
  11. If necessary, cut the tie straps (1) securing the power cables to the generator battery carrier.
  12. Remove the power cable nuts (3) from battery 2 and battery 3.
  13. Remove the power cable (2) from battery 2 and battery 3.
  14. Remove the battery resistor from the battery 3 negative terminal.

  15. Object Number: 1338109  Size: SH
  16. If necessary, remove the power cable nut (1) from battery 3.
  17. Remove the power cable (3) from battery 3.
  18. Remove the battery resistor from the battery 3 positive terminal.

  19. Object Number: 1403623  Size: SH
  20. Disconnect the battery vent hose(s) from the appropriate battery.
  21. If necessary, disengage the retainers securing the battery vent hose.

  22. Object Number: 1470609  Size: SH
  23. Remove the battery vent cap (2) from the appropriate battery.

  24. Object Number: 1403638  Size: SH
  25. Remove the appropriate battery hold down bracket nut.
  26. Remove the appropriate battery hold down bracket.

  27. Object Number: 1338829  Size: SH
  28. Install J 43679 , to the lifting points on the appropriate battery.

  29. Object Number: 1403640  Size: SH
  30. Remove the appropriate battery.

Installation Procedure

Important:  The NEW replacement battery will be delivered at approximately 80 percent state of charge (SOC) and must be charged alone to 100 percent SOC prior to installation.


    Object Number: 1338829  Size: SH
  1. Charge the NEW replacement battery. Refer to Battery Charging .
  2. Install J 43679 , to the lifting points on the NEW battery.

  3. Object Number: 1403640  Size: SH
  4. Install the appropriate battery.

  5. Object Number: 1338829  Size: SH
  6. Remove J 43679 , from the battery.

  7. Object Number: 1456047  Size: SH
  8. Ensure that the batteries (1, 2 and 3) have the positive and negative terminals properly oriented.

  9. Object Number: 1403638  Size: SH
  10. Install the appropriate battery hold down bracket.
  11. Notice: Refer to Fastener Notice in the Preface section.

  12. Install the appropriate battery hold down bracket nut.
  13. Tighten
    Tighten the nut to 10 N·m (89 lb in).


    Object Number: 1470609  Size: SH
  14. Install the battery vent cap (2) to the appropriate battery.

  15. Object Number: 1403623  Size: SH
  16. Connect the battery vent hose(s) to the appropriate battery.
  17. If necessary, engage the retainers securing the battery vent hose.

  18. Object Number: 1338109  Size: SH
  19. If necessary, install the battery resistor to the battery 3 positive terminal.
  20. Install the power cable (3) to battery 3.
  21. Install the power cable nut (1) to battery 3.
  22. Tighten
    Tighten the nut to 10 N·m (89 lb in).


    Object Number: 1338110  Size: SH
  23. If necessary, install the battery resistor to the battery 3 negative terminal.
  24. Install the power cable (2) to battery 2 and battery 3.
  25. Install the power cable nuts (3) to battery 2 and battery 3.
  26. Tighten
    Tighten the nuts to 10 N·m (89 lb in).

  27. Install NEW tie straps (1) securing the power cable to the generator battery carrier.

  28. Object Number: 1403626  Size: SH
  29. If necessary, install the battery resistor to the battery 1 positive terminal.
  30. Install the power cable (3) to battery 1 and battery 2.
  31. Install the power cable nuts (1) to battery 1 and battery 2.
  32. Tighten
    Tighten the nuts to 10 N·m (89 lb in).


    Object Number: 1335904  Size: SH
  33. Connect the battery thermistor electrical connectors to the appropriate battery.
  34. Connect the battery resistor electrical connectors (1) to the appropriate battery.
  35. If necessary, install the battery cut-off switch. Refer to Battery Service Disconnect Switch Replacement .
  36. Install the generator battery carrier intermediate cover. Refer to Battery Cover Replacement .