GM Service Manual Online
For 1990-2009 cars only
Makes
🢒
Chevrolet
🢒
2004
🢒
Chevy C Silverado - 2WD
🢒
Engine
🢒
Engine Controls - 8.1L
🢒 Disassembled Views
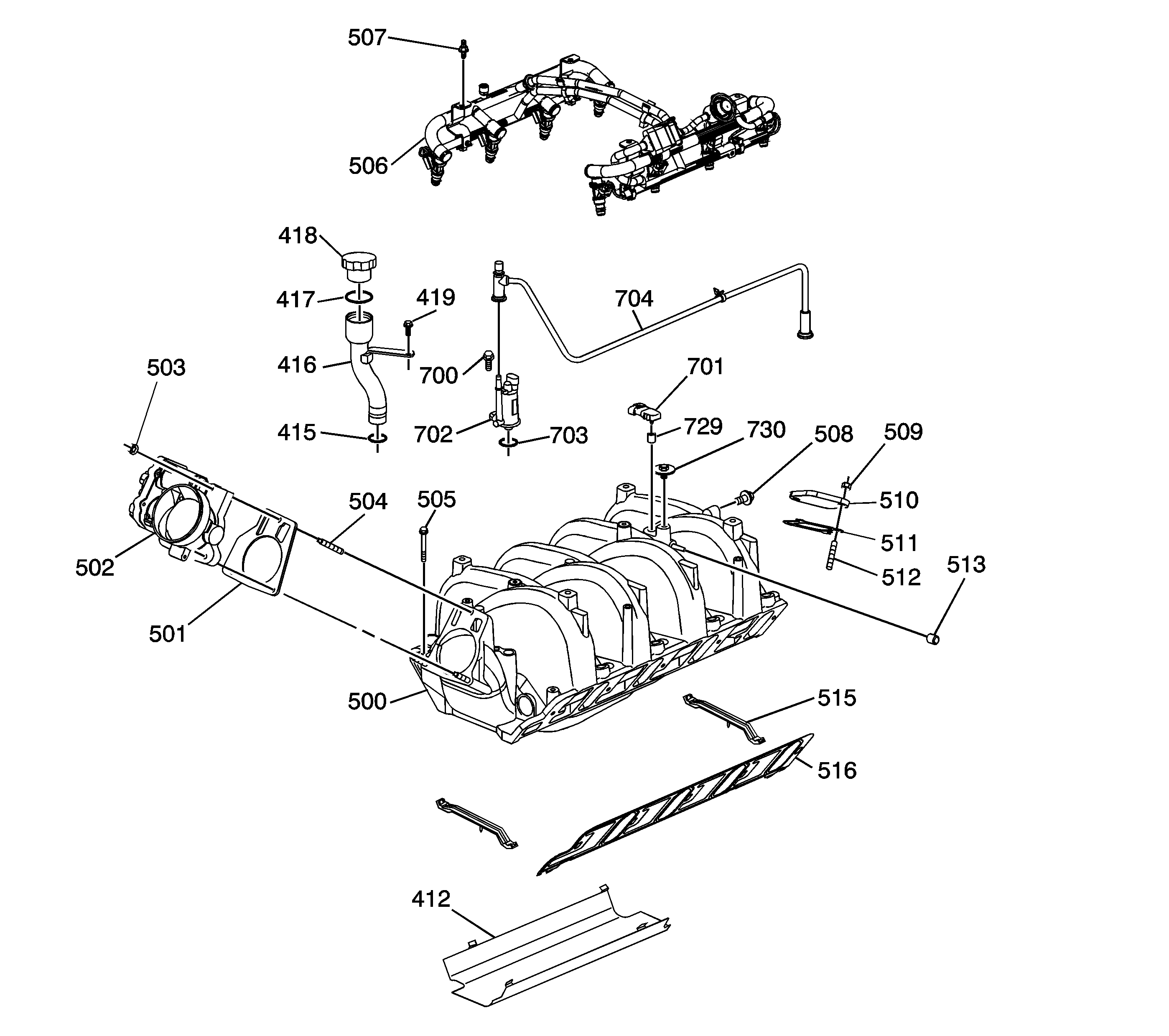
Figure
1:
Intake Manifold/Upper Engine
(412)
Splash Shield
(415)
Oil Fill Tube O-ring
(416)
Oil Fill Tube
(417)
Oil Fill Cap O-ring
(418)
Oil Fill Cap
(419)
Oil Fill Tube Bolt
(500)
Intake Manifold
(501)
Throttle Body Gasket
(502)
Throttle Body
(503)
Throttle Body Nut
(504)
Throttle Body Stud
(505)
Intake Manifold Bolt
(506)
Fuel Rail with Injectors
(507)
Fuel Rail Bolt/Stud
(508)
Intake Manifold Plug
(509)
Exhaust Gas Recirculation (EGR) Cover Nut
(510)
EGR Cover
(511)
EGR Cover Gasket
(512)
EGR Cover Stud
(513)
Vacuum Fitting Plug
(515)
Intake Gasket - End Seal
(516)
Intake Gasket - Side
(700)
Evaporative Emission (EVAP) Valve Bolt
(701)
Manifold Absolute Pressure (MAP) Sensor
(702)
EVAP Valve
(703)
EVAP Valve O-ring
(704)
EVAP Tube
(729)
MAP Sensor Grommet
(730)
MAP Sensor Bolt
Figure
2:
Cylinder Head/Upper Engine
(209)
Valve Lifter
(210)
Valve Lifter Guide
(211)
Valve Lifter Retainer
(212)
Valve Lifter Retainer Bolt
(213)
Cylinder Head Locating Pin
(214)
Cylinder Head Gasket
(215)
Cylinder Head
(216)
Valve Rotator
(217)
Valve Stem Oil Seal
(218)
Valve Spring
(219)
Valve Spring Cap
(220)
Valve Stem Keys
(221)
Pushrod
(222)
Rocker Arm Nut
(223)
Rocker Arm Ball
(224)
Rocker Arm
(225)
Rocker Arm Bolt/Stud
(226)
Pushrod Guide
(227)
Cylinder Head Bolt - Long
(228)
Cylinder Head Bolt - Medium
(229)
Cylinder Head Bolt - Short
(230)
Cylinder Head Coolant Plug
(232)
Valve
(517)
Valve Cover Gasket
(518)
Valve Cover Bolt Grommet
(519)
Valve Cover Bolt
(520)
Valve Cover
(600)
Exhaust Manifold
(601)
Exhaust Manifold Heat Shield
(602)
Exhaust Manifold Nut
(602)
Exhaust Manifold Nut
(603)
Exhaust Manifold Heat Shield Bolt
(604)
Exhaust Manifold Bolt
(605)
Exhaust Manifold Gasket
(606)
Exhaust Manifold Stud
(705)
Ignition Coil Wire Harness
(706)
Ignition Coil Wire Harness Bolt
(707)
Ignition Coil Bolt
(708)
Ignition Coil
(709)
Spark Plug Wire
(710)
Spark Plug
(711)
Engine Coolant Temperature (ECT) Sensor
(712)
ECT Sensor Bracket
(713)
ECT Sensor Bracket Bolt
Figure
3:
Front of Engine
(100)
Engine Block
(122)
Crankshaft Balancer
(123)
Crankshaft Balancer Bolt Washer
(124)
Crankshaft Balancer Bolt
(125)
Crankshaft Front Oil Seal
(129)
Front Cover Locating Pin
(200)
Timing Chain
(201)
Camshaft Sprocket Bolt
(202)
Camshaft Sprocket
(203)
Crankshaft Sprocket
(204)
Camshaft Retainer Bolt
(205)
Camshaft Retainer
(206)
Camshaft Sprocket Locating Pin
(207)
Camshaft
(208)
Camshaft Bearings
(300)
Water Pump
(301)
Water Pump Bolt
(302)
Water Pump Pulley Bolt
(303)
Water Pump Pulley
(304)
Thermostat Bypass Hose Clamp
(305)
Thermostat Bypass Hose
(306)
Thermostat Bypass Hose Clamp
(307)
Engine Coolant Crossover Bolt
(308)
Engine Coolant Crossover
(309)
Thermostat O-ring
(310)
Water Outlet Bolt/Stud
(311)
Water Outlet
(312)
Thermostat
(313)
Engine Coolant Crossover Gasket
(314)
Water Pump Gasket
(407)
Oil Level Indicator Tube
(408)
Oil Level Indicator Tube Bolt
(409)
Oil Level Indicator
(410)
Oil Level Indicator O-ring
(411)
Oil Level Indicator Tube O-ring
(521)
Front Cover Bolt
(522)
Front Cover
(523)
Front Cover Gasket
(716)
Camshaft Position (CMP) Sensor Bolt
(717)
CMP Sensor
(718)
CMP Sensor O-ring
Figure
4:
Rear of Engine
(100)
Engine Block
(114)
Flexplate - Automatic Transmission
(115)
Flexplate Bolt
(126)
Crankshaft Rear Oil Seal
(139)
Flexplate - Manual Transmission
(140)
Clutch Pressure Plate Locating Pin - Manual Transmission
(141)
Clutch Driven Plate - Manual Transmission
(142)
Clutch Pressure Plate - Manual Transmission
(143)
Clutch Pressure Plate Bolt - Manual Transmission
(145)
Transmission Pilot Bearing - Manual Transmission
Figure
5:
Lower Engine Assembly
(100)
Engine Block
(101)
Crankshaft Main Bearings - Upper
(102)
Crankshaft Thrust Bearing - Upper
(103)
Crankshaft
(104)
Crankshaft Main Bearing - Lower
(105)
Crankshaft Thrust Bearing - Lower
(106)
Crankshaft Bearing Cap
(107)
Crankshaft Bearing Cap Bolt
(108)
Crankshaft Bearing Cap Bolt/Stud
(109)
Crankshaft Bearing Cap - Thrust
(116)
Connecting Rod Nut
(117)
Connecting Rod Cap
(118)
Connecting Rod Bearings
(119)
Piston and Connecting Rod Assembly
(120)
Connecting Rod Bolt
(121)
Piston Rings
(126)
Crankshaft Rear Oil Seal
(213)
Cylinder Head Locating Pin
(233)
Crankshaft Sprocket Locating Pin
(400)
Oil Pan
(401)
Oil Pan Drain Plug
(402)
Oil Pan Drain Plug O-ring
(403)
Oil Pan Bolt
(404)
Oil Pan Gasket
(405)
Crankshaft Oil Deflector Nut
(406)
Crankshaft Oil Deflector
(413)
Oil Pump Drive Bolt
(414)
Oil Pump Drive
(420)
Oil Pump Driveshaft
(421)
Oil Pump Locating Pin
(422)
Oil Pump
(423)
Oil Pump Bolt
(424)
Oil Pump Driveshaft Retainer
(435)
Oil Filter
(714)
Oil Level Sensor O-ring
(715)
Oil Level Sensor
Figure
6:
Engine Block Plugs/Sensors
(127)
Oil Gallery Plug - Top
(127)
Oil Gallery Plug - Top
(128)
Oil Gallery Plug - Front
(128)
Oil Gallery Plug - Front
(129)
Front Cover Locating Pin
(129)
Front Cover Locating Pin
(130)
Coolant Drain Hole Plug
(130)
Coolant Drain Hole Plug
(131)
Oil Gallery Plug - Side
(131)
Oil Gallery Plug - Side
(132)
Oil Gallery Plug - Left Side Rear
(132)
Oil Gallery Plug - Left Side Rear
(133)
Oil Gallery Plug - Rear
(134)
Oil Gallery Plug - Rear
(135)
Camshaft Bearing Hole Plug
(136)
Oil Gallery Plug - Rear
(425)
Oil Filter Bypass Valve
(426)
Oil Cooler Fitting
(434)
Oil Filter Fitting
(719)
Knock Sensor
(719)
Knock Sensor
(720)
Knock Sensor Heat Shield - Right
(721)
Knock Sensor Heat Shield Bolt
(722)
Knock Sensor Heat Shield - Left
(723)
Knock Sensor Heat Shield Bolt
(724)
Engine Block Coolant Heater
(725)
Crankshaft Position (CKP) Sensor O-ring
(726)
CKP Sensor
(727)
CKP Sensor Bolt
(728)
Oil Pressure Sensor
Figure
7:
Oil Pump Assembly
(422)
Oil Pump with Pickup Screen
(427)
Drive Gear
(428)
Driven Gear
(429)
Oil Pump Cover
(430)
Oil Pump Cover Bolt
(431)
Pressure Relief Valve Spring Pin
(432)
Pressure Relief Valve
(433)
Pressure Relief Valve Spring