GM Service Manual Online
For 1990-2009 cars only
Table 1: Accelerator Pedal Position (APP) Sensor
Table 2: Camshaft Position (CMP) Sensor
Table 3: Crankshaft Position (CKP) Sensor
Table 4: Engine Coolant Temperature (ECT) Sensor
Table 5: Evaporative Emission (EVAP) Canister Purge Solenoid
Table 6: Evaporative Emission (EVAP) Canister Vent Solenoid (w/EVA)
Table 7: Fuel Composition Sensor (w/L59)
Table 8: Fuel Injector 1 (Except L59)
Table 9: Fuel Injector 1 (w/L59)
Table 10: Fuel Injector 2 (Except L59)
Table 11: Fuel Injector 2 (w/L59)
Table 12: Fuel Injector 3 (Except L59)
Table 13: Fuel Injector 3 (w/L59)
Table 14: Fuel Injector 4 (Except L59)
Table 15: Fuel Injector 4 (w/L59)
Table 16: Fuel Injector 5 (Except L59)
Table 17: Fuel Injector 5 (w/L59)
Table 18: Fuel Injector 6 (Except L59)
Table 19: Fuel Injector 6 (w/L59)
Table 20: Fuel Injector 7 (Except L59)
Table 21: Fuel Injector 7 (w/L59)
Table 22: Fuel Injector 8 (Except L59)
Table 23: Fuel Injector 8 (w/L59)
Table 24: Fuel Pump (FP) Relay - Secondary (w/Dual Tanks)
Table 25: Fuel Tank Pressure (FTP) Sensor
Table 26: Heated Oxygen Sensor (HO2S) Bank 1 Sensor 1 (L59/LM7)
Table 27: Heated Oxygen Sensor (HO2S) Bank 1 Sensor 1 (LR4)
Table 28: Heated Oxygen Sensor (HO2S) Bank 1 Sensor 1 (LQ4)
Table 29: Heated Oxygen Sensor (HO2S) Bank 1 Sensor 2 (L59/LM7)
Table 30: Heated Oxygen Sensor (HO2S) Bank 1 Sensor 2 (LR4/LQ4)
Table 31: Heated Oxygen Sensor (HO2S) Bank 2 Sensor 1 (L59/LM7)
Table 32: Heated Oxygen Sensor (HO2S) Bank 2 Sensor 1 (LR4)
Table 33: Heated Oxygen Sensor (HO2S) Bank 2 Sensor 1 (LQ4)
Table 34: Heated Oxygen Sensor (HO2S) Bank 2 Sensor 2 (L59/LM7)
Table 35: Heated Oxygen Sensor (HO2S) Bank 2 Sensor 2 (LR4/LQ4)
Table 36: Ignition Coil 1
Table 37: Ignition Coil 2
Table 38: Ignition Coil 3
Table 39: Ignition Coil 4
Table 40: Ignition Coil 5
Table 41: Ignition Coil 6
Table 42: Ignition Coil 7
Table 43: Ignition Coil 8
Table 44: Intake Air Temperature (IAT)/Mass Air Flow (MAF) Sensor
Table 45: Knock Sensor (KS)
Table 46: Manifold Absolute Pressure (MAP) Sensor
Table 47: Throttle Actuator Control (TAC) Module C1
Table 48: Throttle Actuator Control (TAC) Module C2
Table 49: Throttle Body

Accelerator Pedal Position (APP) Sensor


Object Number: 366097  Size: CH

Connector Part Information

    • 15318071
    • 10-Way F Metri-Pack 150 Series (GRY)

Pin

Wire Color

Circuit No.

Function

A

GRY

1273

Low Reference

B

PPL

1272

5-Volt Reference

C

LT BLU

1162

APP Sensor 2 Signal

D

TAN

1274

Low Reference

E

BRN

1271

Low Reference

F

DK BLU

1161

APP Sensor 1 Signal

G

WHT/BLK

1164

5-Volt Reference

H

--

--

Not Used

J

YEL/BLK

1275

5-Volt Reference

K

DK GRN

1163

APP Sensor 3 Signal

Camshaft Position (CMP) Sensor


Object Number: 516611  Size: CH

Connector Part Information

    • 12059595
    • 3-Way F Metri-Pack 150 Series (BLK)

Pin

Wire Color

Circuit No.

Function

A

BRN/WHT

633

CMP Sensor Signal

B

PNK/BLK

632

Low Reference

C

RED

631

12-Volt Reference

Crankshaft Position (CKP) Sensor


Object Number: 366117  Size: CH

Connector Part Information

    • 15324165
    • 3-Way F Metri-Pack 150 Series (WHT)

Pin

Wire Color

Circuit No.

Function

A

DK BLU/WHT

1869

CKP Sensor Signal

B

YEL/BLK

1868

Low Reference

C

LT GRN

1867

12-Volt Reference

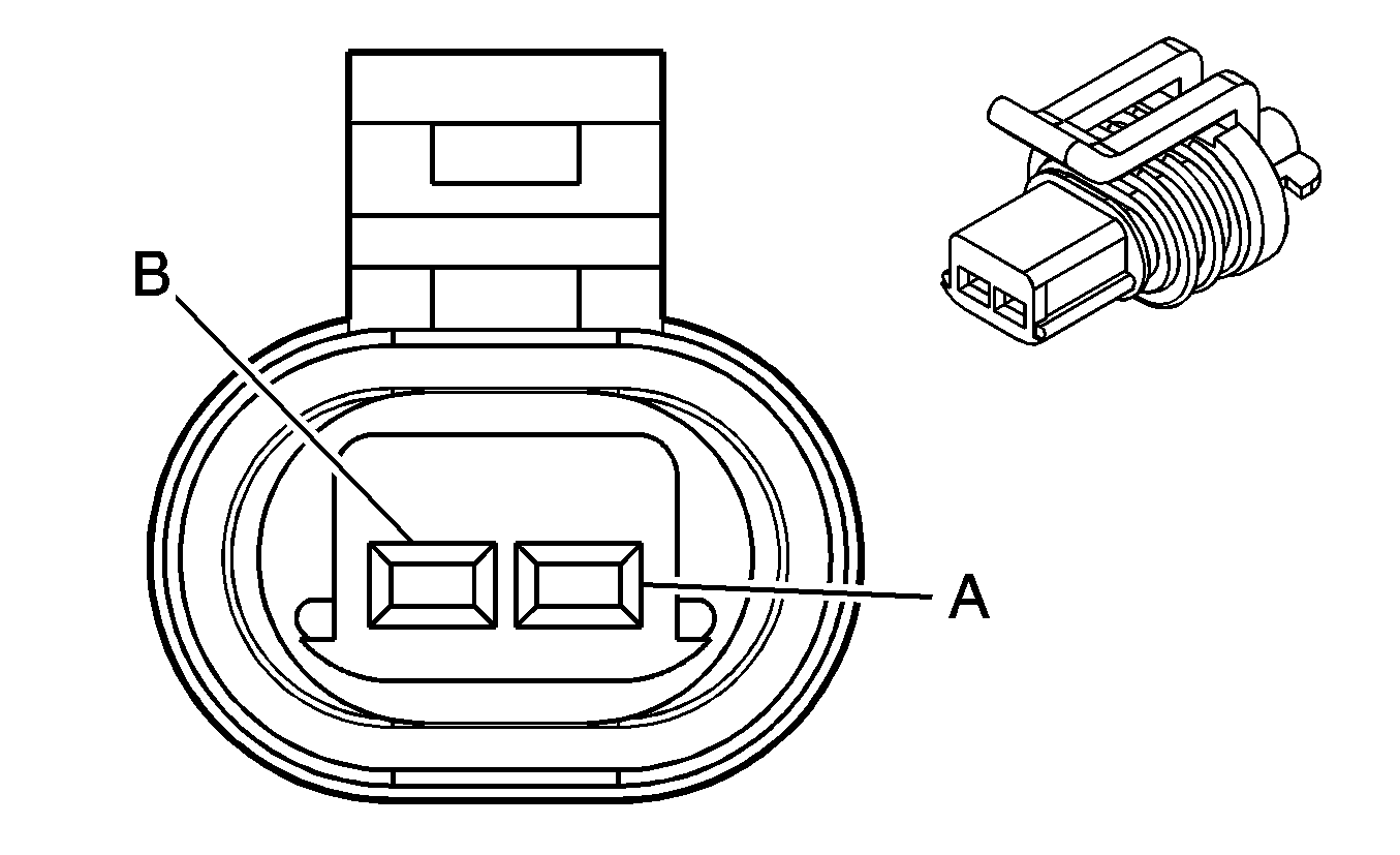
Engine Coolant Temperature (ECT) Sensor


Object Number: 1401776  Size: CH

Connector Part Information

    • 15359366
    • 2-Way F GT 150 Sealed (BLK)

Pin

Wire Color

Circuit No.

Function

A

BLK

407

Low Reference

B

YEL

410

ECT Sensor Signal

Evaporative Emission (EVAP) Canister Purge Solenoid


Object Number: 35437  Size: CH

Connector Part Information

    • 12124037
    • 2-Way F Metri-Pack 150 (BLK)

Pin

Wire Color

Circuit No.

Function

A

PNK

439

Ignition 1 Voltage

B

DK GRN/WHT

428

EVAP Canister Purge Solenoid Control

Evaporative Emission (EVAP) Canister Vent Solenoid (w/EVA)


Object Number: 684795  Size: CH

Connector Part Information

    • 12052643
    • 2-Way F Metri-Pack 150 Series Sealed (RED)

Pin

Wire Color

Circuit No.

Function

A

WHT

1310

EVAP Canister Vent Solenoid Control

B

ORN

2640

Battery Positive Voltage

Fuel Composition Sensor (w/L59)


Object Number: 68743  Size: CH

Connector Part Information

    • 12146121
    • 3-Way F Metri-Pack 150 Series, Sealed (BRN)

Pin

Wire Color

Circuit No.

Function

A

WHT

1579

Fuel Temperature/Composition Signal

B

PNK

439

Ignition 1 Voltage

C

BLK

550

Ground

Fuel Injector 1 (Except L59)


Object Number: 833727  Size: CH

Connector Part Information

    • 15411634
    • 2-Way F Micro-Pack 064 Series (GRY)

Pin

Wire Color

Circuit No.

Function

A

PNK

1039

Ignition 1 Voltage

B

BLK

1744

Fuel Injector 1 Control

Fuel Injector 1 (w/L59)


Object Number: 603098  Size: CH

Connector Part Information

    • 15305086
    • 2-Way F Metri-Pack 150 Series (BLK)

Pin

Wire Color

Circuit No.

Function

A

PNK

1039

Ignition 1 Voltage

B

BLK

1744

Fuel Injector 1 Control

Fuel Injector 2 (Except L59)


Object Number: 833727  Size: CH

Connector Part Information

    • 15411634
    • 2-Way F Micro-Pack 064 (GRY)

Pin

Wire Color

Circuit No.

Function

A

PNK

1239

Ignition 1 Voltage

B

LT GRN/BLK

1745

Fuel Injector 2 Control

Fuel Injector 2 (w/L59)


Object Number: 603098  Size: CH

Connector Part Information

    • 15305086
    • 2-Way F Metri-Pack 150 Series (BLK)

Pin

Wire Color

Circuit No.

Function

A

PNK

1239

Ignition 1 Voltage

B

LT GRN/BLK

1745

Fuel Injector 2 Control

Fuel Injector 3 (Except L59)


Object Number: 833727  Size: CH

Connector Part Information

    • 15411634
    • 2-Way F Micro-Pack 064 Series (GRY)

Pin

Wire Color

Circuit No.

Function

A

PNK

1039

Ignition 1 Voltage

B

PNK/BLK

1746

Fuel Injector 3 Control

Fuel Injector 3 (w/L59)


Object Number: 603098  Size: CH

Connector Part Information

    • 15411634
    • 2-Way F Micro-Pack 064 Series (GRY)

Pin

Wire Color

Circuit No.

Function

A

PNK

1039

Ignition 1 Voltage

B

PNK/BLK

1746

Fuel Injector 3 Control

Fuel Injector 4 (Except L59)


Object Number: 833727  Size: CH

Connector Part Information

    • 15411634
    • 2-Way F Micro-Pack 064 Series (GRY)

Pin

Wire Color

Circuit No.

Function

A

PNK

1239

Ignition 1 Voltage

B

LT BLU/BLK

844

Fuel Injector 4 Control

Fuel Injector 4 (w/L59)


Object Number: 603098  Size: CH

Connector Part Information

    • 15305086
    • 2-Way F Metri-Pack 150 Series (BLK)

Pin

Wire Color

Circuit No.

Function

A

PNK

1239

Ignition 1 Voltage

B

LT BLU/BLK

844

Fuel Injector 4 Control

Fuel Injector 5 (Except L59)


Object Number: 833727  Size: CH

Connector Part Information

    • 15411634
    • 2-Way F Micro-Pack 064 Series (GRY)

Pin

Wire Color

Circuit No.

Function

A

PNK

1039

Ignition 1 Voltage

B

BLK/WHT

845

Fuel Injector 5 Control

Fuel Injector 5 (w/L59)


Object Number: 603098  Size: CH

Connector Part Information

    • 15305086
    • 2-Way F Metri-Pack 150 Series (BLK)

Pin

Wire Color

Circuit No.

Function

A

PNK

1039

Ignition 1 Voltage

B

BLK/WHT

845

Fuel Injector 5 Control

Fuel Injector 6 (Except L59)


Object Number: 833727  Size: CH

Connector Part Information

    • 15411634
    • 2-Way F Micro-Pack 064 Series (GRY)

Pin

Wire Color

Circuit No.

Function

A

PNK

1239

Ignition 1 Voltage

B

YEL/BLK

846

Fuel Injector 6 Control

Fuel Injector 6 (w/L59)


Object Number: 603098  Size: CH

Connector Part Information

    • 15305086
    • 2-Way F Metri-Pack 150 Series (BLK)

Pin

Wire Color

Circuit No.

Function

A

PNK

1239

Ignition 1 Voltage

B

YEL/BLK

846

Fuel Injector 6 Control

Fuel Injector 7 (Except L59)


Object Number: 833727  Size: CH

Connector Part Information

    • 15411634
    • 2-Way F Micro-Pack 064 Series (GRY)

Pin

Wire Color

Circuit No.

Function

A

PNK

1039

Ignition 1 Voltage

B

RED/BLK

877

Fuel Injector 7 Control

Fuel Injector 7 (w/L59)


Object Number: 603098  Size: CH

Connector Part Information

    • 15305086
    • 2-Way F Metri-Pack 150 Series (BLK)

Pin

Wire Color

Circuit No.

Function

A

PNK

1039

Ignition 1 Voltage

B

RED/BLK

877

Fuel Injector 7 Control

Fuel Injector 8 (Except L59)


Object Number: 833727  Size: CH

Connector Part Information

    • 15411634
    • 2-Way F Micro-Pack 064 Series (GRY)

Pin

Wire Color

Circuit No.

Function

A

PNK

1239

Ignition 1 Voltage

B

DK BLU/WHT

878

Fuel Injector 8 Control

Fuel Injector 8 (w/L59)


Object Number: 603098  Size: CH

Connector Part Information

    • 15305086
    • 2-Way F Metri-Pack 150 Series (BLK)

Pin

Wire Color

Circuit No.

Function

A

PNK

1239

Ignition 1 Voltage

B

DK BLU/WHT

878

Fuel Injector 8 Control

Fuel Pump (FP) Relay - Secondary (w/Dual Tanks)


Object Number: 535912  Size: CH

Connector Part Information

    • 12129716
    • 4-Way F Metri-Pack 280 FLX LK (MD GRY)

Pin

Wire Color

Circuit No.

Function

30

PNK

439

Ignition 1 Voltage

85

GRY

120

Fuel Pump Supply Voltage

86

TAN

1465

Fuel Pump Relay Control - Secondary

87

LT GRN

1058

Fuel Balance Pump Supply Voltage

Fuel Tank Pressure (FTP) Sensor


Object Number: 516611  Size: CH

Connector Part Information

    • 12059595
    • 3-Way F Metri-Pack 150 Series (BLK)

Pin

Wire Color

Circuit No.

Function

A

BLK

470

Low Reference

B

DK GRN

890

Fuel Tank Pressure Sensor Signal

C

GRY

474

5-Volt Reference

Heated Oxygen Sensor (HO2S) Bank 1 Sensor 1 (L59/LM7)


Object Number: 474210  Size: CH

Connector Part Information

    • 12176897
    • 4-Way F Metri-Pack 150 Series, Sealed (GRY)

Pin

Wire Color

Circuit No.

Function

A

TAN

1664

HO2S Low Signal Bank 1 Sensor 1

B

PPL/WHT

1665

HO2S High Signal Bank 1 Sensor 1

C

BLK/WHT

3113

HO2S Heater Low Control Bank 1 Sensor 1

D

PNK

539

Ignition 1 Voltage

Heated Oxygen Sensor (HO2S) Bank 1 Sensor 1 (LR4)


Object Number: 806613  Size: CH

Connector Part Information

    • 15326423
    • 4-Way F Metri-Pack 150 Series, Sealed (GRY)

Pin

Wire Color

Circuit No.

Function

A

TAN

1664

HO2S Low Signal Bank 1 Sensor 1

B

PPL/WHT

1665

HO2S High Signal Bank 1 Sensor 1

C

BLK/WHT

3113

HO2S Heater Low Control Bank 1 Sensor 1

D

PNK

539

Ignition 1 Voltage

Heated Oxygen Sensor (HO2S) Bank 1 Sensor 1 (LQ4)


Object Number: 831392  Size: CH

Connector Part Information

    • 12092839
    • 4-Way M Metri-Pack 150 Series (BLK)

Pin

Wire Color

Circuit No.

Function

A

TAN

1664

HO2S Low Signal Bank 1 Sensor 1

B

PPL/WHT

1665

HO2S High Signal Bank 1 Sensor 1

D

PNK

539

Ignition 1 Voltage

E

BLK/WHT

3113

HO2S Heater Low Control Bank 1 Sensor 1

Heated Oxygen Sensor (HO2S) Bank 1 Sensor 2 (L59/LM7)


Object Number: 474210  Size: CH

Connector Part Information

    • 12176897
    • 4-Way F Metri-Pack 150 Series, Sealed (GRY)

Pin

Wire Color

Circuit No.

Function

A

TAN/WHT

1669

HO2S Low Signal Bank 1 Sensor 2

B

PPL/WHT

1668

HO2S High Signal Bank 1 Sensor 2

C

BRN

2391

HO2S Heater Low Control Bank 1 Sensor 2

D

PNK

1539

Ignition 1 Voltage

Heated Oxygen Sensor (HO2S) Bank 1 Sensor 2 (LR4/LQ4)


Object Number: 806613  Size: CH

Connector Part Information

    • 15326423
    • 4-Way F Metri-Pack 150 Series, Sealed (GRY)

Pin

Wire Color

Circuit No.

Function

A

TAN/WHT

1669

HO2S Low Signal Bank 1 Sensor 2

B

PPL/WHT

1668

HO2S High Signal Bank 1 Sensor 2

C

BRN

2391

HO2S Heater Low Control Bank 1 Sensor 2

D

PNK

1539

Ignition 1 Voltage

Heated Oxygen Sensor (HO2S) Bank 2 Sensor 1 (L59/LM7)


Object Number: 474210  Size: CH

Connector Part Information

    • 12176897
    • 4-Way F Metri-Pack 150 Series (GRY)

Pin

Wire Color

Circuit No.

Function

A

TAN

1667

HO2S Low Signal Bank 2 Sensor 1

B

PPL

1666

HO2S High Signal Bank 2 Sensor 1

C

LT GRN

3212

HO2S Heater Low Control Bank 2 Sensor 1

D

PNK

539

HO2S High Signal Bank 2 Sensor 1

Heated Oxygen Sensor (HO2S) Bank 2 Sensor 1 (LR4)


Object Number: 806613  Size: CH

Connector Part Information

    • 15326423
    • 4-Way F Metri-Pack 150 Series (GRY)

Pin

Wire Color

Circuit No.

Function

A

TAN

1667

HO2S Low Signal Bank 2 Sensor 1

B

PPL

1666

HO2S High Signal Bank 2 Sensor 1

C

LT GRN

3212

HO2S Heater Low Control Bank 2 Sensor 1

D

PNK

539

HO2S High Signal Bank 2 Sensor 1

Heated Oxygen Sensor (HO2S) Bank 2 Sensor 1 (LQ4)


Object Number: 831392  Size: CH

Connector Part Information

    • 12092839
    • 4-Way F Metri-Pack 150 Series (BLK)

Pin

Wire Color

Circuit No.

Function

A

TAN

1667

HO2S Low Signal Bank 2 Sensor 1

B

PPL

1666

HO2S High Signal Bank 2 Sensor 1

D

PNK

539

HO2S High Signal Bank 2 Sensor 1

E

LT GRN

3212

HO2S Heater Low Control Bank 2 Sensor 1

Heated Oxygen Sensor (HO2S) Bank 2 Sensor 2 (L59/LM7)


Object Number: 474210  Size: CH

Connector Part Information

    • 12176897
    • 4-Way F Metri-Pack 150 Series (GRY)

Pin

Wire Color

Circuit No.

Function

A

TAN

1671

HO2S Low Signal Bank 2 Sensor 2

B

PPL

1670

HO2S High Signal Bank 2 Sensor 2

C

RED/WHT

3223

HO2S Heater Low Control Bank 2 Sensor 2

D

PNK

1539

Ignition 1 Voltage

Heated Oxygen Sensor (HO2S) Bank 2 Sensor 2 (LR4/LQ4)


Object Number: 806613  Size: CH

Connector Part Information

    • 15326423
    • 4-Way F Metri-Pack 150 Series (GRY)

Pin

Wire Color

Circuit No.

Function

A

TAN

1671

HO2S Low Signal Bank 2 Sensor 2

B

PPL

1670

HO2S High Signal Bank 2 Sensor 2

C

RED/WHT

3223

HO2S Heater Low Control Bank 2 Sensor 2

D

PNK

1539

Ignition 1 Voltage

Ignition Coil 1


Object Number: 684948  Size: CH

Connector Part Information

    • 15413116
    • 4-Way F GT 150 Series, Sealed (BLK)

Pin

Wire Color

Circuit No.

Function

A

BLK

550

Ground

B

BRN

2129

Low Reference

C

PPL

2121

IC 1 Control

D

PNK

1039

Ignition 1 Voltage

Ignition Coil 2


Object Number: 684948  Size: CH

Connector Part Information

    • 15413116
    • 4-Way F GT 150 Series, Sealed (BLK)

Pin

Wire Color

Circuit No.

Function

A

BLK

550

Ground

B

BRN

2130

Low Reference

C

RED

2122

IC 2 Control

D

PNK

1239

Ignition 1 Voltage

Ignition Coil 3


Object Number: 684948  Size: CH

Connector Part Information

    • 15413116
    • 4-Way F GT 150 Series, Sealed (BLK)

Pin

Wire Color

Circuit No.

Function

A

BLK

550

Ground

B

BRN

2129

Low Reference

C

LT BLU

2123

IC 3 Control

D

PNK

1039

Ignition 1 Voltage

Ignition Coil 4


Object Number: 684948  Size: CH

Connector Part Information

    • 15413116
    • 4-Way F GT 150 Series, Sealed (BLK)

Pin

Wire Color

Circuit No.

Function

A

BLK

550

Ground

B

BRN

2130

Low Reference

C

DK GRN

2124

IC 4 Control

D

PNK

1239

Ignition 1 Voltage

Ignition Coil 5


Object Number: 684948  Size: CH

Connector Part Information

    • 15413116
    • 4-Way F GT 150 Series, Sealed (BLK)

Pin

Wire Color

Circuit No.

Function

A

BLK

550

Ground

B

BRN

2129

Low Reference

C

DK GRN

2125

IC 5 Control

D

PNK

1039

Ignition 1 Voltage

Ignition Coil 6


Object Number: 684948  Size: CH

Connector Part Information

    • 15413116
    • 4-Way F GT 150 Series, Sealed (BLK)

Pin

Wire Color

Circuit No.

Function

A

BLK

550

Ground

B

BRN

2130

Low Reference

C

LT BLU

2126

IC 6 Control

D

PNK

1239

Ignition 1 Voltage

Ignition Coil 7


Object Number: 684948  Size: CH

Connector Part Information

    • 15413116
    • 4-Way F GT 150 Series, Sealed (BLK)

Pin

Wire Color

Circuit No.

Function

A

BLK

550

Ground

B

BRN

2129

Low Reference

C

RED

2127

IC 7 Control

D

PNK

1039

Ignition 1 Voltage

Ignition Coil 8


Object Number: 684948  Size: CH

Connector Part Information

    • 15413116
    • 4-Way F GT 150 Series, Sealed (BLK)

Pin

Wire Color

Circuit No.

Function

A

BLK

550

Ground

B

BRN

2130

Low Reference

C

PPL

2128

IC 8 Control

D

PNK

1239

Ignition 1 Voltage

Intake Air Temperature (IAT)/Mass Air Flow (MAF) Sensor


Object Number: 366067  Size: CH

Connector Part Information

    • 15305555
    • 5-Way F Metri-Pack 150 Series (BLK)

Pin

Wire Color

Circuit No.

Function

A

BLK

552

Low Reference

B

TAN

472

IAT Sensor Signal

C

BLK/WHT

451

Ground

D

PNK

439

Ignition 1 Voltage

E

YEL

492

MAF Sensor Signal

Knock Sensor (KS)


Object Number: 35437  Size: CH

Connector Part Information

    • 12052641
    • 2-Way F Metri-Pack 150 Series (BLK)

Pin

Wire Color

Circuit No.

Function

A

DK BLU

496

Knock Sensor 1 Signal

B

LT BLU

1876

Knock Sensor 2 Signal

Manifold Absolute Pressure (MAP) Sensor


Object Number: 684840  Size: CH

Connector Part Information

    • 12129946
    • 3-Way F Metri-Pack 150 Series (GRY)

Pin

Wire Color

Circuit No.

Function

A

ORN/BLK

469

Low Reference

B

LT GRN

432

MAP Sensor Signal

C

GRY

597

5-Volt Reference

Throttle Actuator Control (TAC) Module C1


Object Number: 261930  Size: CH

Connector Part Information

    • 12191065
    • 16-Way F Micro-Pack 100 Series (GRY)

Pin

Wire Color

Circuit No.

Function

1

DK GRN

485

TP Sensor 1 Signal

2

GRY

416

5-Volt Reference

3

BLK

452

Low Reference

4

DK BLU

84

Cruise Control Set/Coast Switch Signal

5

GRY/BLK

87

Cruise Control Resume/Accel Switch Signal

6

LT BLU

1320

CHMSL Supply Voltage

7

PNK

1339

Ignition 1 Voltage

8

BRN

582

TAC Motor Control 2

9

LT BLU/BLK

1688

5-Volt Reference

10

BLK/WHT

1704

Low Reference

11

PPL

486

TP Sensor 2 Signal

12

ORN/BLK

1061

UART Serial Data

13

DK BLU/WHT

774

UART Serial Data

14

GRY

397

Cruise Control On Switch Signal

15

BLK

550

Ground

16

YEL

581

TAC Motor Control 1

Throttle Actuator Control (TAC) Module C2


Object Number: 666638  Size: CH

Connector Part Information

    • 12177081
    • 10-Way F Metri-Pack 150 Series (BLK)

Pin

Wire Color

Circuit No.

Function

A

GRY

1273

Low Reference

B

PPL

1272

5-Volt Reference

C

LT BLU

1162

APP Sensor 2 Signal

D

TAN

1274

Low Reference

E

YEL/BLK

1275

5-Volt Reference

F

DK BLU

1161

APP Sensor 1 Signal

G

WHT/BLK

1164

5-Volt Reference

H

Not Used

J

BRN

1271

Low Reference

K

DK GRN

1163

APP Sensor 3 Signal

Throttle Body


Object Number: 831368  Size: CH

Connector Part Information

    • 15326836
    • 8-Way F GT 150 Sealed (BLK)

Pin

Wire Color

Circuit No.

Function

A

YEL

581

TAC Motor Control 1

B

BLK/WHT

1704

Low Reference

C

BRN

582

TAC Motor Control 2

D

BLK

452

Low Reference

E

LT BLU/BLK

1688

5-Volt Reference

F

PPL

486

TP Sensor 2 Signal

G

DK GRN

485

TP Sensor 1 Signal

H

GRY

416

5-Volt Reference