GM Service Manual Online
For 1990-2009 cars only
Table 1: Auxiliary Battery Relay (TP2)
Table 2: Battery Cut Off Switch (HP2)
Table 3: Clutch Start Switch (M/T)
Table 4: Current Sensor (HP2)
Table 5: Energy Storage Box (ESB) Fan (HP2)
Table 6: Energy Storage Control Module (ESCM) - C1 (HP2)
Table 7: Energy Storage Control Module (ESCM) - C2 (HP2)
Table 8: Energy Storage Control Module (ESCM) - C3 (HP2)
Table 9: Generator - Gas (w/SBA)
Table 10: Generator - Gas (w/o SBA)
Table 11: Generator - Left - Diesel
Table 12: Generator - Right - Diesel
Table 13: Hybrid Control Module (HCM) (w/HP2)
Table 14: Starter/Generator Control Module SGCM - C1 (HP2)
Table 15: Starter/Generator Control Module SGCM - C2 (HP2)
Table 16: Starter/Generator Control Module SGCM - C3 (HP2)
Table 17: Starter/Generator Control Module SGCM - C4 (HP2)
Table 18: Starter/Generator Control Module SGCM - C5 (HP2)
Table 19: Temperature Sensor - Battery 1 (HP2)
Table 20: Temperature Sensor - Battery 2 (HP2)
Table 21: Temperature Sensor - Battery 3 (HP2)
Table 22: Voltage Sensor - 1 (HP2)
Table 23: Voltage Sensor - 2 (HP2)
Table 24: Voltage Sensor - 3 (HP2)
Table 25: Voltage Sensor - 4 (HP2)

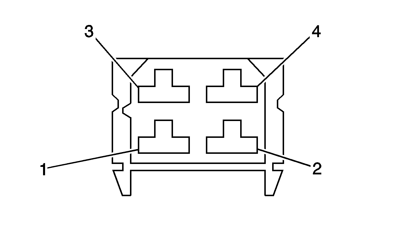
Auxiliary Battery Relay (TP2)


Object Number: 635009  Size: CH

Connector Part Information

    • 12052641
    • 2-Way F Metri-Pack 150 Series (BLK)

Pin

Wire Color

Circuit No.

Function

A

BRN

241

Ignition 3 Voltage

B

BLK

550

Ground

Battery Cut Off Switch (HP2)


Object Number: 1399241  Size: CH

Connector Part Information

    • 6189-1046
    • 5-Way F TS Series, Sealed (BLK)

Pin

Wire Color

Circuit No.

Function

1

WHT

1-BCO

Ground

2

WHT

2-BCO

BCO Status

3

WHT

3-BCO

BCO Control - A

4

WHT

4-BCO

BCO Control - B

5

WHT

5-BCO

Battery Positive Voltage

Clutch Start Switch (M/T)


Object Number: 73231  Size: CH

Connector Part Information

    • 12064860
    • 6-Way F Metri-Pack 150 Series Sealed (BLK)

Pin

Wire Color

Circuit No.

Function

A

PPL

420

Cruise Control Release Signal

B

BRN/WHT

379

CPP Switch Signal

C

PNK

639

Ignition 1 Voltage

D

DK GRN

1433

Clutch Start Switch Signal

E

BRN

441

Ignition 3 Voltage

F

GRY

48

CPP Switch Signal

Current Sensor (HP2)


Object Number: 814536  Size: CH

Connector Part Information

    • 174966-2
    • 4-Way F Multilock Series (BLK)

Pin

Wire Color

Circuit No.

Function

1

WHT

1-CS

Current Sensor Signal - A

2

WHT

2-CS

Current Sensor Signal - B

3

WHT

3-CS

Compensating Coil Voltage

4

WHT

4-CS

Low Reference

Energy Storage Box (ESB) Fan (HP2)


Object Number: 1459284  Size: CH

Connector Part Information

    • 163120-0
    • 4-Way F (BLK)

Pin

Wire Color

Circuit No.

Function

1

WHT

1-FAN

Fan Speed Signal

2

WHT

2-FAN

Low Reference

3

--

--

Not Used

4

WHT

4-FAN

5 Volt Reference

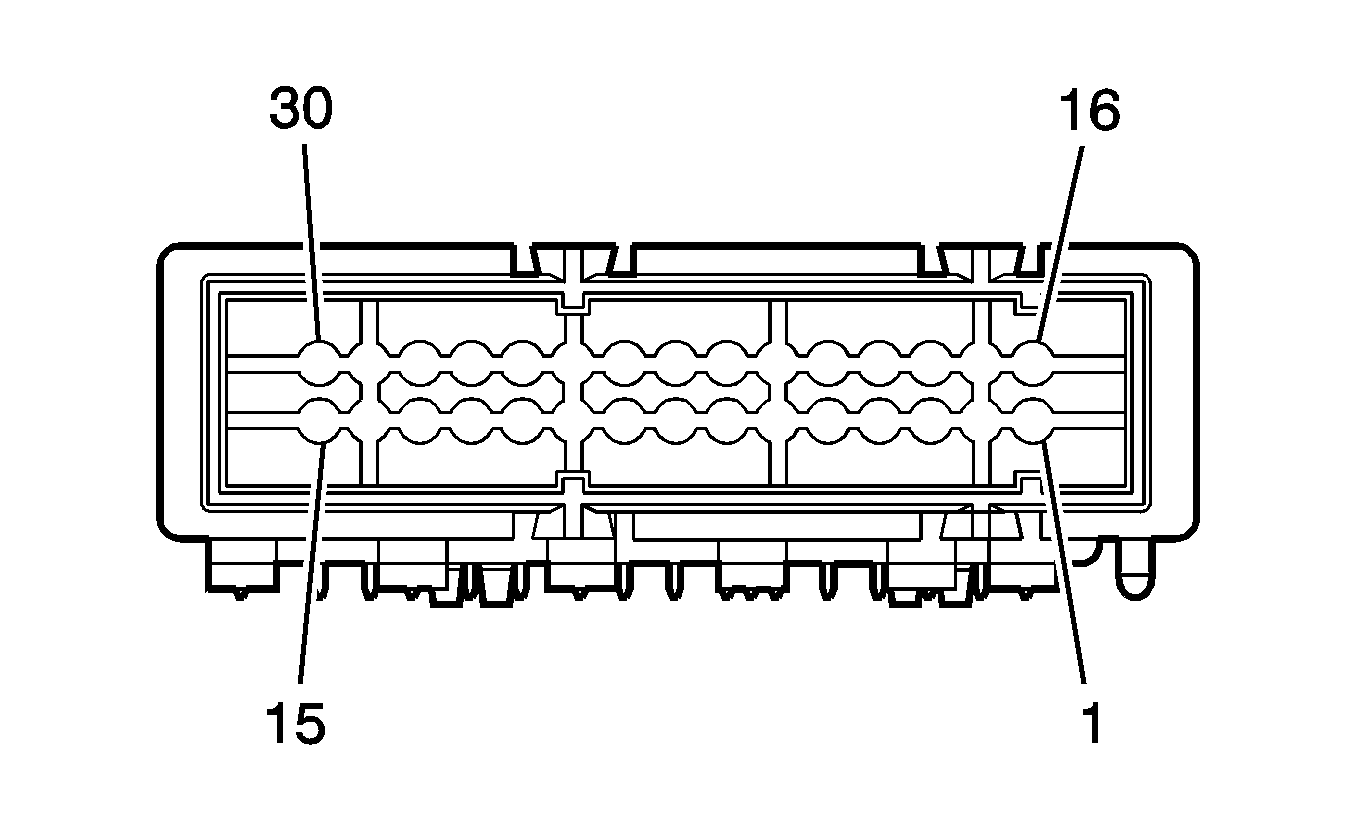
Energy Storage Control Module (ESCM) - C1 (HP2)


Object Number: 1457326  Size: CH

Connector Part Information

    • 967224-C1
    • 30-Way F (BLK)

Pin

Wire Color

Circuit No.

Function

1

WHT

1-NTC-1

Temperature Sensor Signal - 1

2

WHT

1-NTC-2

Temperature Sensor Signal - 2

3 - 7

--

--

Not Used

8

WHT

2-BCO

BCO Control - A

9

WHT

4-BCO

BCO Control - B

10

WHT

2-BCO

BCO Status

11

WHT

1-BCO

Ground

12

WHT

2-CS

Current Sensor Signal - A

13

WHT

3-CS

Compensating Coil Voltage

14

WHT

5-BCO

Battery Positive Voltage

15

WHT

2-FAN

Low Reference

16

--

--

Not Used

17

WHT

2-NTC-2

Low Reference

18

WHT

2-NTC-1

Low Reference

19

WHT

2-NTC-3

Low Reference

20

WHT

1-NTC-3

Temperature Sensor Signal - 3

21

WHT

1-R2

Voltage Sensor Signal - 2

22

--

--

Not Used

23

WHT

1-R1

Voltage Sensor Signal - 1

24

WHT

1-R4

Voltage Sensor Signal - 4

25

WHT

1-R3

Voltage Sensor Signal - 3

26

--

--

Not Used

27

WHT

1-CS

Current Sensor Signal - A

28

WHT

4-CS

Low Reference

29

WHT

4-FAN

5 Volt Reference

30

WHT

1-FAN

Fan Speed Signal

Energy Storage Control Module (ESCM) - C2 (HP2)


Object Number: 1457328  Size: CH

Connector Part Information

    • 967224-C2
    • 48-Way F (BLK)

Pin

Wire Color

Circuit No.

Function

1 - 14

--

--

Not Used

15

WHT

1-CAR

High Speed GMLAN Serial Data (+)

18

WHT

7-CAR

Ignition 1 Voltage

19 - 23

--

--

Not Used

24

WHT

GND-CAR

Ground

25 - 38

--

--

Not Used

39

WHT

2-CAR

High Speed GMLAN Serial Data (-)

40 - 41

--

--

Not Used

42

WHT

8-CAR

Ignition 0 Voltage

43 - 47

--

--

Not Used

48

WHT

3-CAR

Battery Positive Voltage

Energy Storage Control Module (ESCM) - C3 (HP2)


Object Number: 1457330  Size: CH

Connector Part Information

    • 967224-C2
    • 2-Way F (BLK)

Pin

Wire Color

Circuit No.

Function

L - H

--

--

Not Used

Generator - Gas (w/SBA)


Object Number: 697046  Size: CH

Connector Part Information

    • 12186568
    • 4-Way F Metri-Pack 150 Series Sealed (BLK)

Pin

Wire Color

Circuit No.

Function

A

DK BLU

5668

Engine On Signal

B

BRN

25

Charge Indicator Control

C

GRY

23

Generator Field Duty Cycle Signal

D

--

--

Not Used

Generator - Gas (w/o SBA)


Object Number: 647991  Size: CH

Connector Part Information

    • 15355066
    • 2-Way F Metri-Pack 150 Series Sealed (BGE)

Pin

Wire Color

Circuit No.

Function

A

--

--

Not Available

B

BRN

25

Charge Indicator Control

C

GRY

23

Generator Field Duty Cycle Signal

D

--

--

Not Available

Generator - Left - Diesel


Object Number: 647991  Size: CH

Connector Part Information

    • 15355066
    • 2-Way F Metri-Pack 150 Series Sealed (BGE)

Pin

Wire Color

Circuit No.

Function

A

--

--

Not Available

B

BRN

25

Charge Indicator Control

C

GRY

23

Generator Field Duty Cycle Signal

D

--

--

Not Available

Generator - Right - Diesel


Object Number: 696955  Size: CH

Connector Part Information

    • 12186566
    • 1-Way F Metri-Pack 150 Series Sealed (NAT)

Pin

Wire Color

Circuit No.

Function

A

--

--

Not Available

B

BRN

2524

Generator 2 Turn On Signal

C-D

--

--

Not Available

Hybrid Control Module (HCM) (w/HP2)


Object Number: 1228485  Size: CH

Connector Part Information

    • 15430224
    • 56-Way F Micro-Pack 64 Series Sealed (BLU)

Pin

Wire Color

Circuit No.

Function

1

ORN

1940

Battery Positive Voltage

2

PNK

1020

Ignition 0 Voltage

3 - 7

--

--

Not Used

8

PNK/BLK

109

Hood Ajar Switch Signal

9

PPL

5681

APO Switch Signal

10 - 11

--

--

Not Used

12

PNK

1939

Ignition 1 Voltage

13 - 27

--

--

Not Used

28

PPL/WHT

5687

Class 2 Serial Data

29

BLK/WHT

451

Ground

30 - 33

--

--

Not Used

34

ORN/BLK

1057

Low Reference

35 - 39

--

--

Not Used

40

TAN/WHT

2500

High Speed GMLAN Serial Data (+)

41

TAN

2501

High Speed GMLAN Serial Data (-)

42

--

--

Not Used

43

BLK/WHT

451

Ground

44

--

--

Not Used

45

YEL

5680

APO Switch Indicator Control

46 - 47

--

--

Not Used

48

PNK/WHT

5537

Transmission Pump Relay Control

49

PPL/WHT

5539

Power Maintain Relay Coil Control

50

--

--

Not Used

51

WHT

5542

Auxiliary Heater Pump Relay Control

52

BRN/WHT

5682

Low Reference

53

--

--

Not Used

54

TAN/WHT

2500

High Speed GMLAN Serial Data (+)

55

TAN

2501

High Speed GMLAN Serial Data (-)

56

--

--

Not Used

Starter/Generator Control Module SGCM - C1 (HP2)


Object Number: 1374873  Size: CH

Connector Part Information

    • 15416791
    • 2-Way F Series Sealed (BLK)

Pin

Wire Color

Circuit No.

Function

A

--

--

Not Used

B

--

--

Not Used

Starter/Generator Control Module SGCM - C2 (HP2)


Object Number: 1374874  Size: CH

Connector Part Information

    • 15416792
    • 2-Way F Series Sealed (BLK)

Pin

Wire Color

Circuit No.

Function

A

BLK

50

Ground

B

RED

102

Battery Positive Voltage

Starter/Generator Control Module SGCM - C3 (HP2)


Object Number: 1374872  Size: CH

Connector Part Information

    • 15416789
    • 2-Way F Series Sealed (BLK)

Pin

Wire Color

Circuit No.

Function

A

RED

5084

High Voltage Battery (+)

B

BLK

5691

High Voltage Battery (-)

Starter/Generator Control Module SGCM - C4 (HP2)


Object Number: 39784  Size: CH

Connector Part Information

    • 12129225
    • 24-Way F Micro-Pack 100 Series Sealed (GRY)

Pin

Wire Color

Circuit No.

Function

1

TAN/WHT

2500

High Speed GMLAN Serial Data (+)

2

TAN/WHT

2500

High Speed GMLAN Serial Data (+)

3 - 6

--

--

Not Used

7

YEL/BLK

625

Starter Enable Relay Control

8

PNK

1020

Ignition 0 Voltage

9

LT BLU/BLK

647

Medium Resolution Engine Speed Signal

10 - 11

--

--

Not Used

12

WHT

2368

Cooling Fan Clutch Supply Voltage

13

TAN

2501

High Speed GMLAN Serial Data (-)

14

TAN

2501

High Speed GMLAN Serial Data (-)

15 - 20

--

--

Not Used

21

WHT

121

Engine Speed Signal

22 - 23

--

--

Not Used

24

PNK

2014

Coolant Pump Relay Control

Starter/Generator Control Module SGCM - C5 (HP2)


Object Number: 1391786  Size: CH

Connector Part Information

    • 15416860
    • 7-Way F GT 280/150 Series Sealed (BLK)

Pin

Wire Color

Circuit No.

Function

A

--

--

Not Used

B

WHT

5685

APO Neutral

C

ORN

5595

High Voltage Interlock Loop Signal - 2

D

BLK

50

Ground

E

PPL

5087

High Voltage Interlock Loop Signal - 1

F

DK GRN

5686

Ground

G

BLK

5683

APO Phase A

Temperature Sensor - Battery 1 (HP2)


Object Number: 1459283  Size: CH

Connector Part Information

    • 1-968699-1
    • 2-Way F (BLK)

Pin

Wire Color

Circuit No.

Function

1

WHT

1-NTC-1

Temperature Sensor Signal - 1

2

WHT

2-NTC-1

Low Reference

Temperature Sensor - Battery 2 (HP2)


Object Number: 1459283  Size: CH

Connector Part Information

    • 1-968699-1
    • 2-Way F (BLK)

Pin

Wire Color

Circuit No.

Function

1

WHT

1-NTC-2

Temperature Sensor Signal - 2

2

WHT

2-NTC-2

Low Reference

Temperature Sensor - Battery 3 (HP2)


Object Number: 1459283  Size: CH

Connector Part Information

    • 1-968699-1
    • 2-Way F (BLK)

Pin

Wire Color

Circuit No.

Function

1

WHT

1-NTC-3

Temperature Sensor Signal - 3

2

WHT

2-NTC-3

Low Reference

Voltage Sensor - 1 (HP2)


Object Number: 1399242  Size: CH

Connector Part Information

    • 925324-2
    • 1-Way F (WHT)

Pin

Wire Color

Circuit No.

Function

A

WHT

1-R1

Voltage Sensor Signal - 1

Voltage Sensor - 2 (HP2)


Object Number: 1399242  Size: CH

Connector Part Information

    • 925324-2
    • 1-Way F (WHT)

Pin

Wire Color

Circuit No.

Function

A

WHT

1-R2

Voltage Sensor Signal - 2

Voltage Sensor - 3 (HP2)


Object Number: 1399242  Size: CH

Connector Part Information

    • 925324-2
    • 1-Way F (WHT)

Pin

Wire Color

Circuit No.

Function

A

WHT

1-R3

Voltage Sensor Signal - 3

Voltage Sensor - 4 (HP2)


Object Number: 1399242  Size: CH

Connector Part Information

    • 925324-2
    • 1-Way F (WHT)

Pin

Wire Color

Circuit No.

Function

A

WHT

1-R4

Voltage Sensor Signal - 4